TOP
|
特許
|
意匠
|
商標
特許ウォッチ
Twitter
他の特許を見る
10個以上の画像は省略されています。
公開番号
2025174693
公報種別
公開特許公報(A)
公開日
2025-11-28
出願番号
2024081202
出願日
2024-05-17
発明の名称
塵芥収集車
出願人
極東開発工業株式会社
代理人
個人
主分類
B65F
3/00 20060101AFI20251120BHJP(運搬;包装;貯蔵;薄板状または線条材料の取扱い)
要約
【課題】より強度と操作性が高い操作部材を備えた緊急停止装置を有する塵芥収集車を提供する。
【解決手段】塵芥収集車において、積込装置を緊急停止させる緊急停止装置を有し、緊急停止装置は、操作部材の少なくとも一部を移動させることで積込装置を緊急停止させるものであり、操作部材は、プレート部と、持ち手部と、補強部を有し、プレート部は、回動可能な状態で配されており、持ち手部は、プレート部の下側部分から突出する部分であり、補強部は、プレート部よりも持ち手部の突出方向における先端側に配されてプレート部と連続しており、且つ、上下方向成分を含む方向に延びて下端部分が持ち手部の上部と連続しており、補強部の持ち手部の上側に隣接する部分は、突出方向における先端側の端部が、持ち手部の先端側の端部よりも突出方向における基端側に位置している、構成とする。
【選択図】図7
特許請求の範囲
【請求項1】
車体と、前記車体に搭載された塵芥収集装置によって構成される塵芥収集車であって、
前記塵芥収集装置は、塵芥を収納する塵芥収容箱と、塵芥を投入可能な塵芥投入箱と、積込装置を有し、
前記積込装置は、前記塵芥投入箱に投入された塵芥を前記塵芥収容箱に送り込む動作を行うものであり、
前記積込装置を緊急停止させる緊急停止装置を有し、
前記緊急停止装置は、操作部材を有し、前記操作部材の少なくとも一部を移動させる操作を行うことで、前記積込装置が緊急停止するものであり、
前記操作部材は、プレート部と、持ち手部と、補強部を有し、
前記プレート部は、回動可能な状態で配されており、前記操作部材の操作前の状態を第1状態としたとき、前記第1状態において上下方向に延びる部分を有し、
前記持ち手部は、前記第1状態において前記プレート部の下側部分から突出する部分であり、
前記補強部は、前記プレート部よりも前記持ち手部の突出方向における先端側に配されて前記プレート部と連続しており、且つ、上下方向成分を含む方向に延びて下端部分が前記持ち手部の上部と連続しており、
前記補強部の前記持ち手部の上側に隣接する部分は、前記突出方向における先端側の端部が、前記持ち手部の先端側の端部よりも前記突出方向における基端側に位置している、ことを特徴とする塵芥収集車。
続きを表示(約 840 文字)
【請求項2】
前記緊急停止装置は、前記操作部材の下側部分を前記車体の後側に向かう方向成分を含む方向に移動させる引き操作が可能であり、少なくとも前記引き操作を行うことで、前記積込装置が緊急停止するものであり、
前記持ち手部は、前記第1状態において、前記車体の前側に向かう方向成分を含む方向に突出しており、
前記補強部は、前記第1状態において、前記プレート部よりも前記車体の前側に位置している、ことを特徴とする請求項1に記載の塵芥収集車。
【請求項3】
前記補強部は、前記持ち手部の上側に隣接する部分を含む下側構成部と、前記下側構成部よりも上方に位置する上側構成部を含み、
前記下側構成部は、前記突出方向における先端側の部分が、前記上側構成部の前記突出方向における先端側の部分よりも前記突出方向の基端側に位置する部分を有する、ことを特徴とする請求項1又は2に記載の塵芥収集車。
【請求項4】
前記補強部は、前記突出方向における先端側の部分が、上方から下方に向かうにつれてより前記突出方向の基端側に位置するように延在する部分を有する、ことを特徴とする請求項3に記載の塵芥収集車。
【請求項5】
前記操作部材は、側壁部を有し、2つの前記側壁部の間に前記補強部が配されており、
前記側壁部は、上下方向成分を含む方向に延びており、
前記補強部は、少なくとも一部が前記側壁部の前記突出方向における先端側の部分よりも前記突出方向の基端側に位置する、ことを特徴とする請求項1又は2に記載の塵芥収集車。
【請求項6】
前記持ち手部は、前記補強部のうちで前記持ち手部の上側に隣接する部分よりも前記突出方向における先端側に位置する部分の最大厚さが、前記持ち手部の他の部分の少なくとも一部、又は、前記プレート部の少なくとも一部よりも厚い、ことを特徴とする請求項1又は2に記載の塵芥収集車。
発明の詳細な説明
【技術分野】
【0001】
本発明は、塵芥等を収集して運搬する塵芥収集車に関するものである。
続きを表示(約 1,900 文字)
【背景技術】
【0002】
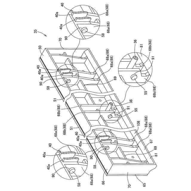
家庭から排出される一般ごみや、飲食店等から排出される生ゴミ等を収集する塵芥収集車が広く知られている。
塵芥収集車は、車体に塵芥収集装置が搭載されたものである。塵芥収集装置は、塵芥等を収容する塵芥収容箱と、塵芥収容箱に連設されて塵芥を投入可能な塵芥投入箱と、塵芥投入箱内に設けられて投入塵芥を塵芥収容箱に積み込む積込装置を有している。
【0003】
ここで、作業員が積込装置に巻き込まれそうになった場合や、間違えて積み込みしてはいけないゴミを発見した場合等、積込装置を緊急停止させる必要が生じることが考えられる。特許文献1には、積込装置を緊急停止させる緊急停止装置を備えた塵芥収集車が開示されている。
【0004】
特許文献1に開示された緊急停止装置は、操作バーを備えており、操作バーの下端側部分を前方側、又は、後方側のいずれかに移動させることで作動する。また、操作バーは、下端部分が前方に向かって屈曲して延びたL字板状の部分を有しており、作業員がこのL字板状の部分を前方又は後方に揺動操作して、操作バーの下端側部分を前方側、又は、後方側に移動させるものである。
【先行技術文献】
【特許文献】
【0005】
特開2023-070538号公報
【発明の概要】
【発明が解決しようとする課題】
【0006】
ここで、緊急停止装置は、通常とは異なる緊急時に使用されることから、実際に運用すると、慌てた作業員が操作バーを強く蹴ったり、操作バーを強く叩いたりして緊急停止装置を作動させる場合があった。すなわち、従来の塵芥収集車は、作業員の荒々しい操作に備え、緊急停止装置における操作部分の強度を向上させるという点において、改良の余地があった。
【0007】
そこで、本発明者らは、補強板を設けて操作バーの強度を向上させることを考えた。しかしながら、操作バーをこのような構造とすると、作業員が操作バーを手で掴んで操作する際に、補強板が邪魔となって操作バーを上手くつかめないという問題が生じた。緊急停止装置は、上記したように緊急時に使用されるため、作業員が手で掴み易い部分を探すような時間の余裕がなく、とっさに掴んだ部分で操作を可能として、即座に作動させる必要がある。
つまり、従来の緊急停止装置は、作業員が操作する操作部材の強度を向上させつつ、作業員が操作部材の様々な場所を掴んだ場合のそれぞれで操作をし易くし、より操作性を向上させるという観点から、改良の余地があった。
【0008】
そこで本発明は、より強度と操作性が高い操作部材を備えた緊急停止装置を有する塵芥収集車を提供することを課題とする。
【課題を解決するための手段】
【0009】
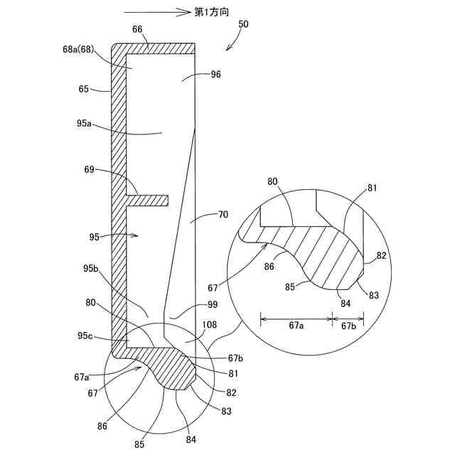
上記した課題を解決するための本発明の一つの様相は、車体と、前記車体に搭載された塵芥収集装置によって構成される塵芥収集車であって、前記塵芥収集装置は、塵芥を収納する塵芥収容箱と、塵芥を投入可能な塵芥投入箱と、積込装置を有し、前記積込装置は、前記塵芥投入箱に投入された塵芥を前記塵芥収容箱に送り込む動作を行うものであり、前記積込装置を緊急停止させる緊急停止装置を有し、前記緊急停止装置は、操作部材を有し、前記操作部材の少なくとも一部を移動させる操作を行うことで、前記積込装置が緊急停止するものであり、前記操作部材は、プレート部と、持ち手部と、補強部を有し、前記プレート部は、回動可能な状態で配されており、前記操作部材の操作前の状態を第1状態としたとき、前記第1状態において上下方向に延びる部分を有し、前記持ち手部は、前記第1状態において前記プレート部の下側部分から突出する部分であり、前記補強部は、前記プレート部よりも前記持ち手部の突出方向における先端側に配されて前記プレート部と連続しており、且つ、上下方向成分を含む方向に延びて下端部分が前記持ち手部の上部と連続しており、前記補強部の前記持ち手部の上側に隣接する部分は、前記突出方向における先端側の端部が、前記持ち手部の先端側の端部よりも前記突出方向における基端側に位置している、ことを特徴とする塵芥収集車である。
【0010】
本様相によると、補強部によって操作部材の強度を補強すると共に、持ち手部を掴んで操作する際に補強部が邪魔になることがなく、操作部材の操作をし易くすることが可能となる。
(【0011】以降は省略されています)
この特許をJ-PlatPat(特許庁公式サイト)で参照する
関連特許
極東開発工業株式会社
鉄道車両
1か月前
極東開発工業株式会社
タンク車
1か月前
極東開発工業株式会社
コンテナ
1か月前
極東開発工業株式会社
鉄道車両
1か月前
極東開発工業株式会社
連結車両
12日前
極東開発工業株式会社
鉄道車両
1か月前
極東開発工業株式会社
駐車装置
26日前
極東開発工業株式会社
鉄道車両
1か月前
極東開発工業株式会社
塵芥収集車
4日前
極東開発工業株式会社
塵芥収集車
4日前
極東開発工業株式会社
塵芥収集車
2か月前
極東開発工業株式会社
塵芥収集車
4日前
極東開発工業株式会社
被牽引車両
12日前
極東開発工業株式会社
塵芥収集車
4日前
極東開発工業株式会社
給湯システム
1か月前
極東開発工業株式会社
立体駐車装置
2か月前
極東開発工業株式会社
乾燥コンテナ
1か月前
極東開発工業株式会社
バイオマス燃焼システム
1か月前
極東開発工業株式会社
バイオマス燃焼システム
1か月前
極東開発工業株式会社
作業車両及びプログラム
1か月前
極東開発工業株式会社
バイオマス燃焼システム
1か月前
極東開発工業株式会社
バイオマス燃焼システム
1か月前
極東開発工業株式会社
バイオマス燃焼システム
1か月前
極東開発工業株式会社
バイオマス燃焼システム及び燃料庫
1か月前
極東開発工業株式会社
特装車作動油交換時期管理システム
1か月前
極東開発工業株式会社
コンテナ装置、コンテナ及びベース
1か月前
極東開発工業株式会社
車両システム、作業車両及びプログラム
1か月前
極東開発工業株式会社
車両システム、荷役車両及びプログラム
1か月前
極東開発工業株式会社
特装車車両データサーバ
18日前
個人
束ね具
21日前
個人
収容箱
4か月前
個人
コンベア
6か月前
個人
ゴミ収集器
8か月前
個人
段ボール箱
8か月前
個人
段ボール箱
8か月前
個人
容器
10か月前
続きを見る
他の特許を見る