TOP
|
特許
|
意匠
|
商標
特許ウォッチ
Twitter
他の特許を見る
10個以上の画像は省略されています。
公開番号
2025154757
公報種別
公開特許公報(A)
公開日
2025-10-10
出願番号
2024057935
出願日
2024-03-29
発明の名称
バイオマス燃焼システム
出願人
極東開発工業株式会社
代理人
個人
主分類
F23G
5/02 20060101AFI20251002BHJP(燃焼装置;燃焼方法)
要約
【課題】燃料庫内に収容されているバイオマス燃料の含水率を低下させて良好な燃焼状態を維持することができるバイオマス燃焼システムを提案する。
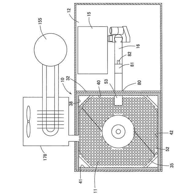
【解決手段】バイオマス燃料を貯留する燃料収容手段と、バイオマス燃料を燃焼させる燃焼手段を有するバイオマス燃焼システムである。前記燃料収容手段は、バイオマス燃料を収容する燃料収容空間37を有する。前記燃焼手段は、燃焼手段配置室12に配置されている。燃焼手段配置室12と燃料収容空間37を連通する通気手段88と、燃料収容空間の空気を排気する排気手段85を有している。排気手段85で-燃料収容空間37の空気を排気することによって、燃焼手段配置室12内の空気を燃料収容空間37に導入する。
【選択図】図3
特許請求の範囲
【請求項1】
バイオマス燃料を貯留する燃料収容手段と、バイオマス燃料を燃焼させる燃焼手段を有するバイオマス燃焼システムにおいて、
前記燃料収容手段は、バイオマス燃料を収容する燃料収容空間を有し、
前記燃焼手段は、燃焼手段配置室に配置されており、
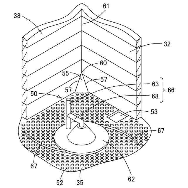
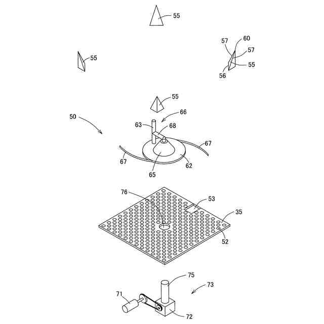
前記燃焼手段配置室と燃料収容空間を連通する通気手段と、前記燃料収容空間の空気を排気する排気手段を有し、
前記排気手段によって前記燃料収容空間の空気を排気することによって、前記燃焼手段配置室内の空気を前記燃料収容空間に導入することが可能であることを特徴とするバイオマス燃焼システム。
続きを表示(約 710 文字)
【請求項2】
前記燃料収容手段と前記燃焼手段が共通の筐体内にあり、当該筐体の内部が仕切られて燃料収容室と燃焼手段配置室が形成され、当該燃料収容室に前記燃料収容空間が形成されており、
前記仕切りに前記通気手段となる開口があることを特徴とする請求項1に記載のバイオマス燃焼システム。
【請求項3】
前記燃焼手段配置室の底に外気導入口が設けられていることを特徴とする請求項1に記載のバイオマス燃焼システム。
【請求項4】
前記燃料収容手段は筐体内にあり、
前記筐体の底部と前記燃料収容空間の底部の間に底部空間があり、当該底部空間と、前記燃料収容空間との間には通気性が確保されており、
前記通気手段は前記底部空間に開いていることを特徴とする請求項1に記載のバイオマス燃焼システム。
【請求項5】
前記底部には小孔が多数設けられており、当該小孔によって前記底部空間と前記燃料収容空間との間の通気性が確保されており、当該小孔は、想定されるバイオマス燃料が通過することができないものであることを特徴とする請求項4に記載のバイオマス燃焼システム。
【請求項6】
前記燃料収容手段と前記燃焼手段をつなぎ前記燃料収容手段内のバイオマス燃料を前記燃焼手段に供給する燃料供給手段を有し、
前記燃料供給手段の一端が前記底部空間にあり、前記燃料収容空間の底部に燃料収容空間と燃料供給手段の間を連通する連通部があり、前記燃料収容空間内のバイオマス燃料が前記連通部を経て前記燃料供給手段に入ることを特徴とする請求項4又は5に記載のバイオマス燃焼システム。
発明の詳細な説明
【技術分野】
【0001】
本発明は、木質チップ等のバイオマス燃料を燃焼させる燃焼システムに関するものである。
続きを表示(約 1,500 文字)
【背景技術】
【0002】
林業においては、山野の手入れの一環として生育が良くない樹木が間伐される。それによって間伐材が発生する。また家を建て替えるために、古家を壊すことによって、廃材が生じる。製材所においては、角材を得るために端の部分が削りとられて端材ができる。
【0003】
これらの間伐材、廃材、端材等は、従来用途がなく、廃棄されていた。しかしながら、近年、これらの廃材を有効利用する機運が高まり、各種の用途が提案されている。
その一つとして、間伐材等をチップ状に加工し、これをボイラーで燃焼させて熱エネルギーを得る構成が、特許文献1に開示されている。
【0004】
また特許文献2には、コンテナ内に固形燃料燃焼装置が設置された熱及び電力同時供給システムが開示されている。
【先行技術文献】
【特許文献】
【0005】
特開2024-3488号公報
特許第2695088号公報
【発明の概要】
【発明が解決しようとする課題】
【0006】
本発明者は、バイオマスを燃料として使用するバイオマス燃焼システムの量産化を目指して試作等を行った。本発明者らが想定するバイオマス燃焼システムは、燃料庫と、ボイラーを組み合わせたもので、燃料庫にバイオマス燃料を貯留する。
【0007】
本発明者らが想定するバイオマス燃焼システムでは、前記した燃料庫に、ボイラーに投入する直前のバイオマス燃料を貯蔵し、当該燃料庫からボイラーにバイオマス燃料を供給する。
そのため、燃料庫内のバイオマス燃料が湿っていると、思わしい燃焼状態とならない懸念がある。
【0008】
本発明は、上記した問題を解決することを課題とするものであり、燃料庫内に収容されているバイオマス燃料の含水率を低下させて良好な燃焼状態を維持することができるバイオマス燃焼システムを提案するものである。
【課題を解決するための手段】
【0009】
上記した課題を解決するための態様は、バイオマス燃料を貯留する燃料収容手段と、バイオマス燃料を燃焼させる燃焼手段を有するバイオマス燃焼システムにおいて、前記燃料収容手段は、バイオマス燃料を収容する燃料収容空間を有し、前記燃焼手段は、燃焼手段配置室に配置されており、前記燃焼手段配置室と燃料収容空間を連通する通気手段と、前記燃料収容空間の空気を排気する排気手段を有し、前記排気手段で前記燃料収容空間の空気を排気することによって、前記燃焼手段配置室内の空気を前記燃料収容空間に導入することが可能であることを特徴とするバイオマス燃焼システムである。
【0010】
本態様のバイオマス燃焼システムでは、燃料収容手段にバイオマス燃料が貯留され、当該バイオマス燃料が燃料供給手段によって燃焼手段に供給されて燃焼に供される。
本態様のバイオマス燃焼システムでは、燃料収容空間の空気を排気することによって、燃焼手段配置室内の空気が燃料収容空間に導入される。
ここで、本態様のバイオマス燃焼システムでは、燃焼手段配置室に燃焼手段が配置されている。燃焼手段は、熱を発生するものであるから、燃焼手段配置室の気温は外よりも高い。そのため、燃料収容空間の空気を排気することによって、燃焼手段配置室内の温かい空気が燃料収容空間に導入される。
その結果、燃料収容手段のバイオマス燃料が加熱された空気にさらされ、含水率が低下する。
(【0011】以降は省略されています)
この特許をJ-PlatPat(特許庁公式サイト)で参照する
関連特許
極東開発工業株式会社
鉄道車両
1か月前
極東開発工業株式会社
タンク車
1か月前
極東開発工業株式会社
コンテナ
1か月前
極東開発工業株式会社
鉄道車両
1か月前
極東開発工業株式会社
連結車両
12日前
極東開発工業株式会社
鉄道車両
1か月前
極東開発工業株式会社
鉄道車両
1か月前
極東開発工業株式会社
駐車装置
26日前
極東開発工業株式会社
塵芥収集車
4日前
極東開発工業株式会社
塵芥収集車
4日前
極東開発工業株式会社
塵芥収集車
4日前
極東開発工業株式会社
被牽引車両
12日前
極東開発工業株式会社
塵芥収集車
4日前
極東開発工業株式会社
給湯システム
1か月前
極東開発工業株式会社
乾燥コンテナ
1か月前
極東開発工業株式会社
作業車両及びプログラム
1か月前
極東開発工業株式会社
バイオマス燃焼システム
1か月前
極東開発工業株式会社
バイオマス燃焼システム
1か月前
極東開発工業株式会社
バイオマス燃焼システム
1か月前
極東開発工業株式会社
バイオマス燃焼システム
1か月前
極東開発工業株式会社
バイオマス燃焼システム
1か月前
極東開発工業株式会社
バイオマス燃焼システム及び燃料庫
1か月前
極東開発工業株式会社
特装車作動油交換時期管理システム
1か月前
極東開発工業株式会社
コンテナ装置、コンテナ及びベース
1か月前
極東開発工業株式会社
車両システム、作業車両及びプログラム
1か月前
極東開発工業株式会社
車両システム、荷役車両及びプログラム
1か月前
極東開発工業株式会社
特装車車両データサーバ
18日前
個人
煙突煤払い掃除機
4か月前
個人
燃焼炉の操業方法
3か月前
個人
固形燃料ストーブ
25日前
個人
ウッドガスストーブ
2か月前
コーキ株式会社
煙突
2か月前
個人
形見の製造方法
2か月前
株式会社トヨトミ
石油燃焼器
1か月前
株式会社パロマ
燃焼装置
4か月前
株式会社豊田自動織機
耐熱部材
2か月前
続きを見る
他の特許を見る