TOP
|
特許
|
意匠
|
商標
特許ウォッチ
Twitter
他の特許を見る
10個以上の画像は省略されています。
公開番号
2025154755
公報種別
公開特許公報(A)
公開日
2025-10-10
出願番号
2024057933
出願日
2024-03-29
発明の名称
バイオマス燃焼システム及び燃料庫
出願人
極東開発工業株式会社
代理人
個人
主分類
F23G
5/02 20060101AFI20251002BHJP(燃焼装置;燃焼方法)
要約
【課題】燃料庫の隅の部分のバイオマス燃料を掻き出すことかでき、燃料庫内の全てのバイオマス燃料を燃焼させることが可能なバイオマス燃焼システムを提案する。
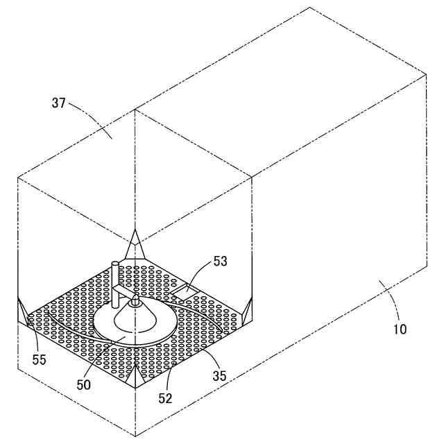
【解決手段】バイオマス燃料を貯留する燃料収容手段と、バイオマス燃料を燃焼させる燃焼手段を有する。燃料収容手段は、バイオマス燃料を収容する燃料収容空間37を有し、当該燃料収容空間37内で回転する攪拌部材50を有している。燃料収容空間37の角部に封鎖部材55が設けられている。
【選択図】 図7
特許請求の範囲
【請求項1】
バイオマス燃料を貯留する燃料収容手段と、バイオマス燃料を燃焼させる燃焼手段を有するバイオマス燃焼システムにおいて、
前記燃料収容手段は、バイオマス燃料を収容する燃料収容空間を有し、当該燃料収容空間で回転する攪拌部材を有するものであり、
前記燃料収容空間の少なくとも一つの角部に封鎖部材が設けられていることを特徴とするバイオマス燃焼システム。
続きを表示(約 960 文字)
【請求項2】
前記燃料収容空間には周壁部と、底部があり、前記封鎖部材は、二つの周壁部と底部によって構成される三つ角部に設けられていることを特徴とする請求項1に記載のバイオマス燃焼システム。
【請求項3】
前記封鎖部材によって前記燃料収容空間の前記三つ角部に傾斜面が形成されていることを特徴とする請求項2に記載のバイオマス燃焼システム。
【請求項4】
前記燃料収容空間には周壁部と、底部があり、前記攪拌部材は前記底部に取り付けられており、攪拌部材は回転中心部に凸部があることを特徴とする請求項1に記載のバイオマス燃焼システム。
【請求項5】
前記攪拌部材は、棒状及び/又は枠状の攪拌片を有することを特徴とする請求項1に記載のバイオマス燃焼システム。
【請求項6】
前記燃料収容空間には周壁部と、底部があり、前記攪拌部材は変形能を有する攪拌片を有し、当該攪拌片は前記底部の近傍にあって水平方向の成分を有する姿勢で回転するものであり、当該攪拌片は、自然長時において前記周壁部に達する長さを有するものであることを特徴とする請求項1に記載のバイオマス燃焼システム。
【請求項7】
前記燃料収容空間には周壁部と、底部があり、前記攪拌部材は変形能を有する攪拌片を有し、当該攪拌片は前記底部の近傍にあって水平方向の成分を有する姿勢で回転するものであり、当該攪拌片の全長は、前記燃料収容空間の最も短い幅の長さ以上であって、最も長い対角線の長さ以下であることを特徴とする請求項1に記載のバイオマス燃焼システム。
【請求項8】
前記燃料収容空間には底部があり、当該底部が傾斜していることを特徴とする請求項1に記載のバイオマス燃焼システム。
【請求項9】
前記燃料収容空間には周壁部と、底部があり、前記周壁部の少なくとも一部が吸水性を有する部材で覆われていることを特徴とする請求項1に記載のバイオマス燃焼システム。
【請求項10】
前記燃料収容空間には周壁部と、底部があり、前記周壁部の少なくとも一部が木材で覆われていることを特徴とする請求項1に記載のバイオマス燃焼システム。
(【請求項11】以降は省略されています)
発明の詳細な説明
【技術分野】
【0001】
本発明は、木質チップ等のバイオマス燃料を燃焼させる燃焼システムに関するものである。また本発明は、木質チップ等のバイオマス燃料を貯蔵する燃料庫に関するものである。
続きを表示(約 1,400 文字)
【背景技術】
【0002】
林業においては、山野の手入れの一環として生育が良くない樹木が間伐される。それによって間伐材が発生する。また家を建て替えるために、古家を壊すことによって、廃材が生じる。製材所においては、角材を得るために端の部分が削りとられて端材ができる。
【0003】
これらの間伐材、廃材、端材等は、従来用途がなく、廃棄されていた。しかしながら、近年、これらの廃材を有効利用する機運が高まり、各種の用途が提案されている。
その一つとして、間伐材等をチップ状に加工し、これをボイラーで燃焼させて熱エネルギーを得る構成が、特許文献1に開示されている。
【0004】
また特許文献2には、コンテナ内に固形燃料燃焼装置が設置された熱及び電力同時供給システムが開示されている。
【先行技術文献】
【特許文献】
【0005】
特開2024-3488号公報
特許第2695088号公報
【発明の概要】
【発明が解決しようとする課題】
【0006】
本発明者は、バイオマスを燃料として使用するバイオマス燃焼システムの量産化を目指して試作等を行った。本発明者らが想定するバイオマス燃焼システムは、燃料庫と、ボイラーを組み合わせたもので、燃料庫にバイオマス燃料を貯留する。
【0007】
本発明者らが想定するバイオマス燃焼システムでは、前記した燃料庫に、ボイラーに投入する直前のバイオマス燃料を貯蔵し、当該燃料庫からボイラーにバイオマス燃料を供給する。
そのため、燃料庫内でバイオマス燃料が詰まる事態は何としても避ける必要がある。
そこで本発明らは、燃料庫内に攪拌部材を設け、バイオマス燃料を攪拌することによって、バイオマス燃料のブリッジを防ぐこととした。
しかしながら、この構成によると、燃料庫の隅の部分のバイオマス燃料を掻き出すことかできず、燃料庫の隅のバイオマス燃料がいつまでたっても燃やせないことが分かった。
【0008】
本発明は、上記した問題を解決することを課題とするものであり、燃料庫の隅の部分のバイオマス燃料を掻き出すことかでき、燃料庫内の全てのバイオマス燃料を燃焼させることが可能なバイオマス燃焼システムを提案するものである。
【課題を解決するための手段】
【0009】
上記した課題を解決するための態様は、バイオマス燃料を貯留する燃料収容手段と、バイオマス燃料を燃焼させる燃焼手段を有するバイオマス燃焼システムにおいて、前記燃料収容手段は、バイオマス燃料を収容する燃料収容空間を有し、当該燃料収容空間内で回転する攪拌部材を有するものであり、前記燃料収容空間の少なくとも一つの角部に封鎖部材が設けられていることを特徴とするバイオマス燃焼システムである。
【0010】
本態様のバイオマス燃焼システムでは、バイオマス燃料を収容する燃料収容空間を有し、空間内で回転する攪拌部材を有している。本態様のバイオマス燃焼システムでは、燃料収容空間内で攪拌部材を回転させてバイオマス燃料がブリッジを起こすことを防ぐ。
本態様のバイオマス燃焼システムでは、燃料収容空間の角部に封鎖部材が設けられている。そのため、燃料収容空間の角部にバイオマス燃料が入り込むことがなく、バイオマス燃料が隅に滞留しない。
(【0011】以降は省略されています)
この特許をJ-PlatPat(特許庁公式サイト)で参照する
関連特許
極東開発工業株式会社
鉄道車両
1か月前
極東開発工業株式会社
タンク車
1か月前
極東開発工業株式会社
コンテナ
1か月前
極東開発工業株式会社
鉄道車両
1か月前
極東開発工業株式会社
連結車両
12日前
極東開発工業株式会社
鉄道車両
1か月前
極東開発工業株式会社
鉄道車両
1か月前
極東開発工業株式会社
駐車装置
26日前
極東開発工業株式会社
塵芥収集車
4日前
極東開発工業株式会社
塵芥収集車
4日前
極東開発工業株式会社
塵芥収集車
4日前
極東開発工業株式会社
被牽引車両
12日前
極東開発工業株式会社
塵芥収集車
4日前
極東開発工業株式会社
給湯システム
1か月前
極東開発工業株式会社
乾燥コンテナ
1か月前
極東開発工業株式会社
作業車両及びプログラム
1か月前
極東開発工業株式会社
バイオマス燃焼システム
1か月前
極東開発工業株式会社
バイオマス燃焼システム
1か月前
極東開発工業株式会社
バイオマス燃焼システム
1か月前
極東開発工業株式会社
バイオマス燃焼システム
1か月前
極東開発工業株式会社
バイオマス燃焼システム
1か月前
極東開発工業株式会社
バイオマス燃焼システム及び燃料庫
1か月前
極東開発工業株式会社
特装車作動油交換時期管理システム
1か月前
極東開発工業株式会社
コンテナ装置、コンテナ及びベース
1か月前
極東開発工業株式会社
車両システム、作業車両及びプログラム
1か月前
極東開発工業株式会社
車両システム、荷役車両及びプログラム
1か月前
極東開発工業株式会社
特装車車両データサーバ
18日前
個人
煙突煤払い掃除機
4か月前
個人
固形燃料ストーブ
25日前
個人
燃焼炉の操業方法
3か月前
個人
ウッドガスストーブ
2か月前
個人
形見の製造方法
2か月前
コーキ株式会社
煙突
2か月前
株式会社トヨトミ
石油燃焼器
1か月前
株式会社パロマ
燃焼装置
4か月前
株式会社豊田自動織機
耐熱部材
2か月前
続きを見る
他の特許を見る