TOP
|
特許
|
意匠
|
商標
特許ウォッチ
Twitter
他の特許を見る
10個以上の画像は省略されています。
公開番号
2025166515
公報種別
公開特許公報(A)
公開日
2025-11-06
出願番号
2024070595
出願日
2024-04-24
発明の名称
駐車装置
出願人
極東開発工業株式会社
代理人
個人
主分類
E04H
6/42 20060101AFI20251029BHJP(建築物)
要約
【課題】車両入庫準備に要する無駄な動作と待ち時間を抑制する、駐車装置を提供する。
【解決手段】車両の格納空間を有する装置本体と、装置本体を制御する制御装置と、車両の接近を直線的に検知する二つ以上の直線センサと、車両識別情報を検知する車両検知手段と、を備えた駐車装置であって、二つ以上の直線センサは第1及び第2の直線センサとを含み、第1の直線センサ及び車両検知手段は装置本体に続く道路上の車両を検知できる位置にあり、第2の直線センサは第1の直線センサより装置本体に近い位置にあって、制御装置は各車両又は車両識別情報の登録と車両の入庫準備動作とが可能で、制御装置は入庫準備動作の判別を行い、一の車両から取得した車両識別情報が登録済であって、第1及び第2の直線センサが順に一の車両の接近を検知した時、入庫準備動作を開始する駐車装置。
【選択図】図5
特許請求の範囲
【請求項1】
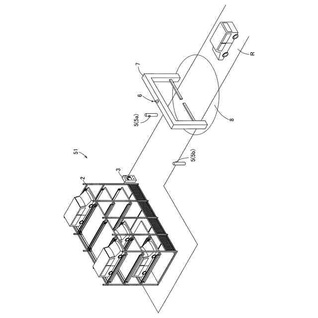
車両を格納する空間を有する装置本体と、前記装置本体の動作を制御する制御装置と、車両の接近を直線的に検知する二つ以上の直線センサと、車両識別情報を検知する車両検知手段と、を備えた駐車装置であって、
前記二つ以上の直線センサは、第1の直線センサと第2の直線センサとを含み、
前記第1の直線センサおよび前記車両検知手段は、前記装置本体に続く道路上の車両を検知できる位置に設けられ、
前記第2の直線センサは、前記第1の直線センサより前記装置本体に近い位置に設けられていて、
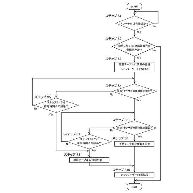
前記制御装置は各車両又は各利用者に関する情報である車両識別情報を登録可能であり、車両の入庫前に入庫準備を実施する入庫準備動作が可能であって、前記入庫準備動作を開始するか否かを判別する判別動作を実施するものであり、
前記判別動作は、前記車両検知手段が一の車両から車両識別情報を取得し、且つ、前記一の車両から取得した車両識別情報が登録済の車両識別情報と対応する情報であるとともに前記第1の直線センサと前記第2の直線センサが順に一の車両の接近を検知したことを条件として、前記入庫準備動作を開始することを特徴とする駐車装置。
続きを表示(約 2,500 文字)
【請求項2】
車両を格納する空間を有する装置本体と、前記装置本体の動作を制御する制御装置と、装置本体に続く道路上に設けられたシャッターゲートと、車両の接近を直線的に検知する直線センサと、車両識別情報を検知する車両検知手段と、を備えた駐車装置であって、
前記車両検知手段は、装置本体に続く道路上でありかつシャッターゲートの外部にある車両を検知できる位置に設けられ、
前記直線センサは、シャッターゲートよりも装置本体に近い位置にありかつ車両検知手段の検知範囲よりも装置本体に近い位置に設けられていて、
前記制御装置は各車両又は各利用者に関する情報である車両識別情報を登録可能であり、車両の入庫前に入庫準備を実施する入庫準備動作が可能であり、前記入庫準備動作を開始するか否かを判別する判別動作を実施するものであり、
前記判別動作は、前記車両検知手段が一の車両から車両識別情報を取得し、且つ、前記一の車両から取得した車両識別情報が登録済の車両識別情報と対応する情報であることを少なくとも1つの条件として、前記シャッターゲートを開状態にして、
前記車両検知手段と前記直線センサが順に一の車両の接近を検知したことを条件として、前記入庫準備動作を開始させ、
前記装置本体から一の車両が退場する際には、前記直線センサが前記一の車両の接近を検知したことを条件として、前記シャッターゲートを開状態とすることを特徴とする駐車装置。
【請求項3】
車両を格納する空間を有する装置本体と、前記装置本体の動作を制御する制御装置と、装置本体に続く道路上に設けられたシャッターゲートと、車両の接近を直線的に検知する第1および第2の直線センサと、車両識別情報を検知する車両検知手段と、を備えた駐車装置であって、
前記車両検知手段と第1の直線センサは、装置本体に続く道路上の車両を検知できる位置に設けられ、
前記第2の直線センサは、第1の直線センサおよびシャッターゲートならびに車両検知手段の検知範囲よりも装置本体に近い位置に設けられていて、
前記制御装置は各車両又は各利用者に関する情報である車両識別情報を登録可能であり、車両の入庫前に入庫準備を実施する入庫準備動作が可能であり、前記入庫準備動作を開始するか否かを判別する判別動作を実施するものであり、
前記判別動作は、前記車両検知手段が一の車両から車両識別情報を取得し、且つ、前記一の車両から取得した車両識別情報が登録済の車両識別情報と対応する情報であることを少なくとも1つの条件として、前記シャッターゲートを開状態にして、
前記第1の直線センサと前記第2の直線センサが順に一の車両の接近を検知したことを条件として、前記入庫準備動作を開始させ、
前記装置本体から一の車両が退場する際には、前記第2の直線センサが前記一の車両の接近を検知したことを条件として、シャッターゲートを開状態とすることを特徴とする駐車装置。
【請求項4】
車両を格納する空間を有する装置本体と、前記装置本体の動作を制御する制御装置と、装置本体に続く道路上に設けられたシャッターゲートと、一の車両の接近を直線的に検知する直線センサと、車両識別情報を検知する車両検知手段と、を備えた駐車装置であって、
前記車両検知手段は、装置本体に続く道路上でありかつシャッターゲートの外部にある車両を検知できる位置に設けられ、
前記直線センサは、シャッターゲートよりも装置本体に近い位置にありかつ車両検知手段の検知範囲よりも装置本体に近い位置に設けられていて、
前記制御装置は各車両又は各利用者に関する情報である車両識別情報を登録可能であり、車両の入庫前に入庫準備を実施する入庫準備動作が可能であり、前記入庫準備動作を開始するか否かを判別する判別動作を実施するものであり、
前記判別動作は、前記車両検知手段が一の車両から車両識別情報を取得し、且つ、前記一の車両から取得した車両識別情報が登録済の車両識別情報と対応する情報であることを少なくとも1つの条件として、前記シャッターゲートを開状態にして、
前記車両検知手段と前記直線センサが順に一の車両の接近を検知したことを条件として、前記入庫準備動作を開始させ、
前記直線センサが一の車両の接近を検知したことを条件として、前記シャッターゲートを閉状態とすることを特徴とする駐車装置。
【請求項5】
車両を格納する空間を有する装置本体と、前記装置本体の動作を制御する制御装置と、装置本体に続く道路上に設けられたシャッターゲートと、車両の接近を直線的に検知する第1および第2の直線センサと、車両識別情報を検知する車両検知手段と、を備えた駐車装置であって、
前記車両検知手段と第1の直線センサは、装置本体に続く道路上の車両を検知できる位置に設けられ、
前記第2の直線センサは、第1の直線センサおよびシャッターゲートならびに車両検知手段の検知範囲よりも装置本体に近い位置に設けられていて、
前記制御装置は各車両又は各利用者に関する情報である車両識別情報を登録可能であり、車両の入庫前に入庫準備を実施する入庫準備動作が可能であり、前記入庫準備動作を開始するか否かを判別する判別動作を実施するものであり、
前記判別動作は、前記車両検知手段が一の車両から車両識別情報を取得し、且つ、前記一の車両から取得した車両識別情報が登録済の車両識別情報と対応する情報であることを少なくとも1つの条件として、前記シャッターゲートを開状態にして、
前記第1の直線センサと前記第2の直線センサが順に一の車両の接近を検知したことを条件として、前記入庫準備動作を開始させ、
前記第2の直線センサが一の車両の接近を検知したことを条件として、前記シャッターゲートを閉状態とすることを特徴とする駐車装置。
発明の詳細な説明
【技術分野】
【0001】
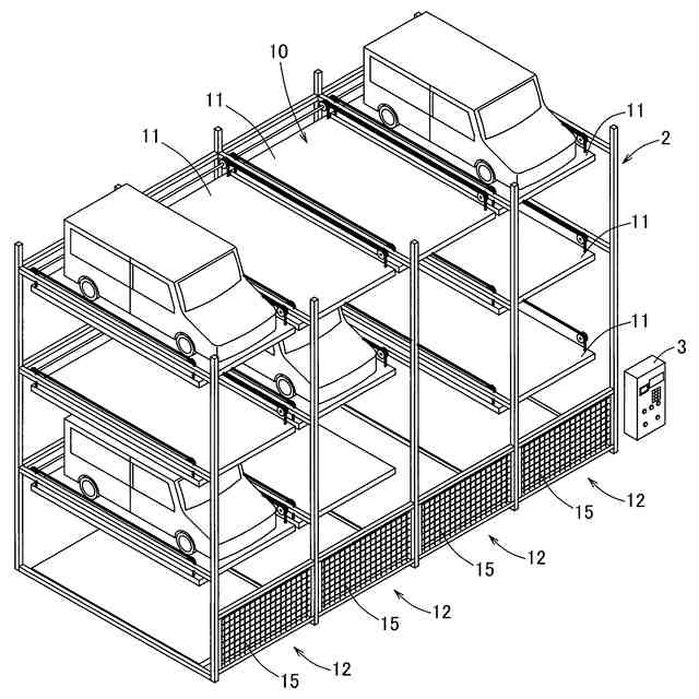
本発明は、車両を収容する収容構造を備えた駐車装置に関する。
続きを表示(約 2,400 文字)
【背景技術】
【0002】
マンション等に併設され、事前に契約した利用者が車両を入出庫する立体駐車場が広く知られている。例えば、このような立体駐車場として、特許文献1に開示されたものがある。
【0003】
特許文献1に開示された駐車装置は、車両を格納する空間を有する装置本体と、前記装置本体の動作を制御する制御装置と、接近する車両から車両識別情報を取得する第1アンテナ(車両検知手段)と、第2アンテナ(車両検知手段)とを備えている。
第2アンテナは、装置本体から所定距離だけ離れた位置に設けられ、第1アンテナは、第2アンテナよりもさらに前記装置本体から離れた位置に設けられている。
【0004】
この駐車装置は、各車両又は各利用者に関する情報である車両識別情報を登録可能であり、車両の入庫前に入庫準備を実施する入庫準備動作が可能である。この入庫準備動作を開始するのか否かを判別する判別動作は、第1アンテナと第2アンテナがこの順に装置本体への入場を意図している車両から車両識別情報を取得し、かつ、この車両から取得した車両識別情報が登録済の車両識別情報と対応する情報であることを条件としている。
【先行技術文献】
【特許文献】
【0005】
特開2020-193500号公報
【発明の概要】
【発明が解決しようとする課題】
【0006】
しかしながら、特許文献1の駐車装置において、アンテナの検知範囲は全方向に広がっている。このため検知方向の一部が周囲の壁に反射し、検知範囲が広くなる場合がある。このため、アンテナ同士の検知順で判定する特許文献1の駐車装置の場合、検知順序を間違いなく判定するためには、アンテナ2本分の検知誤差を考慮する必要がある。具体的には、例えば二つのアンテナ間の設置間隔を大きく取る等の対策が必要である。
【0007】
以上のことから、簡素な構成で、コンパクトなサイズを実現できる駐車装置が望まれていた。
【0008】
そこで、本発明は、無駄な動作と、二つのアンテナ間のスペースと、待ち時間の発生の抑制が可能で簡素な構成を有する駐車装置を提供することを課題とする。
【課題を解決するための手段】
【0009】
上記した課題を解決するための態様は、車両を格納する空間を有する装置本体と、前記装置本体の動作を制御する制御装置と、車両の接近を直線的に検知する二つ以上の直線センサと、車両識別情報を検知する車両検知手段と、を備えた駐車装置であって、前記二つ以上の直線センサは、第1の直線センサと第2の直線センサとを含み、前記第1の直線センサおよび前記車両検知手段は、前記装置本体に続く道路上の車両を検知できる位置に設けられ、前記第2の直線センサは、前記第1の直線センサより前記装置本体に近い位置に設けられていて、前記制御装置は各車両又は各利用者に関する情報である車両識別情報を登録可能であり、車両の入庫前に入庫準備を実施する入庫準備動作が可能であって、前記入庫準備動作を開始するか否かを判別する判別動作を実施するものであり、前記判別動作は、前記車両検知手段が一の車両から車両識別情報を取得し、且つ、前記一の車両から取得した車両識別情報が登録済の車両識別情報と対応する情報であるとともに前記第1の直線センサと前記第2の直線センサが順に一の車両の接近を検知したことを条件として、前記入庫準備動作を開始することを特徴とする駐車装置である。
【0010】
本態様の駐車装置は、車両を格納する空間を有する装置本体と、装置本体の動作を制御する制御装置と、車両の接近を直線的に検知する二つ以上の直線センサと、車両識別情報を検知する車両検知手段(アンテナ)と、を備えた駐車装置である。二つ以上の直線センサは、第1の直線センサと第2の直線センサとを含み、第1の直線センサおよび車両検知手段(アンテナ)は、装置本体に続く道路上の車両を検知できる位置に設けられ、第2の直線センサは、第1の直線センサより装置本体に近い位置に設けられている。以上のように構成された本態様の駐車装置は、各車両又は各利用者に関する情報である車両識別情報を登録可能であり、車両の入庫前に入庫準備を実施する入庫準備動作が可能である。
車両が装置本体に続く道路上から装置本体を有する施設に入場しようとした時に、この入庫準備動作に先立って、本態様の制御装置は、入庫準備動作を開始するか否かを判別する判別動作を行う。判別動作は、車両検知手段(アンテナ)が車両から車両識別情報を取得し、且つ、車両から取得した車両識別情報が登録済の車両識別情報と対応する情報であるとともに第1の直線センサと第2の直線センサが順に車両の接近を検知したことを条件として、入庫準備動作を開始するか否かを判別する動作である。ここで、判別動作で入庫準備動作を行うべきと判断されたときは、車両が駐車装置に到着するまでに入庫準備動作を完了させることができるので、入庫待ち時間の発生を抑えることが可能である。
さらに、従来例の駐車装置は、二つの車両検知手段(アンテナ)で車両の到着順序を判定していた。従って、二つのアンテナの設置場所を設定するに際しては、車両がどちらのアンテナに近接したかを確実に判断できるように、アンテナ間の距離を2本のアンテナ分の誤差より大きく設定する必要があった。一方、本態様の駐車装置では、二つの直線センサを用いて車両の検知順序を判定している。従って、アンテナの設置位置を設定するに際しては、1本のアンテナの誤差を考慮して決めればよい。
(【0011】以降は省略されています)
この特許をJ-PlatPat(特許庁公式サイト)で参照する
関連特許
極東開発工業株式会社
連結車両
12日前
極東開発工業株式会社
駐車装置
26日前
極東開発工業株式会社
塵芥収集車
4日前
極東開発工業株式会社
塵芥収集車
4日前
極東開発工業株式会社
塵芥収集車
4日前
極東開発工業株式会社
塵芥収集車
4日前
極東開発工業株式会社
被牽引車両
12日前
極東開発工業株式会社
車両システム、作業車両及びプログラム
1か月前
極東開発工業株式会社
特装車車両データサーバ
18日前
個人
接合構造
1か月前
個人
タッチミー
1か月前
個人
屋台
2か月前
個人
野良猫ハウス
3か月前
個人
安心補助てすり
1か月前
個人
フェンス
3か月前
個人
転落防止用手摺
2か月前
個人
居住車両用駐車場
3か月前
ニチハ株式会社
建築板
3か月前
個人
ベンリナアングル
1か月前
積水樹脂株式会社
柵体
2か月前
個人
地下型マンション
5か月前
個人
筋交自動設定装置
2か月前
個人
熱抵抗多層断熱建材
3か月前
株式会社タナクロ
テント
5か月前
個人
鋼管結合資材
5か月前
個人
補強部材
3か月前
個人
柵
3か月前
個人
身体用シェルター
2か月前
鹿島建設株式会社
壁体
3か月前
個人
循環流水式屋根融雪装置
5か月前
個人
身体用シェルター
2か月前
個人
防災建築物
1か月前
成友建設株式会社
建物
3か月前
株式会社シンケン
住宅
1か月前
株式会社熊谷組
木質材料
2か月前
インターマン株式会社
天井構造
3か月前
続きを見る
他の特許を見る