TOP
|
特許
|
意匠
|
商標
特許ウォッチ
Twitter
他の特許を見る
10個以上の画像は省略されています。
公開番号
2025170857
公報種別
公開特許公報(A)
公開日
2025-11-20
出願番号
2024075654
出願日
2024-05-08
発明の名称
被牽引車両
出願人
極東開発工業株式会社
代理人
弁理士法人ユニアス国際特許事務所
主分類
B60P
7/13 20060101AFI20251113BHJP(車両一般)
要約
【課題】 積載されたコンテナを固定するためのロック部を所望の位置に保持することができる被牽引車両を提供する。
【解決手段】 被牽引車両は、コンテナが載せられる車体と、車体に載せられたコンテナを固定するロック位置と、車体に載せられたコンテナから離れる解除位置と、の間を移動するロック部と、ロック部をロック位置又は解除位置に保持する保持部材と、を備え、ロック部は、車体に対し、基端部に設けられた第1回転軸を中心に回転可能に支持された回転部材と、回転部材に対し、基端部に設けられた第2回転軸を中心に回転可能に支持され、ロック位置で先端部がコンテナに係合し、解除位置で先端部がコンテナから離れる係止部材と、を備え、保持部材は、ロック部がロック位置にあるとき、回転部材に当接してロック部をロック位置に保持する第1当接部を備える。
【選択図】 図6
特許請求の範囲
【請求項1】
コンテナが載せられる車体と、
前記車体に載せられた前記コンテナを固定するロック位置と、前記車体に載せられた前記コンテナから離れる解除位置と、の間を移動するロック部と、
前記ロック部を前記ロック位置又は前記解除位置に保持する保持部材と、を備え、
前記ロック部は、前記車体に対し、基端部に設けられた第1回転軸を中心に回転可能に支持された回転部材と、前記回転部材に対し、基端部に設けられた第2回転軸を中心に回転可能に支持され、前記ロック位置で先端部が前記コンテナに係合し、前記解除位置で前記先端部が前記コンテナから離れる係止部材と、を備え、
前記保持部材は、前記ロック部が前記ロック位置にあるとき、前記回転部材に当接して前記ロック部を前記ロック位置に保持する第1当接部を備える、被牽引車両。
続きを表示(約 870 文字)
【請求項2】
前記保持部材は、前記ロック部が前記解除位置にあるとき、前記回転部材又は前記係止部材に当接して前記ロック部を前記解除位置に保持する第2当接部を備える、請求項1に記載の被牽引車両。
【請求項3】
コンテナが載せられる車体と、
前記車体に載せられた前記コンテナを固定するロック位置と、前記車体に載せられた前記コンテナから離れる解除位置と、の間を移動するロック部と、
前記ロック部を前記ロック位置又は前記解除位置に保持する保持部材と、を備え、
前記保持部材は、前記ロック部が前記解除位置にあるとき、前記ロック部に当接して前記ロック部を前記解除位置に保持する第2当接部を備える、被牽引車両。
【請求項4】
前記ロック部は、前記車体に対し、基端部に設けられた第1回転軸を中心に回転可能に支持された回転部材と、前記回転部材に対し、基端部に設けられた第2回転軸を中心に回転可能に支持され、前記ロック位置で先端部が前記コンテナに係合し、前記解除位置で前記先端部が前記コンテナから離れる係止部材と、を備え、
前記第2当接部は、前記ロック部が前記解除位置にあるとき、前記回転部材又は前記係止部材に当接する、請求項3に記載の被牽引車両。
【請求項5】
前記先端部は、前記ロック部が前記ロック位置にあるとき、前記コンテナに当接する係合部を備え、
前記ロック部が前記ロック位置にあるとき、前記係合部は、前記第1回転軸を含む鉛直面を挟んで前記第2回転軸と反対側に位置する、請求項1,2,4の何れか1項に記載の被牽引車両。
【請求項6】
前記ロック部を前記ロック位置から前記解除位置へ移動させるように前記回転部材を付勢する付勢部材を備える、請求項1,2,4の何れか1項に記載の被牽引車両。
【請求項7】
前記ロック部は、駆動源によって動作され、前記保持部材は、手動によって動作される、請求項1~4の何れか1項に記載の被牽引車両。
発明の詳細な説明
【技術分野】
【0001】
本明細書は、被牽引車両に関する。
続きを表示(約 1,800 文字)
【背景技術】
【0002】
従来、牽引車両に牽引される被牽引車両が知られている。被牽引車両には、例えば、コンテナが載せられる。特許文献1では、被牽引車両の車体に載せられたコンテナは、車体に設けられたロック爪でコンテナの下部構造フレームをロックしている。ところで、ロック爪は、エアチャンバによってロック位置と解除位置との間を移動されるが、例えば、エアチャンバのエア圧が抜けて、ロック爪が意図せずロック位置から解除位置へ移動される可能性があるため、ロック爪をロック位置に保持したい、という要望がある。また、ロック爪を解除位置に保持したい、という要望もある。
【先行技術文献】
【特許文献】
【0003】
独国実用新案第202013005442号明細書
【発明の概要】
【発明が解決しようとする課題】
【0004】
そこで、課題は、積載されたコンテナを固定するためのロック部を所望の位置に保持することができる被牽引車両を提供することである。
【課題を解決するための手段】
【0005】
被牽引車両は、
コンテナが載せられる車体と、
前記車体に載せられた前記コンテナを固定するロック位置と、前記車体に載せられた前記コンテナから離れる解除位置と、の間を移動するロック部と、
前記ロック部を前記ロック位置又は前記解除位置に保持する保持部材と、を備え、
前記ロック部は、前記車体に対し、基端部に設けられた第1回転軸を中心に回転可能に支持された回転部材と、前記回転部材に対し、基端部に設けられた第2回転軸を中心に回転可能に支持され、前記ロック位置で先端部が前記コンテナに係合し、前記解除位置で前記先端部が前記コンテナから離れる係止部材と、を備え、
前記保持部材は、前記ロック部が前記ロック位置にあるとき、前記回転部材に当接して前記ロック部を前記ロック位置に保持する第1当接部を備える。
【図面の簡単な説明】
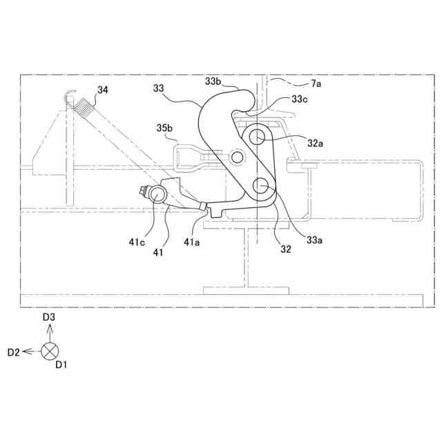
【0006】
一実施形態に係る連結車両の側面図であって、車両走行状態を示す図
同実施形態に係る連結車両の側面図であって、コンテナ着脱状態を示す図
同実施形態に係る被牽引車両の側面図
図3のIV-IV線の要部拡大断面図であって、第1当止部がロック位置に位置する状態を示す図
第1当止部が解除位置に位置する状態を示す図
図4の要部拡大図
図5の要部拡大図
保持装置の背面図
保持装置の平面図
被牽引装置の側面図であって、連結部が連結位置に位置する状態を示す図
被牽引装置の側面図であって、連結部が非連結位置に位置する状態を示す図
【発明を実施するための形態】
【0007】
各図面において、構成要素の寸法は、例えば、理解を容易にするために、実際の寸法に対して拡大、縮小して示す場合があり、また、各図面の間での寸法比は、一致していない場合がある。なお、各図面において、例えば、理解を容易にするために、構成要素の一部を省略して示す場合がある。
【0008】
第1、第2等の序数を含む用語は、多様な構成要素を説明するために用いられるが、この用語は、一つの構成要素を他の構成要素から区別する目的でのみ用いられ、構成要素は、この用語によって特に限定されるものではない。なお、序数を含む構成要素の個数は、特に限定されず、例えば、一つでもよい場合がある。また、以下の明細書及び図面で用いられる序数は、特許請求の範囲に記載された序数と異なる場合がある。
【0009】
以下、被牽引車両における一実施形態について、図1~図11を参照しながら説明する。なお、以下の実施形態は、被牽引車両の構成等の理解を助けるために例示するものであり、被牽引車両の構成を限定するものではない。
【0010】
図1及び図2に示すように、被牽引車両10は、連結車両1に用いられている。連結車両1は、例えば、本実施形態のように、被牽引車両10を牽引する牽引車両2を備えていてもよい。ここで、被牽引車両10の各構成を説明するのに先立って、牽引車両2について説明する。
(【0011】以降は省略されています)
この特許をJ-PlatPat(特許庁公式サイト)で参照する
関連特許
個人
タイヤレバー
3か月前
個人
前輪キャスター
2か月前
個人
上部一体型自動車
1か月前
個人
ルーフ付きトライク
3か月前
個人
タイヤ脱落防止構造
2か月前
個人
空間形成装置
22日前
日本精機株式会社
表示装置
3か月前
日本精機株式会社
表示装置
3か月前
日本精機株式会社
表示装置
3か月前
個人
マスタシリンダ
1か月前
日本精機株式会社
照明装置
17日前
日本精機株式会社
表示装置
3か月前
個人
車両通過構造物
3か月前
個人
乗合路線バスの客室装置
4か月前
個人
常設収納型サンバイザー
28日前
個人
回転窓ワイパー装置
22日前
株式会社豊田自動織機
産業車両
17日前
株式会社ニフコ
照明装置
3か月前
日本精機株式会社
車載表示装置
25日前
日本精機株式会社
車載表示装置
1か月前
日本精機株式会社
車室演出装置
2か月前
個人
円湾曲ホイール及び球体輪
4か月前
日本精機株式会社
画像投映装置
1か月前
日本精機株式会社
車載表示装置
23日前
日本精機株式会社
車載表示装置
2か月前
個人
音声ガイド、音声サービス
4か月前
株式会社ニフコ
収納装置
2か月前
株式会社豊田自動織機
産業車両
3か月前
日本精機株式会社
車両用投影装置
2か月前
日本精機株式会社
車両用投射装置
1か月前
極東開発工業株式会社
車両
3か月前
日本精機株式会社
車両用表示装置
3か月前
日本精機株式会社
車両用報知装置
29日前
株式会社SUBARU
車両
1か月前
個人
音による速度計とプログラム
28日前
井関農機株式会社
作業車両
2か月前
続きを見る
他の特許を見る