TOP
|
特許
|
意匠
|
商標
特許ウォッチ
Twitter
他の特許を見る
公開番号
2025164517
公報種別
公開特許公報(A)
公開日
2025-10-30
出願番号
2024068536
出願日
2024-04-19
発明の名称
回転窓ワイパー装置
出願人
個人
代理人
個人
主分類
B60J
1/00 20060101AFI20251023BHJP(車両一般)
要約
【課題】
ワイパーブレード及びモータ等の装置又はこれらの装置の動作が視界の妨げとなることがない、車両、船舶及び鉄道等の乗り物の窓、並びに写真・動画撮影用のカメラ及び防犯カメラ等のレンズを備える物品等ように水滴や汚れ等を自動的に除去することが望まれる物品に取り付けられる回転窓ワイパー装置を提供することを目的とする。
【解決手段】
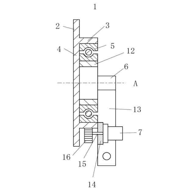
ワイパー面部2及びワイパー環状壁部3を含むワイパー本体部4と、ベアリング5と、ベアリング支持部6と、モータ7を備え、ワイパー本体部4の回転軸線上から外れた位置にモータ7を設ける。
【選択図】 図1
特許請求の範囲
【請求項1】
ワイパー面部(2)及び前記ワイパー面部(2)の内側面から環状に立設するワイパー環状壁部(3)を含むワイパー本体部(4)と、
前記ワイパー環状壁部(3)を軸支するベアリング(5)と、
前記ベアリング(5)を固定的に支持するベアリング支持部(6)と、
前記ワイパー本体部(4)を回転させるモータ(7)を備え、
前記ワイパー本体部(4)の回転軸線上から外れた位置に前記モータ(7)が設けられていることを特徴とする回転窓ワイパー装置(1)。
続きを表示(約 400 文字)
【請求項2】
前記モータ(7)が、前記ワイパー環状壁部(3)の外周面に作用して、前記ワイパー本体部(4)を回転させることを特徴とする請求項1に記載の回転窓ワイパー装置(1)
【請求項3】
ワイパー面部(2)及び前記ワイパー面部(2)の内側面から環状に立設するワイパー環状壁部(3)を含むワイパー本体部(4)と、
ステータ(9)及びロータ(10)を含み、前記ワイパー本体部(4)を回転させる駆動部(8)と、
前記ロータ(10)を軸支するベアリング(5)と、
前記ベアリング(5)を固定的に支持するベアリング支持部(6)を備え、
前記ロータ(10)の内部に円筒状中空部(11)が設けられ、
前記ワイパー環状壁部(3)の外周面が、前記円筒状中空部(11)の内周面と嵌合するように取り付けられていることを特徴とする回転窓ワイパー装置(100)。
発明の詳細な説明
【技術分野】
【0001】
本発明は、回転窓ワイパー装置に関する。
続きを表示(約 1,700 文字)
【背景技術】
【0002】
従来より、自動車のワイパー装置が知られている。自動車のワイパー装置は、2本のワイパーブレードが往復運動を行って、フロントウィンドウに付着した雨水等を拭き取っている。このように、従来の通常の自動車のワイパー装置においては、ワイパーブレードがフロントウィンドウ上を往復運動することから、ワイパーブレードが運転者等の視界を遮ってしまうという欠点がある。
【0003】
例えば、特許文献1及び2に示すような回転式ワイパー装置が採用されている。しかしながら、これら従来の回転式ワイパー装置では、ガラス窓の中央にブレードの回転軸が存在し、また、ガラス窓全体的にブレードが旋回することから、ワイパー装置によって視界が妨げられるという欠点があった。他方、船舶においては、一般に、ガラス窓が回転し、ブレードを有していないものがあるが、この場合も、ガラス窓の回転軸を駆動するモータを支える支持部材がガラス窓の視界を遮るという欠点があった。
【先行技術文献】
【特許文献】
【0004】
実開昭50-079121号公報
実開昭54-165942号公報
【発明の概要】
【発明が解決しようとする課題】
【0005】
そこで、本発明は、ワイパーブレード及びモータ等の装置又はこれらの装置の動作が視界の妨げとなることがない、車両、船舶及び鉄道等の乗り物の窓、並びに写真・動画撮影用のカメラ及び防犯カメラ等のレンズを備える物品等のように水滴や汚れ等を自動的に除去することが望まれる物品に取り付けられる回転窓ワイパー装置を提供することを目的とする。
【課題を解決するための手段】
【0006】
本発明の第1の態様の回転窓ワイパー装置(1)は、ワイパー面部(2)及び前記ワイパー面部(2)の内側面から環状に立設するワイパー環状壁部(3)を含むワイパー本体部(4)と、前記ワイパー環状壁部(3)を軸支するベアリング(5)と、前記ベアリング(5)を固定的に支持するベアリング支持部(6)と、前記ワイパー本体部(4)を回転させるモータ(7)を備え、前記ワイパー本体部(4)の回転軸線上から外れた位置に前記モータ(7)が設けられていることを特徴とする。
【0007】
本発明の第2の態様の回転窓ワイパー装置(1)は、前記モータ(7)が、前記ワイパー環状壁部(3)の外周面に作用して、前記ワイパー本体部(4)を回転させることを特徴とする。
【0008】
本発明の第3の態様の回転窓ワイパー装置(100)は、ワイパー面部(2)及び前記ワイパー面部(2)の内側面から環状に立設するワイパー環状壁部(3)を含むワイパー本体部(4)と、ステータ(9)及びロータ(10)を含み、前記ワイパー本体部(4)を回転させる駆動部(8)と、前記ロータ(10)を軸支するベアリング(5)と、前記ベアリング(5)を固定的に支持するベアリング支持部(6)を備え、前記ロータ(10)の内部に円筒状中空部(11)が設けられ、前記ワイパー環状壁部(3)の外周面が、前記円筒状中空部(11)の内周面と嵌合するように取り付けられていることを特徴とする。
【発明の効果】
【0009】
本発明の第1の態様によれば、ワイパー本体部がモータの駆動により回転することでワイパー面部の外側面に付着した水滴、雪及び汚れ等を遠心力によって弾き飛ばすことから、ワイパーブレードのような物体で視界が遮られることはない。また、ワイパー本体部の回転軸線上から外れた位置にモータが設けられているため、モータ等によって視界が遮られることもない。
【0010】
本発明の第2の態様によれば、モータが、ワイパー環状壁部の外周面に作用して、ワイパー本体部を回転させることから、ワイパー本体部の回転軸線上にモータが存在しない場合でも、ワイパー本体部をスムーズに回転させることが可能となる。
(【0011】以降は省略されています)
この特許をJ-PlatPat(特許庁公式サイト)で参照する
関連特許
個人
前輪キャスター
2か月前
個人
上部一体型自動車
1か月前
個人
タイヤ脱落防止構造
2か月前
個人
ルーフ付きトライク
3か月前
個人
空間形成装置
23日前
日本精機株式会社
照明装置
18日前
個人
マスタシリンダ
1か月前
日本精機株式会社
表示装置
3か月前
個人
常設収納型サンバイザー
29日前
日本精機株式会社
車載表示装置
24日前
日本精機株式会社
車載表示装置
2か月前
株式会社豊田自動織機
産業車両
3か月前
個人
回転窓ワイパー装置
23日前
株式会社ニフコ
収納装置
2か月前
株式会社ニフコ
照明装置
3か月前
日本精機株式会社
車載表示装置
26日前
日本精機株式会社
車載表示装置
1か月前
日本精機株式会社
車室演出装置
2か月前
株式会社豊田自動織機
産業車両
18日前
日本精機株式会社
画像投映装置
1か月前
日本精機株式会社
車両用投射装置
1か月前
日本精機株式会社
車両用表示装置
3か月前
株式会社SUBARU
車両
1か月前
井関農機株式会社
作業車両
2か月前
日本精機株式会社
車両用投影装置
2か月前
個人
音による速度計とプログラム
29日前
極東開発工業株式会社
車両
3か月前
日本精機株式会社
車両用報知装置
1か月前
日本精機株式会社
車両用表示装置
1か月前
日本化薬株式会社
ガス発生器
1か月前
ダイハツ工業株式会社
変速機
2か月前
個人
段差通過を容易にする車輪構造
2か月前
スズキ株式会社
運転支援装置
3か月前
ダイハツ工業株式会社
変速機
2か月前
ダイハツ工業株式会社
変速機
2か月前
日産自動車株式会社
伝動部材
1か月前
続きを見る
他の特許を見る