TOP
|
特許
|
意匠
|
商標
特許ウォッチ
Twitter
他の特許を見る
10個以上の画像は省略されています。
公開番号
2025174754
公報種別
公開特許公報(A)
公開日
2025-11-28
出願番号
2024081348
出願日
2024-05-17
発明の名称
塵芥収集車
出願人
極東開発工業株式会社
代理人
個人
主分類
B65F
3/00 20060101AFI20251120BHJP(運搬;包装;貯蔵;薄板状または線条材料の取扱い)
要約
【課題】部材の互換性が高く、各種の構造のシャーシフレームを持つ車両に適用することが可能であり、且つロードセル等の重量測定手段や、ロードセルを取り付ける部材が破損しにくい構造を持つ塵芥収集車を提案する。
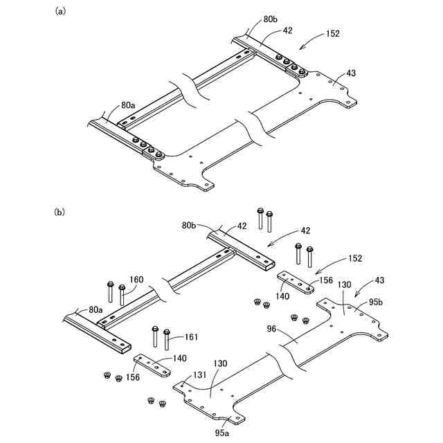
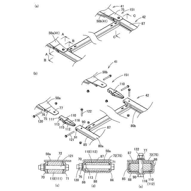
【解決手段】車台を有する車両部と、塵芥を収容する塵芥収容箱と、一又は複数の支持部材とを有し、前記支持部材を介して前記塵芥収容箱が前記車台に搭載され、さらに一又は複数の重量測定手段を有する。支持部材の中に、少なくとも一つの重量測定手段が設置される測定手段設置部材43があり、当該測定手段設置部材43は、車台の幅方向に間隔をあけて配置された一対の桁部95と、当該一対の桁部95を繋ぐ接続部96を有し、一対の桁部95と接続部96が分離不能である。
【選択図】図4
特許請求の範囲
【請求項1】
車台を有する車両部と、塵芥を収容する塵芥収容箱と、一又は複数の支持部材とを有し、前記支持部材を介して前記塵芥収容箱が前記車台に搭載され、さらに一又は複数の重量測定手段を有する塵芥収集車において、
前記支持部材の少なくとも一つの中に、少なくとも一つの重量測定手段が設置される測定手段設置部材があり、
当該測定手段設置部材は、車台の幅方向に間隔をあけて配置された一対の桁部と、当該一対の桁部材を繋ぐ接続部を有し、一対の桁部と接続部が分離不能であることを特徴とする塵芥収集車。
続きを表示(約 1,500 文字)
【請求項2】
前記測定手段設置部材は、一枚の板から切り出されて成型されたものであって、分離不能であることを特徴とする請求項1に記載の塵芥収集車。
【請求項3】
前記測定手段設置部材は、一部が前記車台から幅方向に突出していることを特徴とする請求項1に記載の塵芥収集車。
【請求項4】
前記測定手段設置部材を一つの支持部材片とし、他の支持部材片と接合されて一つの支持部材が構成されており、当該支持部材は、全体として車台の幅方向に間隔をあけて配置された一対の桁部と、当該一対の桁部を繋ぐ接続部を有することを特徴とする請求項1に記載の塵芥収集車。
【請求項5】
一つの支持部材は、少なくとも3個の支持部材片が車台の長手方向に接合されたものであり、前記測定手段設置部材がそのうちの一つの支持部材片を構成していることを特徴とする請求項1に記載の塵芥収集車。
【請求項6】
車台の長手方向の前後の位置に重量測定手段があり、重量測定手段の少なくとも一つが前記測定手段設置部材に取り付けられており、他の少なくとも一つが他の位置に取り付けられていることを特徴とする請求項1に記載の塵芥収集車。
【請求項7】
重量測定手段は、棒状の検知部と当該検知に繋がる基部を有し、
重量測定手段の検知部又は基部を支持する固定部材を有し、当該固定部材は、前記検知部又は基部が挿通される開口を備えた支持プレート部と、前記重量測定手段を他部材に接続するベースプレート部を有し、
支持プレート部は、前記開口が設けられた板状の本体部と、当該本体部の少なくとも一方の側面にリブ部を有し、当該リブ部の底面は、前記開口の軸方向に長く、当該リブ部の底面がベースプレート部に接していることを特徴とする請求項1又は6に記載の塵芥収集車。
【請求項8】
重量測定手段は、棒状の検知部と当該検知に繋がる基部を有し、
重量測定手段の検知部又は基部を支持する固定部材を有し、当該固定部材は、前記検知部又は基部が挿通される開口を備えた支持プレート部と、前記重量測定手段を他部材に接続するベースプレート部を有し、
当該ベースプレート部には、当該ベースプレート部を他の部材にネジ止めするための複数の取り付け孔が設けられており、
前記支持プレート部は、前記ベースプレート部に立設されており、
前記支持プレート部の開口の位置は、前記複数の取り付け孔の中心及び/又は前記ベースプレート部の中心から外れていることを特徴とする請求項1又は6に記載の塵芥収集車。
【請求項9】
車台と塵芥収容箱の間に複数の支持部材が高さ方向に積み重ねられた状態で設置されており、
上下に隣接する支持部材の間に重量測定手段が配されており、
前記支持部材の少なくとも一方には前記車台の長手方向にのびる縦壁部があり、当該縦壁部に切り欠き部又は開口部があり、
重量測定手段は、棒状の検知部と当該検知部に繋がる基部を有し、
重量測定手段の検知部又は基部が挿通される開口を備えた固定プレートを有し、
前記固定プレートが前記切り欠き部又は開口部にねじ止めされていることを特徴とする請求項1又は6に記載の塵芥収集車。
【請求項10】
前記切り欠き部又は開口部の縁にリブが設けられており、前記固定プレートは前記リブにねじ止めされていることを特徴とする請求項9に記載の塵芥収集車。
(【請求項11】以降は省略されています)
発明の詳細な説明
【技術分野】
【0001】
本発明は、塵芥等を収集して運搬する塵芥収集車に関するものである。
続きを表示(約 2,000 文字)
【背景技術】
【0002】
家庭から排出される一般ごみや、飲食店等から排出される生ゴミ等を収集する装置として、塵芥収集車が知られている。
塵芥収集車は、車両の上に塵芥収容箱が設置されたものである。
またロードセルが取り付けられた塵芥収集車が特許文献1に開示されている。
特許文献1に開示された塵芥収集車は、ロードセルが設けられているので、塵芥収容箱に収容された塵芥の重量を知ることができる。
【先行技術文献】
【特許文献】
【0003】
特許第3410402号公報
【発明の概要】
【発明が解決しようとする課題】
【0004】
特許文献1に開示された塵芥収集車では、シャーシフレームに車体側取付ベースが固定され、当該車体側取付ベースにロードセルが取り付けられている。
しかしながら、シャーシフレームは、車両によって形状が異なる。そのため特許文献1に開示された構造は、互換性が低く、塵芥収容箱が取り付けられる車両ごとに、ロードセルの取り付け位置や、ロードセルに荷重をかける部材の構造等を設計する必要がある。
また本発明者らの研究によると、走行時の振動等により、ロードセルや、ロードセルを取り付ける部材が破損することがあった。
本発明は、上記した問題を解決することを課題とするものであり、部材の互換性が高く、各種の構造のシャーシフレームを持つ車両に適用することが可能であり、且つロードセル等の重量測定手段や、ロードセルを取り付ける部材が破損しにくい構造を持つ塵芥収集車を提案するものである。
【課題を解決するための手段】
【0005】
上記した課題を解決するための態様は、車台を有する車両部と、塵芥を収容する塵芥収容箱と、一又は複数の支持部材とを有し、前記支持部材を介して前記塵芥収容箱が前記車台に搭載され、さらに一又は複数の重量測定手段を有する塵芥収集車において、前記支持部材の少なくとも一つの中に、少なくとも一つの重量測定手段が設置される測定手段設置部材があり、当該測定手段設置部材は、車台の幅方向に間隔をあけて配置された一対の桁部と、当該一対の桁部材を繋ぐ接続部を有し、一対の桁部と接続部が分離不能であることを特徴とする塵芥収集車である。
【0006】
本態様の塵芥収集車は、支持部材を介して塵芥収容箱が前記車台に搭載されている。本実施形態の塵芥収集車では、支持持部材に重量測定手段が設置される測定手段設置部材がある。そのため、車台(シャーシフレーム)の形状に関わらず、重量測定装置を取り付けることができる。
さらに本態様の塵芥収集車では、測定手段設置部材は、車台の幅方向に間隔をあけて配置された一対の桁部と、当該一対の桁部材を繋ぐ接続部を有し、一対の桁部と接続部が分離不能である。
ここで「一対の桁部と接続部が分離不能」とは、桁部と接続部が一体に結合されていて、桁部と接続部を切り離しすることができない構造であることを示している。
例えば、桁部と接続部が一枚の板から切り出されたものである場合は、桁部と接続部が一体に結合されていて桁部と接続部を切り離しできず、「一対の桁部と接続部が分離不能」である。即ち桁部と接続部が一体成型されている場合は、桁部と接続部が一体に結合されていて桁部と接続部を切り離しすることができず、「一対の桁部と接続部が分離不能」である。
また桁部と接続部が個別に成型されて両者が永久締結要素で締結されている場合も、桁部と接続部が一体に結合されていて、桁部と接続部を切り離しできず、「一対の桁部と接続部が分離不能」である。
部材を永久締結する方策としては、リベット止めと、溶接構造がある。
桁部と接続部は、相対移動が不能であることが望ましい。この観点から、桁部と接続部は、一体成型品、または溶接構造物であることが望ましい。
本発明者らの実験によると、一対の桁部と接続部を分離不能にすることによってロードセル等の重量測定手段や、ロードセルを取り付ける部材が破損しにくいことがわかった。
【0007】
上記した態様において、前記測定手段設置部材は、一枚の板から切り出されて成型されたものであって、分離不能であることが望ましい。
【0008】
本態様の塵芥収集車で採用する測定手段設置部材は、作りやすい。
【0009】
上記した各態様において、前記測定手段設置部材は、一部が前記車台から幅方向に突出していることが望ましい。
【0010】
本態様の塵芥収集車で採用する測定手段設置部材は、一部の幅が広いので、対応可能な車台の種類が多い。
(【0011】以降は省略されています)
この特許をJ-PlatPat(特許庁公式サイト)で参照する
関連特許
極東開発工業株式会社
鉄道車両
1か月前
極東開発工業株式会社
タンク車
1か月前
極東開発工業株式会社
コンテナ
1か月前
極東開発工業株式会社
鉄道車両
1か月前
極東開発工業株式会社
連結車両
12日前
極東開発工業株式会社
鉄道車両
1か月前
極東開発工業株式会社
駐車装置
26日前
極東開発工業株式会社
鉄道車両
1か月前
極東開発工業株式会社
塵芥収集車
4日前
極東開発工業株式会社
塵芥収集車
4日前
極東開発工業株式会社
塵芥収集車
2か月前
極東開発工業株式会社
塵芥収集車
4日前
極東開発工業株式会社
被牽引車両
12日前
極東開発工業株式会社
塵芥収集車
4日前
極東開発工業株式会社
給湯システム
1か月前
極東開発工業株式会社
立体駐車装置
2か月前
極東開発工業株式会社
乾燥コンテナ
1か月前
極東開発工業株式会社
バイオマス燃焼システム
1か月前
極東開発工業株式会社
バイオマス燃焼システム
1か月前
極東開発工業株式会社
作業車両及びプログラム
1か月前
極東開発工業株式会社
バイオマス燃焼システム
1か月前
極東開発工業株式会社
バイオマス燃焼システム
1か月前
極東開発工業株式会社
バイオマス燃焼システム
1か月前
極東開発工業株式会社
バイオマス燃焼システム及び燃料庫
1か月前
極東開発工業株式会社
特装車作動油交換時期管理システム
1か月前
極東開発工業株式会社
コンテナ装置、コンテナ及びベース
1か月前
極東開発工業株式会社
車両システム、作業車両及びプログラム
1か月前
極東開発工業株式会社
車両システム、荷役車両及びプログラム
1か月前
極東開発工業株式会社
特装車車両データサーバ
18日前
個人
束ね具
21日前
個人
収容箱
4か月前
個人
コンベア
6か月前
個人
ゴミ収集器
8か月前
個人
段ボール箱
8か月前
個人
段ボール箱
8か月前
個人
容器
10か月前
続きを見る
他の特許を見る