TOP
|
特許
|
意匠
|
商標
特許ウォッチ
Twitter
他の特許を見る
10個以上の画像は省略されています。
公開番号
2025163728
公報種別
公開特許公報(A)
公開日
2025-10-30
出願番号
2024067202
出願日
2024-04-18
発明の名称
特装車作動油交換時期管理システム
出願人
極東開発工業株式会社
代理人
個人
,
個人
主分類
B60P
3/22 20060101AFI20251023BHJP(車両一般)
要約
【課題】 特装車作動油の交換時期を適切に管理する。
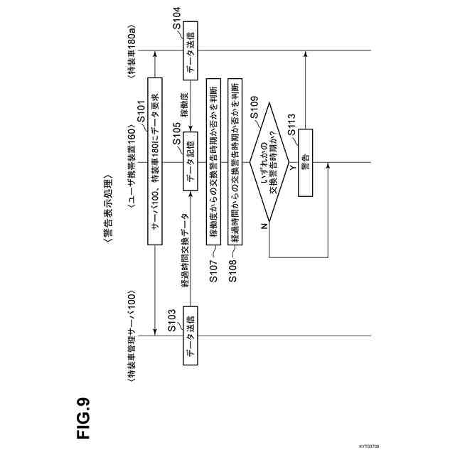
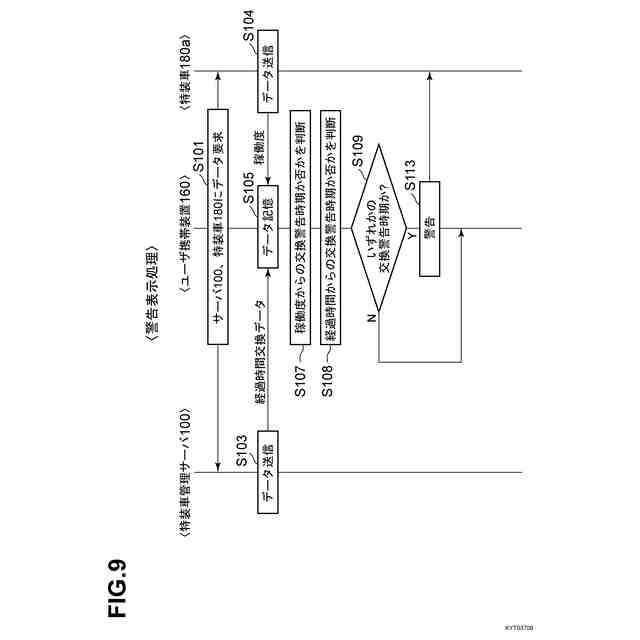
【解決手段】 ユーザ携帯装置160は、稼働度交換時期特定データおよび、特装車180aから受け取った稼働度から、稼働度から判断する稼働度交換時期からの警告が必要かを決定する(S107)。ユーザ携帯装置160は、経過時間からの交換警告時期か否かを判断する(S108)。さらにいずれかの交換警告時期であるか判断され(S109)。交換警告時期であると判断すると、警告を特装車180aに送信する(S113)。特装車180aは、これを受けて、液晶画面71に警告表示を表示する(S115)。これにより、稼働度および経過時間を考慮した警告がなされる。
【選択図】 図9
特許請求の範囲
【請求項1】
A)特装車に搭載された架装物に用いる作動油の交換時期を管理する特装車作動油交換時期管理システムであって、
B)特装車、特装車管理サーバ、およびユーザ端末装置を備え、
C)前記特装車は、下記c1)~c4)を有し、
c1)前記架装物の動作制御を行う特装車車両側制御手段、
c2)前記ユーザ端末装置と通信を行う特装車の通信手段、
c3)前記架装物の稼働度を計測する稼働度計測手段、
c4)前記計測された稼働度を記憶する稼働度記憶手段、
D)前記特装車管理サーバは前記ユーザ端末装置とデータ通信を行う特装車管理サーバの通信手段、を有しており、
E)前記ユーザ端末装置は、前記特装車管理サーバの通信手段とデータ通信を行う第1通信手段、および前記特装車の通信手段と通信を行う第2通信手段、を有しており、
F)前記特装車管理サーバ、前記ユーザ端末装置、または前記特装車は、以下のいずれの手段を備えていること、
前記作動油の稼働度から決定される交換時期を特定する稼働度交換時期特定データを記憶する稼働度交換時期特定データ記憶手段、
前記特装車について前回の交換時期からの経過時間から決定される次の交換時期を特定する経過時間交換データを記憶する経過時間交換データ記憶手段、
前記特装車の前記稼働度記憶手段に記憶された前記稼働度、前記特装車管理サーバの前記特装車についての前記経過時間交換データおよび、前記稼働度交換時期特定データ記憶手段に記憶された稼働度交換データを参照して、前記稼働度から求めた交換時期と、前記経過時間交換データから求めた交換時期のいずれかが、交換時期を過ぎているかを判断する判断手段、
前記判断手段が前記交換時期を過ぎていると判断すると、これを報知する報知手段、
を特徴とする特装車作動油交換時期管理システム。
続きを表示(約 2,100 文字)
【請求項2】
A)特装車に搭載された架装物に用いる作動油の交換時期を管理する特装車作動油交換時期管理システムであって、
B)特装車、特装車管理サーバ、およびユーザ端末装置を備え、
C)前記特装車は、下記c1)~c4)を有し、
c1)前記架装物の動作制御を行う特装車車両側制御手段、
c2)前記ユーザ端末装置と通信を行う通信手段、
c3)前記架装物の稼働時間を計測する稼働時間計測手段、
c4)前記計測された稼働時間を記憶する稼働時間記憶手段、
D)前記特装車管理サーバは前記ユーザ端末装置とデータ通信を行う通信手段、を有しており、
E)前記ユーザ端末装置は、前記特装車管理サーバとデータ通信を行う第1通信手段、および前記特装車の通信手段と通信を行う第2通信手段、を有しており、
F)前記特装車管理サーバ、前記ユーザ端末装置、または前記特装車は、以下のいずれの手段を備えていること、
前記稼働度計測手段が計測した稼働時間および前記特装車についての前記経過時間交換データに基づいて、前記稼働時間を考慮した交換時期を算出する稼働度考慮交換時期算出手段、
前記稼働度考慮交換時期に達したと判断した場合には、交換時期を過ぎていると報知する報知手段、
を特徴とする特装車作動油交換時期管理システム。
【請求項3】
請求項1または2の特装車作動油交換時期管理システムにおいて、
前記特装車は、車両駆動源の駆動力を走行状態から架装物稼働状態に切り換えるPTOスイッチを有しており、
前記稼働度は、前記架装物の回転数であり、
前記稼働度計測手段は、前記PTOスイッチを前記架装物稼働状態に切り換えていた時間または前記架装物の回転数を前記架装物の稼働度として計測すること、
を特徴とする特装車作動油交換時期管理システム。
【請求項4】
請求項1または2の特装車作動油交換時期管理システムにおいて、
前記ユーザ端末装置は、前記作動油の交換済み指令を入力する交換済み指令入力手段を有し、前記交換済み指令が入力されると、前記第1通信手段および前記第2通信手段により、前記特装車および前記特装車管理サーバに、前記作動油が交換済みであることを示す交換済みデータを送信すること、
を特徴とする特装車作動油交換時期管理システム。
【請求項5】
請求項4の特装車作動油交換時期管理システムにおいて、
前記ユーザ端末装置は、前記特装車または前記特装車管理サーバとの通信が非通信状態である場合には、前記交換済みデータの送信を保留すること、
を特徴とする特装車作動油交換時期管理システム。
【請求項6】
請求項5の特装車作動油交換時期管理システムにおいて、
前記ユーザ端末装置は、前記保留した交換済みデータの送信について、前記特装車または前記特装車管理サーバとの通信が通信状態となるか否か判断しており、通信状態となると、前記特装車および前記特装車管理サーバに、前記交換済みデータを送信すること、
を特徴とする特装車作動油交換時期管理システム。
【請求項7】
A)特装車に搭載された架装物に用いる作動油の交換時期を管理する特装車作動油交換時期管理システムであって、
B)特装車、およびユーザ端末装置を備え、
C)前記特装車は、下記c1)~c4)を有し、
c1)前記架装物の動作制御を行う特装車車両側制御手段、
c2)前記ユーザ端末装置と通信を行う特装車の通信手段、
c3)前記架装物の稼働度を計測する稼働度計測手段、
c4)前記計測された稼働度を記憶する稼働度記憶手段、
D)前記ユーザ端末装置は、前記特装車の通信手段と通信を行うユーザ端末装置の通信手段、を有しており、
E)前記ユーザ端末装置、または前記特装車は、以下のいずれかの手段を備えていること、
前記作動油の稼働度から決定される交換時期を特定する稼働度交換時期特定データを記憶する稼働度交換時期特定データ記憶手段、
前記特装車について前回の交換時期からの経過時間から決定される次の交換時期を特定する経過時間交換データを記憶する経過時間交換データ記憶手段、
前記特装車の前記稼働度記憶手段に記憶された前記稼働度、前記特装車管理サーバの前記特装車についての前記経過時間交換データおよび、前記稼働度交換時期特定データ記憶手段に記憶された稼働度交換データを参照して、前記稼働度から求めた交換時期と、前記経過時間交換データから求めた交換時期のいずれかが、交換時期を過ぎているかを判断する判断手段、
前記判断手段が前記交換時期を過ぎていると判断すると、これを報知する報知手段、
を特徴とする特装車作動油交換時期管理システム。
発明の詳細な説明
【技術分野】
【0001】
この発明は、特装車作動油交換時期管理システムに関し、特に、特装車の作動油交換時期の管理に関する。
続きを表示(約 2,500 文字)
【背景技術】
【0002】
特許文献1には、特装車として粉粒体運搬車が開示されている。粉粒体運送車は、特殊な運搬物である粉粒体を収容可能なタンクおよび当該タンク内を加圧可能なコンプレッサを、架装物(作業装置)として備えている。粉粒体運送車は、架装物による作業を行うときには、PTO(駆動切り替え装置)を介して、エンジンとコンプレッサとを連結する。エンジンの駆動力がPTOを介して、コンプレッサが駆動されると、タンク内の粉粒体が排出される。
【0003】
前記コンプレッサのコンプレッサオイル(作動油)は使用可能限度となる前に交換しなければならない。そこで、定期的(たとえば、前回部品交換日から2年後など)に交換日を決定しておく方法が考えられる。
【先行技術文献】
【特許文献】
【0004】
特開2023-030541号公報
【発明の概要】
【発明が解決しようとする課題】
【0005】
しかしながら、上記定期的交換では、使用頻度が多いユーザの場合、次回の部品交換日より前に劣化してしまうおそれがある。また、コンプレッサーの稼働量(稼働時間や稼働回数)により交換することも考えられるが、逆に使用頻度が少ないユーザの場合、稼働量による交換時期が来る前に経年劣化してしまうおそれがある
この発明は、上記問題を解決し、適切に特装車作動油の交換時期を管理することができる特装車作動油交換時期管理システムを提供することを目的とする。
【課題を解決するための手段】
【0006】
(1)本発明にかかる特装車作動油交換時期管理システムは、A)特装車に搭載された架装物に用いる作動油の交換時期を管理する特装車作動油交換時期管理システムであって、B)特装車、特装車管理サーバ、およびユーザ端末装置を備え、C)前記特装車は、下記c1)~c4)を有し、c1)前記架装物の動作制御を行う特装車車両側制御手段、c2)前記ユーザ端末装置と通信を行う特装車の通信手段、c3)前記架装物の稼働度を計測する稼働度計測手段、c4)前記計測された稼働度を記憶する稼働度記憶手段、D)前記特装車管理サーバは前記ユーザ端末装置とデータ通信を行う特装車管理サーバの通信手段、を有しており、
E)前記ユーザ端末装置は、前記特装車管理サーバの通信手段とデータ通信を行う第1通信手段、および前記特装車の通信手段と通信を行う第2通信手段、を有しており、F)前記特装車管理サーバ、前記ユーザ端末装置、または前記特装車は、以下のいずれの手段を備えている。前記作動油の稼働度から決定される交換時期を特定する稼働度交換時期特定データを記憶する稼働度交換時期特定データ記憶手段、前記特装車について前回の交換時期からの経過時間から決定される次の交換時期を特定する経過時間交換データを記憶する経過時間交換データ記憶手段、前記特装車の前記稼働度記憶手段に記憶された前記稼働度、前記特装車管理サーバの前記特装車についての前記経過時間交換データおよび、前記稼働度交換時期特定データ記憶手段に記憶された稼働度交換データを参照して、前記稼働度から求めた交換時期と、前記経過時間交換データから求めた交換時期のいずれかが、交換時期を過ぎているかを判断する判断手段、前記判断手段が前記交換時期を過ぎていると判断すると、これを報知する報知手段。
【0007】
したがって、前記経過時間交換データおよび前記稼働度交換データを参照して、前記稼働度から求めた交換時期と、前記経過時間交換データから求めた交換時期のいずれかが、交換時期を過ぎているかを判断することができる。これにより、前記稼働度が異なる場合であっても、適切に特装車作動油の交換時期を管理することができる。
【0008】
(2)本発明にかかる特装車作動油交換時期管理システムは、A)特装車に搭載された架装物に用いる作動油の交換時期を管理する特装車作動油交換時期管理システムであって、B)特装車、特装車管理サーバ、およびユーザ端末装置を備え、C)前記特装車は、下記c1)~c4)を有し、c1)前記架装物の動作制御を行う特装車車両側制御手段、c2)前記ユーザ端末装置と通信を行う通信手段、c3)前記架装物の稼働時間を計測する稼働時間計測手段、c4)前記計測された稼働時間を記憶する稼働時間記憶手段、D)前記特装車管理サーバは前記ユーザ端末装置とデータ通信を行う通信手段、を有しており、E)前記ユーザ端末装置は、前記特装車管理サーバとデータ通信を行う第1通信手段、および前記特装車の通信手段と通信を行う第2通信手段、を有しており、F)前記特装車管理サーバ、前記ユーザ端末装置、または前記特装車は、以下のいずれの手段を備えている。前記稼働度計測手段が計測した稼働時間および前記特装車についての前記経過時間交換データに基づいて、前記稼働時間を考慮した交換時期を算出する稼働度考慮交換時期算出手段、前記稼働度考慮交換時期に達したと判断した場合には、交換時期を過ぎていると報知する報知手段。
【0009】
このように、前記稼働度および前記特装車管理サーバから特装車についての前記経過時間交換データから、稼働度考慮交換時期を算出することにより、経過時間および稼働度を考慮した交換時期の経過を判断することができる。これにより、前記稼働度が異なる場合であっても、適切に特装車作動油の交換時期を管理することができる。
【0010】
(3)本発明にかかる特装車作動油交換時期管理システムにおいては、前記特装車は、車両駆動源の駆動力を走行状態から架装物稼働状態に切り換えるPTOスイッチを有しており、前記稼働度は、前記架装物の回転数であり、
前記稼働度計測手段は、前記PTOスイッチを前記架装物稼働状態に切り換えていた時間または前記架装物の回転数を前記架装物の稼働度として計測する。したがって、前記架装物が稼働する際に計測するため、より正確に稼働度を計測できる。
(【0011】以降は省略されています)
この特許をJ-PlatPat(特許庁公式サイト)で参照する
関連特許
極東開発工業株式会社
タンク車
18日前
極東開発工業株式会社
鉄道車両
19日前
極東開発工業株式会社
鉄道車両
19日前
極東開発工業株式会社
鉄道車両
19日前
極東開発工業株式会社
鉄道車両
19日前
極東開発工業株式会社
コンテナ
25日前
極東開発工業株式会社
塵芥収集車
2か月前
極東開発工業株式会社
給湯システム
25日前
極東開発工業株式会社
立体駐車装置
1か月前
極東開発工業株式会社
乾燥コンテナ
25日前
極東開発工業株式会社
バイオマス燃焼システム
25日前
極東開発工業株式会社
バイオマス燃焼システム
25日前
極東開発工業株式会社
バイオマス燃焼システム
25日前
極東開発工業株式会社
バイオマス燃焼システム
25日前
極東開発工業株式会社
バイオマス燃焼システム
25日前
極東開発工業株式会社
作業車両及びプログラム
5日前
極東開発工業株式会社
バイオマス燃焼システム及び燃料庫
25日前
極東開発工業株式会社
特装車作動油交換時期管理システム
5日前
極東開発工業株式会社
コンテナ装置、コンテナ及びベース
25日前
極東開発工業株式会社
車両システム、荷役車両及びプログラム
5日前
極東開発工業株式会社
車両システム、作業車両及びプログラム
5日前
個人
タイヤレバー
3か月前
個人
前輪キャスター
2か月前
個人
上部一体型自動車
1か月前
個人
ルーフ付きトライク
2か月前
個人
ホイルのボルト締結
4か月前
個人
空間形成装置
5日前
個人
タイヤ脱落防止構造
2か月前
日本精機株式会社
表示装置
3か月前
日本精機株式会社
表示装置
3か月前
日本精機株式会社
表示装置
3か月前
個人
車両通過構造物
3か月前
日本精機株式会社
表示装置
2か月前
個人
マスタシリンダ
1か月前
日本精機株式会社
照明装置
今日
個人
アクセルのソフトウェア
4か月前
続きを見る
他の特許を見る