TOP
|
特許
|
意匠
|
商標
特許ウォッチ
Twitter
他の特許を見る
公開番号
2025167774
公報種別
公開特許公報(A)
公開日
2025-11-07
出願番号
2024072679
出願日
2024-04-26
発明の名称
車載フロアマット
出願人
大伸工業株式会社
代理人
個人
主分類
B60N
3/04 20060101AFI20251030BHJP(車両一般)
要約
【課題】安定したペダル操作の実現および運転者における負担の軽減に資する車載フロアマットを提供する。
【解決手段】車載フロアマットは、運転席のフロアを覆う第1のマット本体11と、第1のマット本体11に対して着脱可能な第1のヒール支持パッド12と、運転席以外の座席のフロアを覆う第2のマット本体21と、第2のマット本体21に対して着脱可能な第2のヒール支持パッド22とを備える。第1のヒール支持パッド12と第2のヒール支持パッド22とは、第1のマット本体11と第2のマット本体21との間で交換して取付可能である。第2のヒール支持パッド22は、第1のヒール支持パッド12よりも大きな厚さ寸法を有し、第1のマット本体11に取り付けられた状態で、フットペダル101がその操作時に辿る軌跡の範囲外において、第1のマット本体11の上面よりも高い位置に踵載置面22mを形成する。
【選択図】図6
特許請求の範囲
【請求項1】
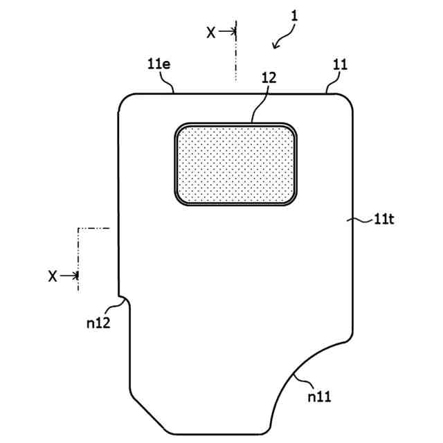
運転者が操作可能なフットペダルが設置された運転席のフロアを覆う第1のマット本体と、
前記第1のマット本体のうち、前記フットペダルを操作する前記運転者の踵を載置可能な位置に、前記第1のマット本体に対して着脱可能に取り付けられた第1のヒール支持パッドと、
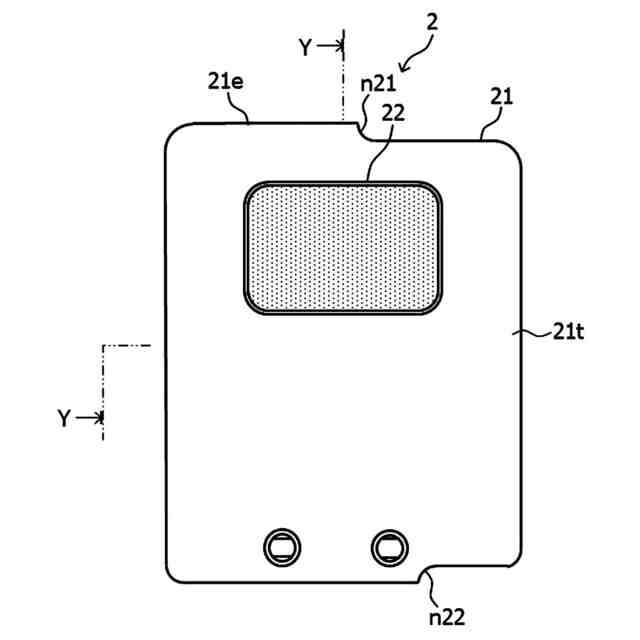
前記運転席以外の座席のフロアを覆う第2のマット本体と、
前記第2のマット本体に対して着脱可能に取り付けられた第2のヒール支持パッドとを備え、
前記第1のヒール支持パッドと前記第2のヒール支持パッドとは、前記第1のマット本体と前記第2のマット本体との間で交換して取り付け可能であり、
前記第2のヒール支持パッドは、
前記第1のヒール支持パッドよりも大きな厚さ寸法を有し、
前記第1のマット本体に取り付けられた状態で、前記フットペダルがその操作時に辿る軌跡の範囲外において、前記第1のマット本体の上面よりも高い位置に前記運転者の踵を載置する踵載置面を形成することを特徴とする、車載フロアマット。
続きを表示(約 830 文字)
【請求項2】
前記運転席以外の座席は、前記運転席の隣りに配置されている助手席であることを特徴とする、請求項1に記載の車載フロアマット。
【請求項3】
前記第1および第2のヒール支持パッドは、前記第1のマット本体に取り付けられた場合に、前記第1のマット本体の上面よりも高い位置に各々の前記踵載置面を形成することを特徴とする、請求項1に記載の車載フロアマット。
【請求項4】
前記第2のヒール支持パッドの厚さ寸法は、40mmから60mmであることを特徴とする、請求項1に記載の車載フロアマット。
【請求項5】
前記第2のヒール支持パッドは、前記第1のヒール支持パッドよりも大きな平面形状を有することを特徴とする、請求項1に記載の車載フロアマット。
【請求項6】
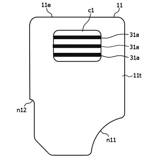
前記第1のマット本体は、
下層部と、表皮材を含む上層部とを有し、
前記上層部に第1の切欠きが形成されて、前記第1の切欠きに、前記第1のヒール支持パッドが取り付けられかつ前記第2のマット本体から取り外した前記第2のヒール支持パッドに交換取付可能な第1のパッド取付部が設けられ、
前記第2のマット本体は、
下層部と、表皮材を含む上層部とを有し、
前記上層部に第2の切欠きが形成されて、前記第2の切欠きに、前記第2のヒール支持パッドが取り付けられかつ前記第1のマット本体から取り外した前記第1のヒール支持パッドに交換取付可能な第2のパッド取付部が設けられていることを特徴とする、請求項1から5のいずれか一項に記載の車載フロアマット。
【請求項7】
前記第1および第2のパッド取付部に対する前記第1のヒール支持パッドの取り付けおよび前記第1および第2のパッド取付部に対する前記第2のヒール支持パッドの取り付けは、いずれも面ファスナによることを特徴とする、請求項6に記載の車載フロアマット。
発明の詳細な説明
【技術分野】
【0001】
本発明は、車載フロアマットに関する。
続きを表示(約 1,600 文字)
【背景技術】
【0002】
運転者は、自動車を運転する際の座席の位置(以下「シート位置」という)を、自身の好みや体型等に応じて調整する。シート位置をハンドルから近い位置に設定し、座席をハンドルに近付けて運転する運転者もいれば、シート位置をハンドルから遠い位置に設定し、座席をハンドルから離して運転する運転者もいる。
例えば、女性が運転する場合は、男性が運転する場合と比較して、身長の違いからシート位置を前方、つまり、ハンドルに近付けて設定する傾向にある。
【先行技術文献】
【特許文献】
【0003】
特開2020-066419号公報
【発明の概要】
【発明が解決しようとする課題】
【0004】
ハンドルから比較的近いシート位置を選択した場合に、運転者の体型によっては自身の足を伸ばすだけのフロアスペースが足元に確保されず、アクセルペダルおよびブレーキペダル等のフットペダルを、踵をフロアに付けた状態で操作するのが困難な状況が想定される。この場合に、運転者には、フットペダルの操作(以下「ペダル操作」という場合がある)に際して踵をフロアから浮かせ、足全体を上げ下げする動作が求められることから、安定したペダル操作が困難となるうえ、長時間の運転に疲労を伴うことが懸念される。
身長の低い女性が運転する場合は、シート位置が前方に設定され、前出した運転姿勢となることから、このような懸念がより顕著となる。足全体の上げ下げを伴う動作は、女性の運転者にとっては苦痛ですらあり、長時間の運転の妨げともなり得る。
【0005】
このような実情に鑑み、本発明は、安定したペダル操作の実現および運転者における負担の軽減に資する車載フロアマットを提供することを目的とする。
【課題を解決するための手段】
【0006】
請求項1に記載の発明は、運転者が操作可能なフットペダルが設置された運転席のフロアを覆う第1のマット本体と、前記第1のマット本体のうち、前記フットペダルを操作する前記運転者の踵を載置可能な位置に、前記第1のマット本体に対して着脱可能に取り付けられた第1のヒール支持パッドと、前記運転席以外の座席のフロアを覆う第2のマット本体と、前記第2のマット本体に対して着脱可能に取り付けられた第2のヒール支持パッドとを備える車載フロアマットであり、前記第1のヒール支持パッドと前記第2のヒール支持パッドとは、前記第1のマット本体と前記第2のマット本体との間で交換して取付可能であり、前記第2のヒール支持パッドは、前記第1のヒール支持パッドよりも大きな厚さ寸法を有し、前記第1のマット本体に取り付けられた状態で、前記フットペダルがその操作時に辿る軌跡の範囲外において、前記第1のマット本体の上面よりも高い位置に前記運転者の踵を載置する踵載置面を形成することを特徴とする。
【0007】
請求項2に記載の発明にあっては、前記運転席以外の座席が、前記運転席の隣りに配置されている助手席であることを特徴とする。
【0008】
請求項3に記載の発明にあっては、前記第1および第2のヒール支持パッドが、前記第1のマット本体に取り付けられた場合に、前記第1のマット本体の上面よりも高い位置に各々の前記踵載置面を形成することを特徴とする。
【0009】
請求項4に記載の発明にあっては、前記第2のヒール支持パッドの厚さ寸法が、40mmから60mmであることを特徴とする。
【0010】
請求項5に記載の発明にあっては、前記第2のヒール支持パッドが、前記第1のヒール支持パッドよりも大きな平面形状を有することを特徴とする。
(【0011】以降は省略されています)
この特許をJ-PlatPat(特許庁公式サイト)で参照する
関連特許
大伸工業株式会社
車載フロアマット
1か月前
個人
タイヤレバー
4か月前
個人
前輪キャスター
3か月前
個人
上部一体型自動車
2か月前
個人
ルーフ付きトライク
4か月前
個人
タイヤ脱落防止構造
3か月前
個人
空間形成装置
1か月前
個人
ホイルのボルト締結
5か月前
日本精機株式会社
表示装置
4か月前
個人
マスタシリンダ
2か月前
日本精機株式会社
表示装置
4か月前
日本精機株式会社
表示装置
3か月前
日本精機株式会社
表示装置
4か月前
個人
車両通過構造物
4か月前
日本精機株式会社
照明装置
1か月前
個人
乗合路線バスの客室装置
4か月前
個人
車両用スリップ防止装置
5か月前
個人
アクセルのソフトウェア
5か月前
個人
常設収納型サンバイザー
1か月前
日本精機株式会社
車載表示装置
2か月前
個人
円湾曲ホイール及び球体輪
4か月前
日本精機株式会社
車載表示装置
1か月前
株式会社豊田自動織機
産業車両
1か月前
日本精機株式会社
車載表示装置
1か月前
株式会社ニフコ
照明装置
3か月前
日本精機株式会社
画像投映装置
2か月前
株式会社ニフコ
収納装置
3か月前
日本精機株式会社
車室演出装置
3か月前
日本精機株式会社
車載表示装置
5か月前
個人
音声ガイド、音声サービス
4か月前
株式会社ニフコ
保持装置
5か月前
個人
回転窓ワイパー装置
1か月前
個人
車載小物入れ兼雨傘収納具
5か月前
日本精機株式会社
車載表示装置
1か月前
株式会社豊田自動織機
産業車両
4か月前
極東開発工業株式会社
車両
4か月前
続きを見る
他の特許を見る