TOP
|
特許
|
意匠
|
商標
特許ウォッチ
Twitter
他の特許を見る
公開番号
2025166756
公報種別
公開特許公報(A)
公開日
2025-11-06
出願番号
2024070978
出願日
2024-04-24
発明の名称
ガス発生器
出願人
日本化薬株式会社
代理人
個人
主分類
B60R
21/262 20110101AFI20251029BHJP(車両一般)
要約
【課題】ガスに含まれる残渣を効率よく取り除くことができるガス発生器を提供する。
【解決手段】ガス発生器100は、周壁部11を有する筒状のハウジング10と、ハウジング10に収容され、燃焼することによってガスを発生させるガス発生剤70と、ガス発生剤70を着火燃焼させることが可能な点火器30と、ハウジング10に収容され、ガスが通過するフィルタ80とを備え、周壁部11は、フィルタ80を通過したガスが流れる空間15においてハウジング10の内側に向かって突出する複数の凸部13と、空間15を流れるガスをハウジング10の外部に噴出するガス噴出口14とを有する。
【選択図】図1
特許請求の範囲
【請求項1】
周壁部を有する筒状のハウジングと、
前記ハウジングに収容され、燃焼することによってガスを発生させるガス発生剤と、
前記ガス発生剤を着火燃焼させることが可能な点火器と、
前記ハウジングに収容され、前記ガスが通過するフィルタと、
を備え、
前記周壁部は、前記フィルタを通過した前記ガスが流れるように前記周壁部と前記フィルタとの間に形成された第1空間において前記ハウジングの内側に向かって突出する1つ以上の第1凸部と、前記第1空間を流れる前記ガスを前記ハウジングの外部に噴出するガス噴出口とを有することを特徴とするガス発生器。
続きを表示(約 920 文字)
【請求項2】
前記1つ以上の第1凸部は、前記周壁部の周方向に並んで第1凸部列を構成する複数の第1凸部を含むことを特徴とする請求項1に記載のガス発生器。
【請求項3】
前記1つ以上の第1凸部は、前記周壁部の軸方向に異なる位置に設けられる複数の前記第1凸部列を構成することを特徴とする請求項2に記載のガス発生器。
【請求項4】
前記複数の第1凸部列のうち隣り合う2つの第1凸部列は、相互に、前記周壁部の周方向における前記複数の第1凸部の位置が異なることを特徴とする請求項3に記載のガス発生器。
【請求項5】
前記1つ以上の第1凸部は、前記フィルタと接触することを特徴とする請求項1から4のいずれか1項に記載のガス発生器。
【請求項6】
前記ガス噴出口は、前記周壁部の軸方向において、前記1つ以上の第1凸部よりも、前記第1空間において作動時に前記ガスが流れる場合の下流側に設けられることを特徴とする請求項1から4のいずれか1項に記載のガス発生器。
【請求項7】
前記ハウジングは、前記周壁部の軸方向の一方側の開口端部を閉塞する閉塞部を有し、
前記閉塞部は、前記フィルタを通過する前の前記ガスが流れる第2空間において前記ハウジングの内側に向かって突出する1つ以上の第2凸部を有することを特徴とする請求項1から4のいずれか1項に記載のガス発生器。
【請求項8】
周壁部、および前記周壁部の軸方向の一方側の開口端部を閉塞する閉塞部を有する筒状のハウジングと、
前記ハウジングに収容され、燃焼することによってガスを発生させるガス発生剤と、
前記ガス発生剤を着火燃焼させることが可能な点火器と、
前記ハウジングに収容され、前記ガスが通過するフィルタとを備え、
前記閉塞部は、前記フィルタを通過する前の前記ガスが流れる空間において前記ハウジングの内側に向かって突出する1つ以上の凸部を有し、
前記周壁部は、前記フィルタを通過した前記ガスを前記ハウジングの外部に噴出するガス噴出口を有することを特徴とするガス発生器。
発明の詳細な説明
【技術分野】
【0001】
本発明は、車両等衝突時に乗員を保護する乗員保護装置に組み込まれるガス発生器に関し、特に、自動車等に装備されるエアバッグ装置に組み込まれるガス発生器に関する。
続きを表示(約 1,100 文字)
【背景技術】
【0002】
従来、自動車等の乗員の保護の観点から、乗員保護装置であるエアバッグ装置が普及している。エアバッグ装置は、車両等衝突時に生じる衝撃から乗員を保護する目的で装備されるものであり、車両等衝突時に瞬時にエアバッグを膨張および展開させることにより、エアバッグがクッションとなって乗員の体を受け止めるものである。
【0003】
ガス発生器には、種々の構造のものが存在する。たとえば、特許文献1には、ハウジングの内壁面が内側に突起した凹部を有するガス発生器が開示されている。
【先行技術文献】
【特許文献】
【0004】
特開2010-184559号公報
【発明の概要】
【発明が解決しようとする課題】
【0005】
ところで、ガス発生剤によって発生したガスに含まれる残渣を効率よく取り除くことが望まれている。
【0006】
そこで、本発明は、このような事情に鑑みてなされたものであり、ガスに含まれる残渣を効率よく取り除くことができるガス発生器を提供することを目的とする。
【課題を解決するための手段】
【0007】
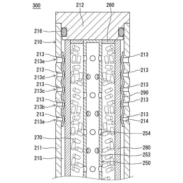
(1) 本発明のガス発生器は、周壁部を有する筒状のハウジングと、前記ハウジングに収容され、燃焼することによってガスを発生させるガス発生剤と、前記ガス発生剤を着火燃焼させることが可能な点火器と、前記ハウジングに収容され、前記ガスが通過するフィルタと、を備え、前記周壁部は、前記フィルタを通過した前記ガスが流れるように前記周壁部と前記フィルタとの間に形成された第1空間において前記ハウジングの内側に向かって突出する1つ以上の第1凸部と、前記第1空間を流れる前記ガスを前記ハウジングの外部に噴出するガス噴出口とを有することを特徴とする。
【0008】
(2) 上記(1)のガス発生器においては、前記1つ以上の第1凸部は、前記周壁部の周方向に並んで第1凸部列を構成する複数の第1凸部を含むことが好ましい。
【0009】
(3) 上記(2)のガス発生器においては、前記1つ以上の第1凸部は、前記周壁部の軸方向に異なる位置に設けられる複数の前記第1凸部列を構成することが好ましい。
【0010】
(4) 上記(3)のガス発生器においては、前記複数の第1凸部列のうち隣り合う2つの第1凸部列は、相互に、前記周壁部の周方向における前記複数の第1凸部の位置が異なることが好ましい。
(【0011】以降は省略されています)
この特許をJ-PlatPat(特許庁公式サイト)で参照する
関連特許
日本化薬株式会社
インク
1か月前
日本化薬株式会社
ガス発生器
5日前
日本化薬株式会社
ガス発生器
2か月前
日本化薬株式会社
ガス発生器
5日前
日本化薬株式会社
ガス発生器
1か月前
日本化薬株式会社
ガス発生器
2か月前
日本化薬株式会社
ガス発生器
7日前
日本化薬株式会社
ガス発生器
14日前
日本化薬株式会社
インクセット
1か月前
日本化薬株式会社
前処理組成物
2か月前
日本化薬株式会社
ガス発生剤組成物
1か月前
日本化薬株式会社
インク組成物及び捺染方法
2か月前
日本化薬株式会社
ガス発生器およびその製造方法
2か月前
日本化薬株式会社
プリテンショナー用ガス発生装置
2か月前
日本化薬株式会社
直鎖ブテン製造用触媒及びその使用
1か月前
日本化薬株式会社
アクチュエータ、安全装置、および、飛行体
1か月前
日本化薬株式会社
フィルタ、およびフィルタを備えるガス発生器
7日前
日本化薬株式会社
メタクロレイン及び/又はメタクリル酸の製造用触媒
2か月前
富士フィルター工業株式会社
フィルタ、及びガス発生器
1か月前
日本化薬株式会社
アントラキノン化合物を含有する液晶組成物及び調光素子
2か月前
日本化薬株式会社
画像表示システム及びヘッドアップディスプレイシステム
1か月前
日本化薬株式会社
ガス発生器
2か月前
日本化薬株式会社
インクジェット捺染用白色顔料インク組成物、及びインクセット
1か月前
日本化薬株式会社
インクジェット用インク、インクセット、インクジェット記録方法
1か月前
日本化薬株式会社
液晶滴下工法用液晶シール剤の製造方法、及び液晶表示パネルの製造方法
2か月前
国立大学法人北海道大学
触媒及びそれを用いた不飽和カルボン酸の製造方法
2か月前
日本化薬株式会社
アゾ化合物又はその塩、並びにそれらを含有する偏光膜、偏光板及び表示装置
2か月前
日本化薬株式会社
安全装置、および、安全装置を備えた飛行体
1か月前
日本化薬株式会社
縮合多環芳香族化合物、有機半導体材料、光電変換素子用材料、有機薄膜、及び有機光電変換素子
2か月前
個人
タイヤレバー
4か月前
個人
前輪キャスター
3か月前
個人
上部一体型自動車
2か月前
個人
ルーフ付きトライク
4か月前
個人
タイヤ脱落防止構造
3か月前
個人
ホイルのボルト締結
5か月前
個人
空間形成装置
1か月前
続きを見る
他の特許を見る