TOP
|
特許
|
意匠
|
商標
特許ウォッチ
Twitter
他の特許を見る
公開番号
2025145851
公報種別
公開特許公報(A)
公開日
2025-10-03
出願番号
2024046311
出願日
2024-03-22
発明の名称
プリテンショナー用ガス発生装置
出願人
日本化薬株式会社
代理人
弁理士法人深見特許事務所
主分類
C06D
5/00 20060101AFI20250926BHJP(火薬;マッチ)
要約
【課題】シートベルトに用いるプリテンショナーに組み込まれるガス発生装置であって、プリテンショナーが備えるワイヤーの破断を抑制するガス発生装置を提供する。
【解決手段】シートベルトに用いる、プリテンショナー用ガス発生装置であって、
ワイヤーを引き込むためのガスを発生させるガス発生剤を備えるガス発生部と、
前記ガス発生剤を燃焼させるための点火薬を備える点火部と、を有し、
前記プリテンショナー用ガス発生装置は、容積が10ccの密閉タンク内において、
最大圧力が40MPa以上60MPa以下であり、
最大圧力の半分の圧力に達する時間が、前記プリテンショナー用ガス発生装置の作動開始時点から起算して1.7msec以下である、プリテンショナー用ガス発生装置。
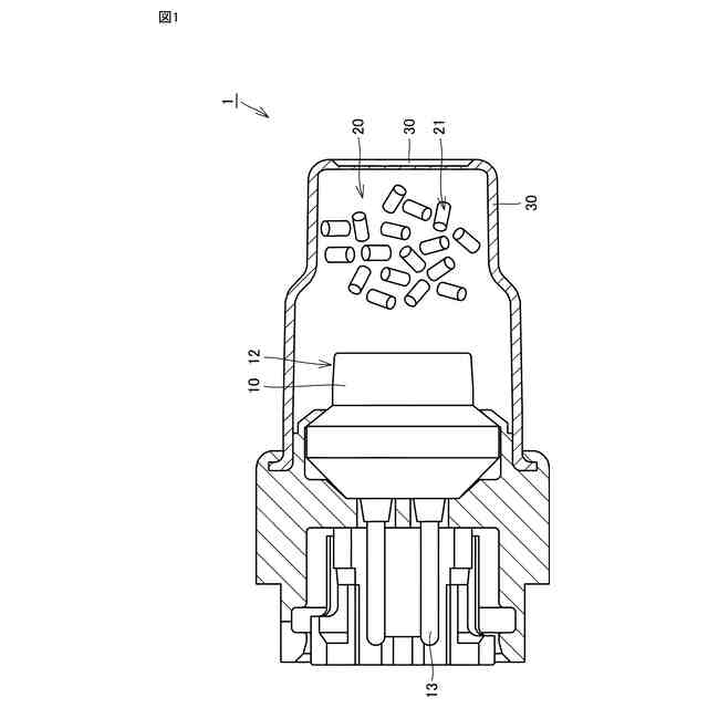
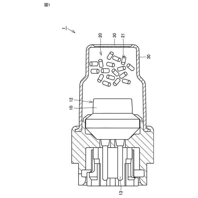
【選択図】図1
特許請求の範囲
【請求項1】
シートベルトに用いる、プリテンショナー用ガス発生装置であって、
ワイヤーを引き込むためのガスを発生させるガス発生剤を備えるガス発生部と、
前記ガス発生剤を燃焼させるための点火薬を備える点火部と、を有し、
前記プリテンショナー用ガス発生装置は、容積が10ccの密閉タンク内において、
最大圧力が40MPa以上60MPa以下であり、
最大圧力の半分の圧力に達する時間が、前記プリテンショナー用ガス発生装置の作動開始時点から起算して1.7msec以下である、プリテンショナー用ガス発生装置。
続きを表示(約 410 文字)
【請求項2】
シートベルトに用いるプリテンショナー用ガス発生装置であって、
ワイヤーを引き込むためのガスを発生させるガス発生剤を備えるガス発生部と、
前記ガス発生剤を燃焼させるための点火薬を備える点火部と、を有し、
前記点火薬を燃焼することにより発生する熱量は、前記ガス発生剤を燃焼することにより発生する熱量に対して、13%以上である、プリテンショナー用ガス発生装置。
【請求項3】
前記ガス発生剤は、混合火薬を含む請求項1または請求項2に記載のプリテンショナー用ガス発生装置。
【請求項4】
前記混合火薬は、硝酸グアニジンと、ニトログアニジン、及び5-アミノテトラゾールからなる群より選択される少なくとも1種類の化合物と、過塩素酸塩及び硝酸塩からなる群より選択される少なくとも1種類の酸化剤と、バインダと、を含む請求項3に記載のプリテンショナー用ガス発生装置。
発明の詳細な説明
【技術分野】
【0001】
本開示は、シートベルトに用いるプリテンショナー用ガス発生装置に関する。
続きを表示(約 1,700 文字)
【背景技術】
【0002】
従来、自動車等の乗員を保護する観点から、乗員保護装置であるシートベルト装置が普及している。シートベルト装置は、車両等衝突時に生じる衝撃から乗員を保護する目的で装備されるものであり、乗員の身体にベルトを巻き付けることで乗員を座席に拘束するものである。これにより、車両等衝突時に乗員が車内や車外に投げ出されることなどが防止される。
【0003】
シートベルト装置のうち、いわゆるプリテンショナーを備えたものには、マイクロガスジェネレーターと称される小型のガス発生装置が組み込まれる。プリテンショナーは、衣服の厚み等によって生じるシートベルトの緩みを、車両等の衝突が検知された場合に瞬時に巻き上げる装置であり、このような機能は、ガス発生装置から出力されるガスの圧力により、シートベルトの一端が強く引き込まれることで実現される。
【0004】
ガス発生装置に搭載されるガス発生部には、大量のガスを発生させるガス発生剤が装填され、従来から種々の組成が検討されてきた。当該ガス発生剤には、ニトロセルロースを主成分とする、無煙火薬が利用されてきた。
【0005】
ただし、無煙火薬は、大量のガスを生成することに優れている一方で、一酸化炭素等の有害物質も共に生成するという課題を有している。特に、ラップ・プリテンショナーに組み込まれるガス発生装置は、シートベルトの一端につながれているワイヤーを、ガス発生装置内の圧力容器に貫通する形態で保持しているため、圧力容器中に隙間が生じる。このため、プリテンショナーに組み込むガス発生装置に無煙火薬を採用すると、ガスを発生させた際に、圧力容器中の隙間から、一酸化炭素が漏れ出す可能性がある。
【0006】
そこで、近年においては、ガス発生剤として、一酸化炭素等の有害物質の生成量が極めて少ない非ニトロセルロース系ガス発生剤を利用することが注目されている。例えば、燃料として硝酸グアニジン、酸化剤として塩基性金属硝酸塩を含めたガス発生剤や(特許文献1)、グアニジン化合物と、硝酸アンモニウム及び水分散性ポリマーを含有する硝酸アンモニウム粒状物と、を含有するガス発生剤組成物(特許文献2)である。
【先行技術文献】
【特許文献】
【0007】
特開2022-59557号公報
特開2016-216322号公報
【発明の概要】
【発明が解決しようとする課題】
【0008】
一方で、非ニトロセルロース系ガス発生剤を用いたガス発生装置をプリテンショナーに組み込んで作動させた試験においては、遅れ着火モードと呼ばれる、ベルトがロックされた状態で、ワイヤーが引き込めなくなることを想定した試験形態において、ワイヤーが破断する不具合が確認されることがあった。この原因は、非ニトロセルロース系ガス発生剤の発熱量が高く、無煙火薬と比較してワイヤーが高温に達するためである。
【0009】
そこで、本発明では、シートベルトに用いるプリテンショナーに組み込まれるガス発生装置であって、プリテンショナーが備えるワイヤーの破断を抑制するガス発生装置を提供する。
【課題を解決するための手段】
【0010】
本発明は以下のプリテンショナー用ガス発生装置を提供する。
(1)シートベルトに用いるプリテンショナー用ガス発生装置であって、
ワイヤーを引き込むためのガスを発生させるガス発生剤を備えるガス発生部と、
前記ガス発生剤を燃焼させるための点火薬を備える点火部と、を有し、
前記プリテンショナー用ガス発生装置は、容積が10ccの密閉タンク内において、
最大圧力が40MPa以上60MPa以下であり、
最大圧力の半分の圧力に達する時間が、前記プリテンショナー用ガス発生装置の作動開始時点から起算して1.7msec以下である、プリテンショナー用ガス発生装置。
(【0011】以降は省略されています)
この特許をJ-PlatPat(特許庁公式サイト)で参照する
関連特許
日本化薬株式会社
インク
24日前
日本化薬株式会社
ガス発生器
13日前
日本化薬株式会社
ガス発生器
1か月前
日本化薬株式会社
ガス発生器
1か月前
日本化薬株式会社
ガス発生器
11日前
日本化薬株式会社
前処理組成物
10日前
日本化薬株式会社
インク組成物
24日前
日本化薬株式会社
防護システム
21日前
日本化薬株式会社
メタノール改質触媒
1か月前
日本化薬株式会社
インク組成物及び捺染方法
10日前
日本化薬株式会社
ガス発生器およびその製造方法
19日前
日本化薬株式会社
プリテンショナー用ガス発生装置
17日前
日本化薬株式会社
インクジェットインク印刷物の製造方法。
24日前
日本化薬株式会社
アクチュエータ、安全装置、および、飛行体
5日前
日本化薬株式会社
インクジェット記録装置用水系顔料インクセット
1か月前
日本化薬株式会社
メタクロレイン及び/又はメタクリル酸の製造用触媒
10日前
日本化薬株式会社
アントラキノン化合物を含有する液晶組成物及び調光素子
12日前
日本化薬株式会社
アントラキノン化合物を含有する液晶組成物及び調光素子
25日前
日本化薬株式会社
アントラキノン化合物を含有する液晶組成物及び調光素子
25日前
日本化薬株式会社
画像表示システム及びヘッドアップディスプレイシステム
6日前
日本化薬株式会社
アントラキノン化合物を含有する液晶組成物及び調光素子
1か月前
日本化薬株式会社
ガス発生器
21日前
日本化薬株式会社
インクジェット捺染用白色顔料インク組成物、及びインクセット
6日前
日本化薬株式会社
インクジェット用インク、インクセット、インクジェット記録方法
6日前
日本化薬株式会社
水系インク組成物、水系インクセット及びインクジェット記録方法
1か月前
日本化薬株式会社
液晶滴下工法用液晶シール剤の製造方法、及び液晶表示パネルの製造方法
11日前
国立大学法人北海道大学
触媒及びそれを用いた不飽和カルボン酸の製造方法
11日前
日本化薬株式会社
アゾ化合物又はその塩、並びにそれらを含有する偏光膜、偏光板及び表示装置
11日前
日本化薬株式会社
縮合多環芳香族化合物、有機半導体材料、光電変換素子用材料、有機薄膜、及び有機光電変換素子
10日前
日本化薬株式会社
プリテンショナー用ガス発生装置
17日前
キヤノン株式会社
電子機器およびアクセサリ
1か月前
ヤンセン バイオテツク,インコーポレーテツド
グルコース依存性ミトコンドリア呼吸及び二相インスリン分泌応答を示すヒト多能性幹細胞由来の機能的ベータ細胞の生成
2か月前
他の特許を見る