TOP
|
特許
|
意匠
|
商標
特許ウォッチ
Twitter
他の特許を見る
公開番号
2025134586
公報種別
公開特許公報(A)
公開日
2025-09-17
出願番号
2024032589
出願日
2024-03-04
発明の名称
ガス発生器
出願人
日本化薬株式会社
代理人
個人
主分類
B60R
21/264 20060101AFI20250909BHJP(車両一般)
要約
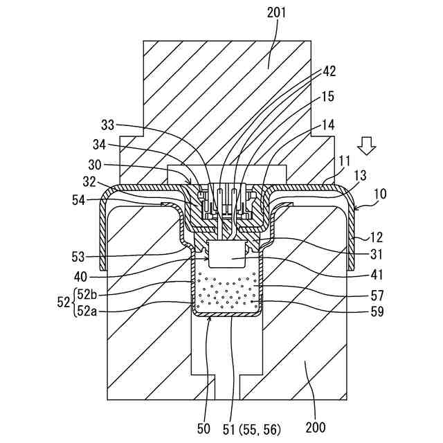
【課題】リーク検査を容易に行うことができるガス発生器を提供する。
【解決手段】ディスク型ガス発生器100は、燃焼することによってガスを発生するガス発生剤61とリーク検査用のアルゴンガスとが収容されている燃焼室60を内部に有するハウジングと、ガス発生剤61を着火燃焼させる点火器40と、を備えている。リーク検査用のアルゴンガスが燃焼室60に収容されているので、ディスク型ガス発生器100のリークテストを容易に行うことができる。
【選択図】図1
特許請求の範囲
【請求項1】
燃焼することによってガスを発生するガス発生剤と、リーク検査用のアルゴンガスとが収容されている燃焼室を内部に有するハウジングと、
前記ガス発生剤を着火燃焼させる点火器と、
を備えていることを特徴とするガス発生器。
続きを表示(約 53 文字)
【請求項2】
前記アルゴンガスは、常圧であることを特徴とする請求項1に記載のガス発生器。
発明の詳細な説明
【技術分野】
【0001】
本発明は、車両等衝突時に乗員を保護する乗員保護装置に組み込まれるガス発生器に関し、特に、自動車等に装備されるエアバッグ装置に組み込まれるガス発生器に関する。
続きを表示(約 1,100 文字)
【背景技術】
【0002】
従来、自動車等の乗員の保護の観点から、乗員保護装置であるエアバッグ装置が普及している。エアバッグ装置は、車両等衝突時に生じる衝撃から乗員を保護する目的で装備されるものであり、車両等衝突時に瞬時にエアバッグを膨張および展開させることにより、エアバッグがクッションとなって乗員の体を受け止めるものである。
【0003】
ガス発生器には、種々の構造のものが存在するが、運転席側エアバッグ装置や助手席側エアバッグ装置等に、特に好適に利用できるガス発生器として、外径が比較的大きい短尺略円柱状のディスク型ガス発生器がある。
【0004】
ディスク型ガス発生器は、軸方向の両端が閉塞された短尺略円筒状のハウジングを有し、ハウジングの周壁部に複数のガス噴出口が設けられるとともに、ハウジングに組付けられた点火器に面するようにハウジングの内部に伝火薬が収容され、さらに当該伝火薬を囲うようにハウジングの内部にガス発生剤が充填され、当該ガス発生剤の周囲をさらに囲うようにフィルタがハウジングの内部に収容されてなるものである。
【0005】
たとえば特許文献1には、ガス排出口を有するハウジング内が隔壁により第1室と第2室に分離されており、第1室と第2室のそれぞれにガス源が充填されているガス発生器が開示されている。
【先行技術文献】
【特許文献】
【0006】
特開2018-012418号公報
【発明の概要】
【発明が解決しようとする課題】
【0007】
上記特許文献1のガス発生器では、ガス源として加圧ガスが用いられる場合があるが、当該加圧ガスはリーク検査用のガスではなく、リーク検査を行うことが困難であるという問題がある。
【0008】
そこで、本発明は、このような事情に鑑みてなされたものであり、リーク検査を容易に行うことができるガス発生器を提供することを目的とする。
【課題を解決するための手段】
【0009】
(1) 本発明のガス発生器は、燃焼することによってガスを発生するガス発生剤とリーク検査用のアルゴンガスとが収容されている燃焼室を内部に有するハウジングと、前記ガス発生剤を着火燃焼させる点火器と、を備えていることを特徴とする。
【0010】
(2) 上記(1)のガス発生器において、前記アルゴンガスは、常圧であることが好ましい。
【発明の効果】
(【0011】以降は省略されています)
この特許をJ-PlatPat(特許庁公式サイト)で参照する
関連特許
日本化薬株式会社
インク
1か月前
日本化薬株式会社
インク
1日前
日本化薬株式会社
ガス発生器
1か月前
日本化薬株式会社
ガス発生器
2日前
日本化薬株式会社
ガス発生器
1か月前
日本化薬株式会社
ガス発生器
1か月前
日本化薬株式会社
前処理組成物
29日前
日本化薬株式会社
インク組成物
1か月前
日本化薬株式会社
防護システム
1か月前
日本化薬株式会社
インクセット
1日前
日本化薬株式会社
ガス発生剤組成物
1日前
日本化薬株式会社
メタノール改質触媒
1か月前
日本化薬株式会社
インク組成物及び捺染方法
29日前
日本化薬株式会社
ガス発生器およびその製造方法
1か月前
日本化薬株式会社
プリテンショナー用ガス発生装置
1か月前
日本化薬株式会社
直鎖ブテン製造用触媒及びその使用
9日前
日本化薬株式会社
インクジェットインク印刷物の製造方法。
1か月前
日本化薬株式会社
アクチュエータ、安全装置、および、飛行体
24日前
日本化薬株式会社
インクジェット記録装置用水系顔料インクセット
1か月前
日本化薬株式会社
メタクロレイン及び/又はメタクリル酸の製造用触媒
29日前
日本化薬株式会社
アントラキノン化合物を含有する液晶組成物及び調光素子
1か月前
日本化薬株式会社
アントラキノン化合物を含有する液晶組成物及び調光素子
1か月前
富士フィルター工業株式会社
フィルタ、及びガス発生器
1日前
日本化薬株式会社
画像表示システム及びヘッドアップディスプレイシステム
25日前
日本化薬株式会社
アントラキノン化合物を含有する液晶組成物及び調光素子
1か月前
日本化薬株式会社
ガス発生器
1か月前
日本化薬株式会社
インクジェット捺染用白色顔料インク組成物、及びインクセット
25日前
日本化薬株式会社
水系インク組成物、水系インクセット及びインクジェット記録方法
1か月前
日本化薬株式会社
インクジェット用インク、インクセット、インクジェット記録方法
25日前
日本化薬株式会社
液晶滴下工法用液晶シール剤の製造方法、及び液晶表示パネルの製造方法
1か月前
日本化薬株式会社
アゾ化合物又はその塩、並びにそれらを含有する偏光膜、偏光板及び表示装置
1か月前
国立大学法人北海道大学
触媒及びそれを用いた不飽和カルボン酸の製造方法
1か月前
日本化薬株式会社
安全装置、および、安全装置を備えた飛行体
9日前
日本化薬株式会社
縮合多環芳香族化合物、有機半導体材料、光電変換素子用材料、有機薄膜、及び有機光電変換素子
29日前
個人
カーテント
5か月前
個人
タイヤレバー
3か月前
続きを見る
他の特許を見る