TOP
|
特許
|
意匠
|
商標
特許ウォッチ
Twitter
他の特許を見る
10個以上の画像は省略されています。
公開番号
2025141966
公報種別
公開特許公報(A)
公開日
2025-09-29
出願番号
2025098125,2021196550
出願日
2025-06-11,2021-12-02
発明の名称
ガス発生器
出願人
日本化薬株式会社
代理人
個人
主分類
B60R
21/264 20060101AFI20250919BHJP(車両一般)
要約
【課題】従来よりも軽量化及び部品の簡易化によるコスト削減がなされたガス発生器を得る。
【解決手段】ガス発生器100は、長尺略円柱状の外形を有しており、ハウジング10と、ハウジング10の一方の開口端に取付けられているホルダ20と、ホルダ20に保持され、ガス発生剤31を点火する点火器50と、カップ部材32と、フィルタ41と、を含んでいる。カップ部材32にフィルタ41の一端部を嵌挿した状態でハウジング10内に設置した後、カップ部材32の筒状部32a周面の一部に対応する部分のハウジング10の周壁10bを径方向内側に縮径させて、環状溝部32a1および環状溝部41bを形成することにより、ハウジング10およびフィルタ41に対するカップ部材32のかしめ固定が行なわれている。
【選択図】図1
特許請求の範囲
【請求項1】
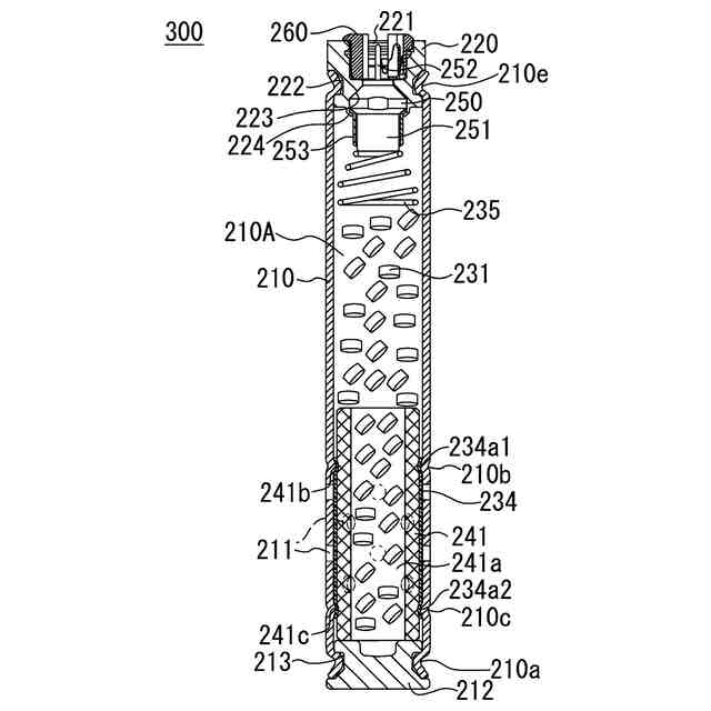
燃焼することによってガスを発生させるガス発生剤が装填され、前記ガスが通過するフィルタを内部に含み、前記フィルタに対応する位置に前記ガスを噴出するガス噴出口が形成されている長尺筒状のハウジングと、
前記ガス発生剤を着火燃焼させることが可能な点火器と、
前記点火器の一部が保持され、前記ハウジングの軸方向の一端部に固定されているホルダと、
前記ハウジングの軸方向の他端部に固定されている閉塞部材と、
前記ハウジング内において、前記フィルタと接触し、前記フィルタの位置を決めることに用いることが可能な位置決め部材と、
を備え、
前記位置決め部材は、少なくとも前記ハウジングの内壁形状に倣った形状の筒状部を有しており、
前記位置決め部材に接触している前記フィルタが前記ガス噴出口に対応する位置に位置決め可能となるように、前記筒状部は、前記ハウジングの外側から行われる縮径加工によって前記ハウジングとともに変形させることにより、前記ハウジングの内壁の所定箇所に固定されているものであることを特徴とするガス発生器。
続きを表示(約 910 文字)
【請求項2】
燃焼することによってガスを発生させるガス発生剤が装填され、前記ガスが通過する筒状のフィルタを内部に含み、前記フィルタに対応する位置に前記ガスを噴出するガス噴出口が形成されている長尺筒状のハウジングと、
前記ガス発生剤を着火燃焼させることが可能な点火器と、
前記点火器の一部が保持され、前記ハウジングの軸方向の一端部に固定されているホルダと、
前記ハウジングの軸方向の他端部に固定されている閉塞部材と、
前記ハウジングの内部に設けられ、前記フィルタの軸方向の前記点火器側の端部と接触し、前記フィルタの位置を決めることに用いることが可能な位置決め部材と、
を備え、
前記位置決め部材は、少なくとも前記ハウジングの内壁形状に倣った形状の筒状部を有しており、
前記位置決め部材に接触している前記フィルタが前記ガス噴出口に対応する位置に位置決め可能となるように、前記筒状部は、前記ハウジングの外側から行われる溶接加工によって前記ハウジングの内壁の所定箇所に固定されているものであり、
前記閉塞部材は、
板状または断面が凸形状の部材であって、前記ハウジングの軸方向の他端部を閉塞するようにかつ前記ハウジングの軸方向と直交する方向の幅が前記ハウジングの内径以下となるように形成されたものであり、
一端部側が前記ハウジング内において前記フィルタの他端部に接触するように配設され位置決めされており、前記閉塞部材を前記フィルタ側に押し込むことになるように他端部側において前記ハウジングを縮径加工することによって、前記ハウジングと前記フィルタとの間に固定される部材である
ことを特徴とするガス発生器。
【請求項3】
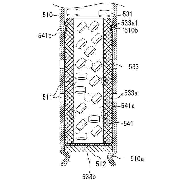
前記位置決め部材は、筒部が前記フィルタと反対側に設けられ、底部が前記フィルタと接触している短尺の有底筒状のカップ部材であり、
前記溶接加工によって前記筒部を前記ハウジングの内壁に接着することによって、前記カップ部材を前記ハウジングに固定させたものであることを特徴とする請求項2に記載のガス発生器。
発明の詳細な説明
【技術分野】
【0001】
本発明は、自動車等に搭載される乗員保護装置としてのエアバッグ装置に組み込まれるガス発生器に関し、より特定的には、長尺円筒状の形状を有するいわゆるシリンダ型のガス発生器に関する。
続きを表示(約 1,700 文字)
【背景技術】
【0002】
シリンダ型のガス発生器における長尺円筒状のハウジングは、閉塞部材で一端が閉塞され、他端が点火部を有したホルダで閉塞される構成となることが一般的である(例えば、下記特許文献1参照)。
【先行技術文献】
【特許文献】
【0003】
特許第5455932号公報
【発明の概要】
【発明が解決しようとする課題】
【0004】
しかしながら、上記特許文献に代表されるガス発生器については、さらなる軽量化及び部品の簡易化によるコスト削減が望まれている。
【0005】
そこで、本発明は、従来よりも軽量化及び部品の簡易化によるコスト削減がなされたガス発生器を提供することを目的とする。
【課題を解決するための手段】
【0006】
(1) 本発明のガス発生器は、燃焼することによってガスを発生させるガス発生剤が装填され、前記ガスが通過するフィルタを内部に含み、前記フィルタに対応する位置に前記ガスを噴出するガス噴出口が形成されている長尺筒状のハウジングと、前記ガス発生剤を着火燃焼させることが可能な点火器と、前記点火器の一部が保持され、前記ハウジングの軸方向の一端部に固定されているホルダと、前記ハウジングの軸方向の他端部に固定されている閉塞部材と、前記ハウジング内において、前記フィルタと接触し、前記フィルタの位置を決めることに用いることが可能な位置決め部材と、を備え、前記位置決め部材は、少なくとも前記ハウジングの内壁形状に倣った形状の筒状部を有しており、前記位置決め部材に接触している前記フィルタが前記ガス噴出口に対応する位置に位置決め可能となるように、前記筒状部は、前記ハウジングの外側から行われる溶接加工または縮径加工によって前記ハウジングの内壁の所定箇所に固定されているものであることを特徴とする。
【0007】
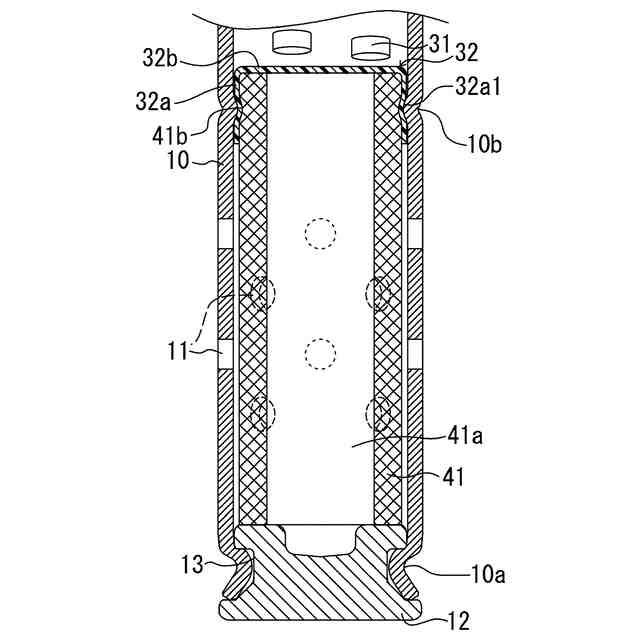
(2) 上記(1)のガス発生器において、前記位置決め部材は、前記フィルタの一端部側を覆う短尺の有底筒状のカップ部材であり、前記カップ部材および前記フィルタの各側面部を前記ハウジングとともに外部側から縮径加工することによって、前記カップ部材および前記フィルタを前記ハウジングとともに変形させて、前記カップ部材を介して前記ハウジングに前記フィルタを固定させたものであることが好ましい。
【0008】
(3) 上記(1)のガス発生器において、前記位置決め部材は、前記フィルタの軸方向長さよりも短く、かつ、前記ハウジング内において前記ガス噴出口を閉塞する管状部材であり、前記管状部材および前記フィルタの各側面部のうち前記ガス噴出口が形成されている領域よりも前記点火器側の位置、および、前記管状部材および前記フィルタの各側面部のうち前記ガス噴出口が形成されている領域よりも前記閉塞部材側の位置、のそれぞれにおいて、前記ハウジングとともに外部側から縮径加工することによって、前記管状部材および前記フィルタを前記ハウジングとともに変形させて、前記管状部材を介して前記ハウジングに前記フィルタを固定させたものであってもよい。
【0009】
(4) 上記(1)のガス発生器において、前記位置決め部材は、筒部が前記フィルタと反対側に設けられ、底部が前記フィルタと接触している短尺の有底筒状のカップ部材であり、前記溶接加工によって前記筒部を前記ハウジングの内壁に接着することによって、前記カップ部材を前記ハウジングに固定させたものであってもよい。
【0010】
(5) 上記(2)~(4)のガス発生器において、前記閉塞部材は、一端部側が前記ハウジング内において前記フィルタの他端部に接触するように配設され位置決めされており、前記閉塞部材を前記フィルタ側に押し込むことになるように他端部側において前記ハウジングを縮径加工することによって、前記ハウジングと前記フィルタとの間に固定される部材であることが好ましい。
(【0011】以降は省略されています)
この特許をJ-PlatPat(特許庁公式サイト)で参照する
関連特許
日本化薬株式会社
インク
28日前
日本化薬株式会社
ガス発生器
1か月前
日本化薬株式会社
ガス発生器
1か月前
日本化薬株式会社
ガス発生器
15日前
日本化薬株式会社
ガス発生器
17日前
日本化薬株式会社
前処理組成物
14日前
日本化薬株式会社
インク組成物
28日前
日本化薬株式会社
防護システム
25日前
日本化薬株式会社
メタノール改質触媒
1か月前
日本化薬株式会社
インク組成物及び捺染方法
14日前
日本化薬株式会社
ガス発生器及びエアバッグ装置
1か月前
日本化薬株式会社
ガス発生器およびその製造方法
23日前
日本化薬株式会社
プリテンショナー用ガス発生装置
21日前
日本化薬株式会社
ガス発生器およびガス発生器の製造方法
1か月前
日本化薬株式会社
インクジェットインク印刷物の製造方法。
28日前
日本化薬株式会社
アクチュエータ、安全装置、および、飛行体
9日前
日本化薬株式会社
安全装置、および、安全装置を備えた飛行体
1か月前
日本化薬株式会社
インクジェット記録装置用水系顔料インクセット
1か月前
日本化薬株式会社
メタクロレイン及び/又はメタクリル酸の製造用触媒
14日前
日本化薬株式会社
アントラキノン化合物を含有する液晶組成物及び調光素子
1か月前
日本化薬株式会社
アントラキノン化合物を含有する液晶組成物及び調光素子
1か月前
日本化薬株式会社
アントラキノン化合物を含有する液晶組成物及び調光素子
1か月前
日本化薬株式会社
アントラキノン化合物を含有する液晶組成物及び調光素子
1か月前
日本化薬株式会社
画像表示システム及びヘッドアップディスプレイシステム
10日前
日本化薬株式会社
アントラキノン化合物を含有する液晶組成物及び調光素子
16日前
日本化薬株式会社
アントラキノン化合物を含有する液晶組成物及び調光素子
29日前
日本化薬株式会社
アントラキノン化合物を含有する液晶組成物及び調光素子
29日前
日本化薬株式会社
ガス発生器
25日前
日本化薬株式会社
硬化性高分子化合物、該化合物を含む樹脂組成物、及び硬化物
1か月前
日本化薬株式会社
インクジェット捺染用白色顔料インク組成物、及びインクセット
10日前
日本化薬株式会社
水系インク組成物、水系インクセット及びインクジェット記録方法
1か月前
日本化薬株式会社
インクジェット用インク、インクセット、インクジェット記録方法
10日前
日本化薬株式会社
液晶滴下工法用液晶シール剤の製造方法、及び液晶表示パネルの製造方法
15日前
日本化薬株式会社
アゾ化合物又はその塩、並びにそれらを含有する偏光膜、偏光板及び表示装置
15日前
国立大学法人北海道大学
触媒及びそれを用いた不飽和カルボン酸の製造方法
15日前
日本化薬株式会社
トリアジン構造を有する化合物、該化合物を含有する組成物、及び半導体素子。
1か月前
続きを見る
他の特許を見る