TOP
|
特許
|
意匠
|
商標
特許ウォッチ
Twitter
他の特許を見る
10個以上の画像は省略されています。
公開番号
2025143636
公報種別
公開特許公報(A)
公開日
2025-10-02
出願番号
2024042961
出願日
2024-03-19
発明の名称
車両用灯具
出願人
株式会社小糸製作所
代理人
個人
主分類
B60Q
1/115 20060101AFI20250925BHJP(車両一般)
要約
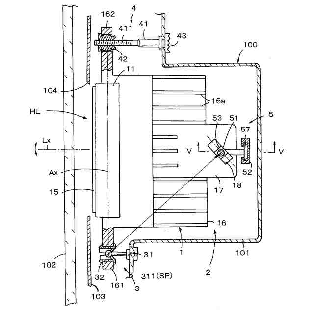
【課題】ランプユニットの照射レンズの上下方向の移動量を抑制し、かつランプユニットを安定に保持してランプ光軸の安定性を高めたエイミング装置を備えた車両用灯具を提供する。
【解決手段】光源12の光を前方に向けて照射する照射レンズ15と、照射レンズ15を支持するレンズホルダ11と、光源12とレンズホルダ11を支持する放熱部16とを有するランプユニット1と、ランプユニット1を傾動してランプ光軸の角度を調整するエイミング装置2を備える。エイミング装置2は、光源12から照射レンズ15の間に配設されてランプユニット1を傾動可能に支持する支点部3と、光源12より後方に配置され、支点部3を支点にしてランプユニット1を上下方向に傾動する上下角度調整部5を備える。
【選択図】図3
特許請求の範囲
【請求項1】
ランプハウジングに内装され、光源の光を前方に向けて照射する照射レンズと、当該照射レンズを支持するレンズホルダと、前記光源と前記レンズホルダを支持する放熱部とを有するランプユニットと、このランプユニットを傾動して当該ランプユニットのランプ光軸の角度を調整するエイミング装置を備える車両用灯具であり、前記エイミング装置は、前記光源から前記照射レンズの間に配設されて前記ランプユニットを傾動可能に支持する支点部と、前記放熱部の前記光源より後方に配置され、前記支点部を支点にして前記ランプユニットを上下方向に傾動する上下角度調整部を備えていることを特徴とする車両用灯具。
続きを表示(約 1,000 文字)
【請求項2】
前記支点部は前記ランプユニットの一方の側方位置に配設される請求項1に記載の車両用灯具。
【請求項3】
前記ランプユニットの他方の側方位置に、前記支点部を支点にして前記ランプユニットを左右方向に傾動する左右角度調整部を備える請求項2に記載の車両用灯具。
【請求項4】
前記上下角度調整部は、操作されたときに上下方向に移動される従動部材を備え、当該従動部材は前記ランプユニットの後部に連結されている請求項1に記載の車両用灯具。
【請求項5】
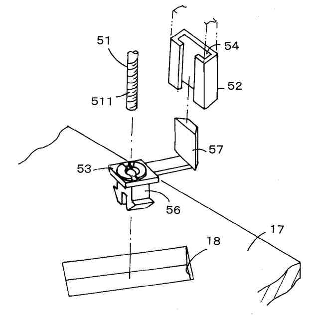
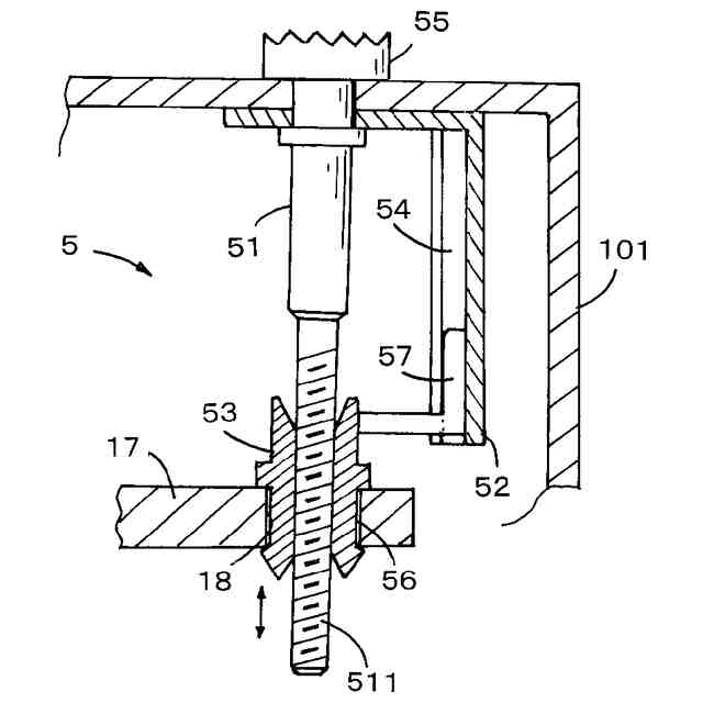
前記上下角度調整部は、上下方向に延設されたエイミングスクリューを備え、前記従動部材は当該エイミングスクリューに螺合された従動ナットで構成され、エイミングスクリューの軸転により上下方向に移動される請求項4に記載の車両用灯具。
【請求項6】
前記上下角度調整部は、軸転操作される操作軸部と、この操作軸部の軸転力の力伝達方向を変換する力方向変換機構を備えており、前記エイミングスクリューは、当該力方向変換機構で変換された軸転力で軸転される請求項5に記載の車両用灯具。
【請求項7】
前記上下角度調整部は、前後方向に延設されたエイミングスクリューと、これに螺合され、エイミングスクリューの軸転により前後方向に移動される従動ナットを備え、前記従動部材は当該従動ナットに力方向変換機構を介して連結され、当該従動ナットの前後方向の移動により上下方向に移動される請求項4に記載の車両用灯具。
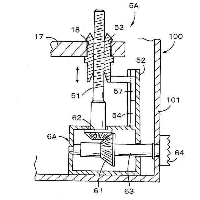
【請求項8】
前記上下角度調整部は、前記ランプユニットを上下方向に傾動するためのレベリングアクチュエータを備え、前記レベリングアクチュエータは駆動されたときに前記エイミングスクリューを軸転する請求項5に記載の車両用灯具。
【請求項9】
前記上下角度調整部は、前記ランプユニットを上下方向に傾動するためのレベリングアクチュエータを備え、前記レベリングアクチュエータは駆動されたときに前記操作軸部を軸転する請求項6に記載の車両用灯具。
【請求項10】
前記上下角度調整部は、前記ランプユニットを上下方向に傾動するためのレベリングアクチュエータを備え、前記レベリングアクチュエータは前記従動部材に一体的に搭載され、駆動されたときに前記ランプユニットの後部を上下方向に移動する請求項4に記載の車両用灯具。
(【請求項11】以降は省略されています)
発明の詳細な説明
【技術分野】
【0001】
本発明はランプの光照射方向、すなわちランプ光軸の方向を調整するためのエイミング装置を備える車両用灯具に関する。
続きを表示(約 2,300 文字)
【背景技術】
【0002】
自動車のヘッドランプ等の照明用ランプでは、他車両を幻惑することなく好適な照明を実現するために、ランプで照射する配光の中心に向けられたランプ光軸の方向を、車体に対して左右方向及び上下方向に調整するためのエイミング装置が備えられる。例えば、ランプユニットの1箇所に傾動支点となる支点部を設け、この支点部に対して左右方向及び上下方向の異なる各位置にそれぞれランプ光軸の角度を左右方向、上下方向に調整するエイミングの調整部を備えたエイミング装置がある。
【0003】
近年、ヘッドランプのデザイン上の要求から、ランプユニットの薄型化、特に光を照射するための照射レンズの上下寸法を短くしたランプユニットが提案されている。このような薄型ランプユニットにおいて、ランプユニットの傾動支点となる支点部の位置がランプユニットの後寄りの位置に設定されていると、エイミング装置によりランプユニットを上下方向に傾動したときに、ランプユニットの前端部、例えばランプユニットに内装されている照射レンズの上下方向の移動量が大きくなる。そのため、ランプユニットの前端部と、エクステンション等の化粧部品との隙間が大きくなり、意匠性が低下される。
【0004】
特許文献1には、レンズホルダを支持する可動フレームに支点部を配設したエイミング装置が提案されている。そして、この可動フレームを調整部において傾動させることにより、レンズホルダと一体に設けられている照射レンズのエイミング調整を行っている。このように支点部をレンズホルダに配設すれば、光源部を含むランプユニットの前端部、及びこれに内装されている照射レンズの上下方向の移動量を抑制する上で効果がある。
【先行技術文献】
【特許文献】
【0005】
特開2012-164429号公報
【発明の概要】
【発明が解決しようとする課題】
【0006】
しかし、引用文献1のように、支点部をレンズホルダに配設すると、ランプユニットの重心位置との関係から、自動車に生じる振動に伴ってランプユニットが振動され、ランプ光軸の安定性が損なわれることがある。すなわち、ランプ光軸の安定性を高めるためには、支点部はランプユニットの重心と重なる位置に配設することが好ましいが、重量が嵩む放熱部(以下、ヒートシンク)を備えるランプユニットでは、重心が後寄りに位置されるため、このような課題が生じ易くなる。引用文献1では、ヒートシンクを別体に構成しているので、このような課題が生じることは少ないが、レンズホルダとヒートシンクを一体的に組み付けているランプユニットでは課題が顕著になる。
【0007】
本発明の目的は、照射レンズの上下方向の移動量を抑制してランプの意匠性を高めるとともに、ランプ光軸の安定性を高めることが可能なエイミング装置を備えた車両用灯具を提供する。
【課題を解決するための手段】
【0008】
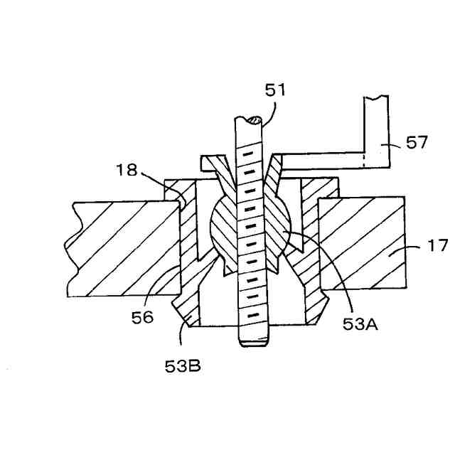
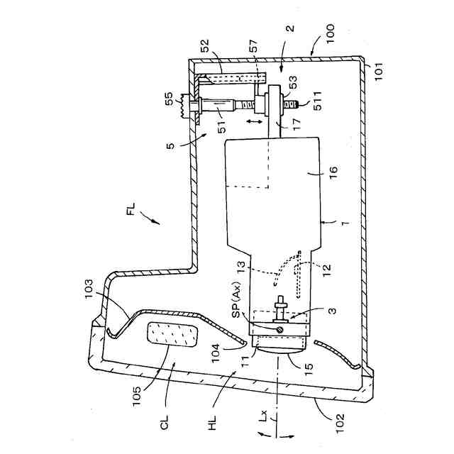
本発明は、ランプハウジングに内装され、光源の光を前方に向けて照射する照射レンズと、照射レンズを支持するレンズホルダと、光源とレンズホルダを支持する放熱部とを有するランプユニットと、このランプユニットを傾動して当該ランプユニットのランプ光軸の角度を調整するエイミング装置を備える車両用灯具である。その上で、エイミング装置は、光源から照射レンズの間に配設されてランプユニットを傾動可能に支持する支点部と、放熱部の光源より後方に配置され、支点部を支点にしてランプユニットを上下方向に傾動する上下角度調整部を備える。ここで、支点部は照射レンズの一方の側方位置に配設されることが好ましい。また、照射レンズの他方の側方位置に、支点部を支点にしてランプユニットを左右方向に傾動する左右角度調整部を備えることが好ましい。
【0009】
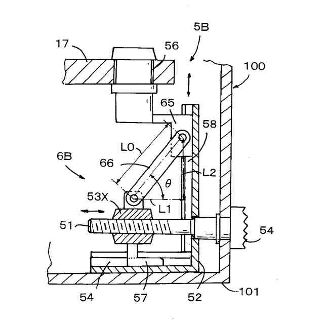
本発明において、上下角度調整部は、操作されたときに上下方向に移動される従動部材を備えており、当該従動部材はランプユニットの後部に連結される。この場合において、上下角度調整部は、上下方向に延設されたエイミングスクリューを備え、従動部材はエイミングスクリューに螺合された従動ナットで構成され、エイミングスクリューの軸転により上下方向に移動される構成とされる。また、本発明は、上下角度調整部は、軸転操作される操作軸部と、この操作軸部の軸転力の力伝達方向を変換する力方向変換機構を備え、エイミングスクリューは力方向変換機構で変換された軸転力で軸転される。あるいは、上下角度調整部は、前後方向に延設されたエイミングスクリューと、これに螺合され、エイミングスクリューの軸転により前後方向に移動される従動ナットを備え、前記した従動部材は従動ナットに力方向変換機構を介して連結され、従動ナットの前後方向の移動により上下方向に移動される。
【0010】
さらに、本発明における上下角度調整部は、ランプユニットを上下方向に傾動するためのレベリングアクチュエータを備えてもよい。例えば、レベリングアクチュエータは駆動されたときにエイミングスクリューを軸転する。あるいは、レベリングアクチュエータは駆動されたときに操作軸部を軸転する。また、レベリングアクチュエータは従動部材に一体的に搭載され、駆動されたときにランプユニットの後部を上下方向に移動する。
【発明の効果】
(【0011】以降は省略されています)
この特許をJ-PlatPat(特許庁公式サイト)で参照する
関連特許
株式会社小糸製作所
車両用灯具
5日前
株式会社小糸製作所
スクリュー
6日前
株式会社小糸製作所
車両用灯具
12日前
株式会社小糸製作所
車両用灯具
12日前
株式会社小糸製作所
虚像表示装置
14日前
株式会社小糸製作所
画像生成装置
14日前
株式会社小糸製作所
画像投影装置
20日前
株式会社小糸製作所
ヘッドアップディスプレイ
28日前
株式会社小糸製作所
波長変換部材および白色発光素子
13日前
株式会社小糸製作所
車両用灯具および車両用灯具の製造方法
14日前
株式会社小糸製作所
半導体発光素子および半導体発光素子の製造方法
12日前
株式会社小糸製作所
半導体成長用基板、半導体発光素子および半導体発光素子の製造方法
12日前
株式会社小糸製作所
車両用灯具システム、配光制御装置および配光制御方法
20日前
個人
タイヤレバー
4か月前
個人
前輪キャスター
3か月前
個人
上部一体型自動車
2か月前
個人
空間形成装置
1か月前
個人
タイヤ脱落防止構造
3か月前
個人
ルーフ付きトライク
4か月前
個人
車両通過構造物
4か月前
日本精機株式会社
表示装置
3か月前
日本精機株式会社
表示装置
4か月前
日本精機株式会社
表示装置
4か月前
個人
マスタシリンダ
2か月前
日本精機株式会社
表示装置
4か月前
日本精機株式会社
照明装置
1か月前
個人
乗合路線バスの客室装置
4か月前
個人
常設収納型サンバイザー
1か月前
個人
円湾曲ホイール及び球体輪
4か月前
日本精機株式会社
画像投映装置
2か月前
日本精機株式会社
車載表示装置
1か月前
株式会社ニフコ
収納装置
3か月前
株式会社豊田自動織機
産業車両
4か月前
株式会社ニフコ
照明装置
3か月前
日本精機株式会社
車載表示装置
2か月前
個人
回転窓ワイパー装置
1か月前
続きを見る
他の特許を見る