TOP
|
特許
|
意匠
|
商標
特許ウォッチ
Twitter
他の特許を見る
公開番号
2025172430
公報種別
公開特許公報(A)
公開日
2025-11-26
出願番号
2024077932
出願日
2024-05-13
発明の名称
画像生成装置
出願人
株式会社小糸製作所
代理人
弁理士法人信栄事務所
主分類
G02B
27/01 20060101AFI20251118BHJP(光学)
要約
【課題】放熱性が高まる画像生成装置を提供する。
【解決手段】光源は、側方に向かって光を出射する発光面を備える。光学部材は、光源から出射された光を上方に出射する。ハウジングは、光源および光学部材を内部に収容する。放熱部材は、光源から生じた熱を放出する。放熱部材は、ハウジングから側方に張り出すように設けられている。
【選択図】図3
特許請求の範囲
【請求項1】
車両に搭載され、所定の画像を生成する画像生成装置であって、
側方に向かって光を出射する発光面を備えた光源と、
前記光源から出射された光を上方に出射する光学部材と、
前記光源および前記光学部材を内部に収容するハウジングと、
前記光源から生じた熱を放出する放熱部材と、
を備えており、
前記放熱部材は、前記ハウジングから側方に張り出すように設けられている、画像生成装置。
続きを表示(約 580 文字)
【請求項2】
上面視で、前記放熱部材の少なくとも一部は前記ハウジングに覆われていない、請求項1に記載の画像生成装置。
【請求項3】
前記ハウジングには、外部から前記ハウジング内に空気が流入する空気流入口と、前記ハウジング内を対流する空気が外部に流出する空気流出口と、が形成されている、請求項1または2に記載の画像生成装置。
【請求項4】
前記ハウジングは、ボディと、前記ボディの上部に配置されたカバーと、を有しており、
前記空気流入口および前記空気流出口は、前記ボディとカバーとの間に形成されている、請求項3に記載の画像生成装置。
【請求項5】
前記空気流出口が下方を向いている、請求項3に記載の画像生成装置。
【請求項6】
前記光学部材は、
前記光源から出射された光を上方に出射するレンズと、
前記光源から出射された光を前記レンズに向けて反射する反射部材と、
を有し、
前記ハウジングは、前記レンズと前記光源との間に配置される壁部を有する、請求項1または2に記載の画像生成装置。
【請求項7】
前記ハウジングにおける少なくとも前記光源の上方に位置する部分は、表面が黒く塗装されている、請求項1または2に記載の画像生成装置。
発明の詳細な説明
【技術分野】
【0001】
本開示は、画像生成装置に関する。
続きを表示(約 1,700 文字)
【背景技術】
【0002】
特許文献1は、画像生成部(Picture Generation Unit:PGU)から出射された画像を形成する光を光学系によりウインドシールドに投影し、当該光をウインドシールドで反射させて車両の前方の現実空間に虚像を重畳させるヘッドアップディスプレイ(Head―Up Display:HUD)を開示している。画像生成部において、表示デバイス、光学部材、光源、基板、およびヒートシンクがその順で上方から配置されており、画像を形成する光が表示デバイスから上方に向けて出射される。
【先行技術文献】
【特許文献】
【0003】
国際公開第2022/009605号明細書
【発明の概要】
【発明が解決しようとする課題】
【0004】
ところで、光源において発生した熱は、基板を介してヒートシンクに伝わり、ヒートシンクから放出される。しかしながら、上記のような画像生成部においてはヒートシンクの上方には表示デバイスや光学部材などが配置されているので、ヒートシンクから放出された熱により暖められた空気が滞留しやすくなり、放熱性のさらなる改善が望まれる。
【0005】
本開示は、放熱性が高まる画像生成装置を提供することを目的とする。
【課題を解決するための手段】
【0006】
本開示の一態様に係る画像生成装置は、
車両に搭載され、所定の画像を生成する画像生成装置であって、
側方に向かって光を出射する発光面を備えた光源と、
前記光源から出射された光を上方に出射する光学部材と、
前記光源および前記光学部材を内部に収容するハウジングと、
前記光源から生じた熱を放出する放熱部材と、
を備えており、
前記放熱部材は、前記ハウジングから側方に張り出すように設けられている。
【発明の効果】
【0007】
本開示によれば、放熱性が高まる画像生成装置を提供できる。
【図面の簡単な説明】
【0008】
本開示の実施形態に係るヘッドアップディスプレイ(HUD)を車両の側面側から見た模式図である。
画像生成装置の構成例を示す平面図である。
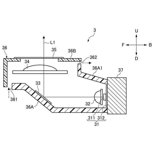
図2における線III-IIIに沿う断面を矢印方向から見た構成を例示する断面図である。
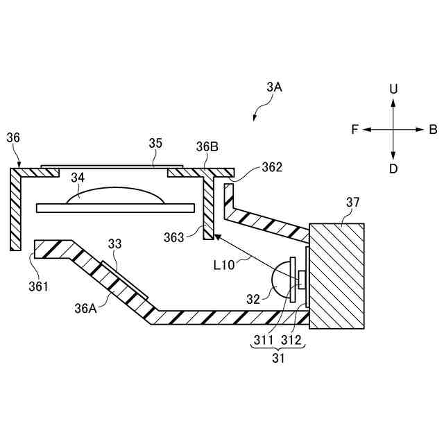
変形例1に係る画像生成装置の構成を例示する断面図である。
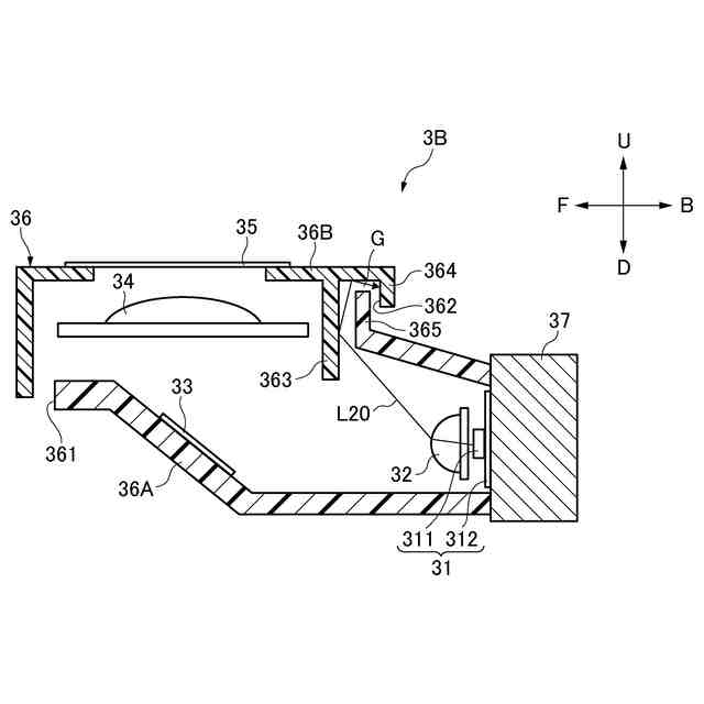
変形例2に係る画像生成装置の構成を例示する断面図である。
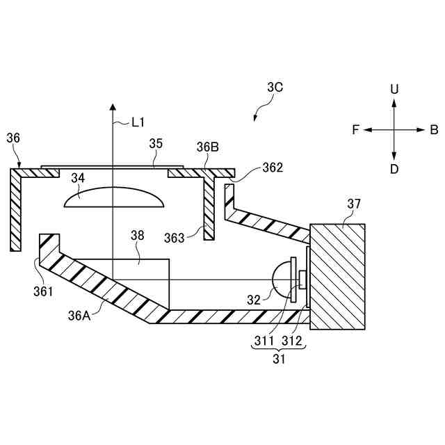
変形例3に係る画像生成装置の構成を例示する断面図である。
変形例4に係る画像生成装置の構成を例示する平面図である。
【発明を実施するための形態】
【0009】
以下、本開示の実施形態について図面を参照しながら説明する。図面において、矢印Uは、図示された構造の上方向を示している。矢印Dは、図示された構造の下方向を示している。矢印Fは、図示された構造の前方向を示している。矢印Bは、図示された構造の後方向を示している。矢印Rは、図示された構造の右方向を示している。矢印Lは、図示された構造の左方向を示している。これらの方向は、図1に示された画像生成装置3について設定された相対的な方向であり、画像生成装置3から出射される画像光L1の出射方向を上方向とする。
【0010】
図1は、本開示の実施形態に係るヘッドアップディスプレイ(HUD)を車両の側面側から見た模式図である。図1に例示されるように、HUD1は、車両100に搭載されている。例えば、HUD1は、車両100のダッシュボード内に配置される。HUD1は、車両100と車両100の乗員との間の視覚的インターフェースとして機能する。具体的には、HUD1は、所定の情報が車両100の外部の現実空間(例えば、車両100の前方の周辺環境)と重畳されるように、当該情報を車両100の乗員に向けて虚像として表示するように構成されている。所定の情報は、静止画または動画(映像)として表示される。HUD1は、画像表示装置の一例である。
(【0011】以降は省略されています)
この特許をJ-PlatPat(特許庁公式サイト)で参照する
関連特許
株式会社小糸製作所
表示用灯具
1か月前
株式会社小糸製作所
車両用灯具
1か月前
株式会社小糸製作所
表示用灯具
1か月前
株式会社小糸製作所
車両用灯具
1か月前
株式会社小糸製作所
車両用灯具
1か月前
株式会社小糸製作所
車両用灯具
1か月前
株式会社小糸製作所
車両用灯具
1か月前
株式会社小糸製作所
車両用灯具
1か月前
株式会社小糸製作所
車両用灯具
1か月前
株式会社小糸製作所
車両用灯具
1か月前
株式会社小糸製作所
車両用灯具
1か月前
株式会社小糸製作所
車両用灯具
1か月前
株式会社小糸製作所
車両用灯具
1か月前
株式会社小糸製作所
車両用灯具
1か月前
株式会社小糸製作所
車輌用灯具
1か月前
株式会社小糸製作所
車両用灯具
24日前
株式会社小糸製作所
画像投影装置
1か月前
株式会社小糸製作所
画像表示装置
29日前
株式会社小糸製作所
画像表示装置
16日前
株式会社小糸製作所
画像投影装置
8日前
株式会社小糸製作所
表示システム
1か月前
株式会社小糸製作所
虚像表示装置
2日前
株式会社小糸製作所
照明表示装置
1か月前
株式会社小糸製作所
画像生成装置
16日前
株式会社小糸製作所
虚像表示装置
1か月前
株式会社小糸製作所
画像生成装置
2日前
株式会社小糸製作所
固定構造及び固定方法
22日前
株式会社小糸製作所
道路冠水通知システム
1か月前
株式会社小糸製作所
表示制御装置及び表示装置
1か月前
株式会社小糸製作所
ヘッドアップディスプレイ
16日前
株式会社小糸製作所
電子ユニット及び車両用灯具
1か月前
株式会社小糸製作所
波長変換部材および白色発光素子
1日前
株式会社小糸製作所
車両用灯具及び車両用灯具の製造方法
1か月前
株式会社小糸製作所
画像投影ユニットおよび画像投影装置
1か月前
株式会社小糸製作所
レンズに付着する雪を融かす融雪機構
1か月前
株式会社小糸製作所
車両用灯具および車両用灯具の製造方法
2日前
続きを見る
他の特許を見る