TOP
|
特許
|
意匠
|
商標
特許ウォッチ
Twitter
他の特許を見る
10個以上の画像は省略されています。
公開番号
2025149052
公報種別
公開特許公報(A)
公開日
2025-10-08
出願番号
2024049487
出願日
2024-03-26
発明の名称
表示制御装置及び表示装置
出願人
株式会社小糸製作所
代理人
弁理士法人一色国際特許事務所
主分類
B60K
35/233 20240101AFI20251001BHJP(車両一般)
要約
【課題】簡易な構成で虚像の表示位置を補正する。
【解決手段】本開示に係る表示制御装置は、車両に搭載されたヘッドアップディスプレイを制御し、前記車両の前方に虚像を表示させる。表示制御装置は、前記車両の角速度を測定したセンサから角速度信号を取得する取得部と、第1カットオフ周波数の第1ハイパスフィルタを通過した前記角速度信号を積分して第1角度を求める第1角度算出部と、前記第1カットオフ周波数よりも高い第2カットオフ周波数の第2ハイパスフィルタを通過した前記角速度信号を積分して第2角度を求める第2角度算出部と、車道の勾配が変移する箇所に前記車両が進入した進入状態か否かを判定する判定部と、前記進入状態でない通常状態の場合には、前記第1角度に基づいて前記虚像の表示位置を補正し、前記進入状態になった場合には、前記第2角度に基づいて前記虚像の表示位置を補正する補正部とを備える。
【選択図】図6
特許請求の範囲
【請求項1】
車両に搭載されたヘッドアップディスプレイを制御し、前記車両の前方に虚像を表示させる表示制御装置であって、
前記車両の角速度を測定したセンサから角速度信号を取得する取得部と、
第1カットオフ周波数の第1ハイパスフィルタを通過した前記角速度信号を積分して第1角度を求める第1角度算出部と、
前記第1カットオフ周波数よりも高い第2カットオフ周波数の第2ハイパスフィルタを通過した前記角速度信号を積分して第2角度を求める第2角度算出部と、
車道の勾配が変移する箇所に前記車両が進入した進入状態か否かを判定する判定部と、
前記進入状態でない通常状態の場合には、前記第1角度に基づいて前記虚像の表示位置を補正し、前記進入状態になった場合には、前記第2角度に基づいて前記虚像の表示位置を補正する補正部と
を備える表示制御装置。
続きを表示(約 1,400 文字)
【請求項2】
請求項1に記載の表示制御装置であって、
前記判定部は、前記第1角度及び前記第2角度の少なくとも一方を用いて、前記進入状態か否かを判定することを特徴とする表示制御装置。
【請求項3】
請求項2に記載の表示制御装置であって、
前記判定部は、前記角速度信号の所定期間の平均値が所定値を超えた場合に、前記進入状態であると判定することを特徴とする表示制御装置。
【請求項4】
請求項2に記載の表示制御装置であって、
前記判定部は、前記第1角度と前記第2角度との差の絶対値が所定値を超えた場合に、前記進入状態であると判定することを特徴とする表示制御装置。
【請求項5】
請求項4に記載の表示制御装置であって、
前記補正部は、
前記通常状態から前記進入状態に変化した時に、
前記第1角度及び前記第2角度にそれぞれ重み付けして合成角度を算出し、
前記合成角度に基づいて前記虚像の表示位置を補正し、その後に、前記第2角度に基づいて前記虚像の表示位置を補正することを特徴とする表示制御装置。
【請求項6】
請求項5に記載の表示制御装置であって、
前記補正部は、前記通常状態から前記進入状態に変化した時に、前記第1角度に対する重みを徐々に小さくし、前記第2角度に対する重みを徐々に大きくして、前記合成角度を算出することを特徴とする表示制御装置。
【請求項7】
請求項4に記載の表示制御装置であって、
前記補正部は、
前記進入状態から前記通常状態に変化した時に、
前記第1角度及び前記第2角度にそれぞれ重み付けして合成角度を算出し、
前記合成角度に基づいて前記虚像の表示位置を補正し、その後に、前記第1角度に基づいて前記虚像の表示位置を補正することを特徴とする表示制御装置。
【請求項8】
請求項1に記載の表示制御装置であって、
前記補正部は、前記ヘッドアップディスプレイに前記虚像を表示させるための画像データを補正することによって、前記虚像の表示位置を補正することを特徴とする表示制御装置。
【請求項9】
画像を生成する画像生成部と、前記画像生成部の生成した前記画像を画像光として透過反射部に投影する光学系と、を有する画像表示部と、
前記画像表示部を制御し、車両の前方に虚像を表示させる表示制御装置と、
を備え、
前記表示制御装置は、
前記車両の角速度を測定したセンサから角速度信号を取得する取得部と、
第1カットオフ周波数の第1ハイパスフィルタを通過した前記角速度信号を積分して第1角度を求める第1角度算出部と、
前記第1カットオフ周波数よりも高い第2カットオフ周波数の第2ハイパスフィルタを通過した前記角速度信号を積分して第2角度を求める第2角度算出部と、
車道の勾配が変移する箇所に前記車両が進入した進入状態か否かを判定する判定部と、
前記進入状態でない通常状態の場合には、前記第1角度に基づいて前記虚像の表示位置を補正し、前記進入状態になった場合には、前記第2角度に基づいて前記虚像の表示位置を補正する補正部と
を備える表示装置。
発明の詳細な説明
【技術分野】
【0001】
本発明は、表示制御装置及び表示装置に関する。
続きを表示(約 1,700 文字)
【背景技術】
【0002】
特許文献1には、ジャイロセンサの検出値に基づいて車両のピッチ方向の姿勢変化量を推定し、姿勢変化量に応じて虚像の表示位置を補正するヘッドアップディスプレイ装置が記載されている。また、特許文献1には、車両が勾配区間へ進入した場合に、勾配に起因するピッチ方向の姿勢変化量を勾配影響分として推定し、ジャイロセンサの検出値に基づくピッチ方向の姿勢変化量から勾配影響分を除いた姿勢変化量に基づいて、虚像の表示位置を補正することが記載されている。
【先行技術文献】
【特許文献】
【0003】
特開2023-137772号公報
【発明の概要】
【発明が解決しようとする課題】
【0004】
特許文献1では、3次元地図データに基づく勾配情報を用いたり、車両に搭載されたフロントカメラの撮像画像に写る区画線形状に基づいて勾配区間の傾斜角度を算出したりすることによって、勾配に起因するピッチ方向の姿勢変化量(勾配影響分)を推定している。しかし、このような方法では、勾配影響分の姿勢変化量を除去するための構成が複雑である。
【0005】
本発明は、簡易な構成で虚像の表示位置を補正することを目的とする。
【課題を解決するための手段】
【0006】
上記目的を達成するための本発明の一形態は、
車両に搭載されたヘッドアップディスプレイを制御し、前記車両の前方に虚像を表示させる表示制御装置であって、
前記車両の角速度を測定したセンサから角速度信号を取得する取得部と、
第1カットオフ周波数の第1ハイパスフィルタを通過した前記角速度信号を積分して第1角度を求める第1角度算出部と、
前記第1カットオフ周波数よりも高い第2カットオフ周波数の第2ハイパスフィルタを通過した前記角速度信号を積分して第2角度を求める第2角度算出部と、
車道の勾配が変移する箇所に前記車両が進入した進入状態か否かを判定する判定部と、
前記進入状態でない通常状態の場合には、前記第1角度に基づいて前記虚像の表示位置を補正し、前記進入状態になった場合には、前記第2角度に基づいて前記虚像の表示位置を補正する補正部と
を備える表示制御装置である。
【0007】
その他、本願が開示する課題、及びその解決方法は、発明を実施するための形態の欄、及び図面により明らかにされる。
【発明の効果】
【0008】
本発明によれば、簡易な構成で虚像の表示位置を補正することができる。
【図面の簡単な説明】
【0009】
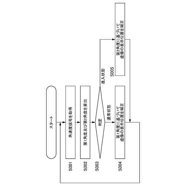
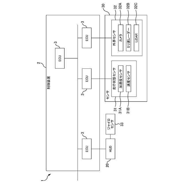
図1は、制御システム1の全体構成の説明図である。
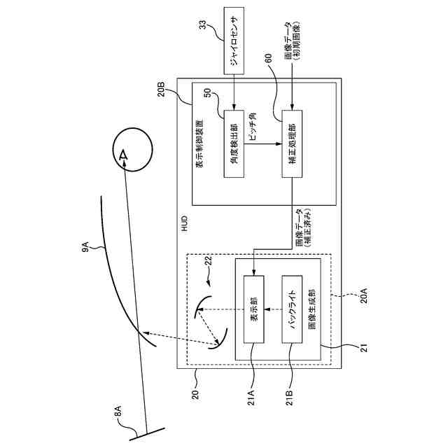
図2は、HUD20の説明図である。
図3A~図3Cは、画像(虚像8A)の表示位置が補正される様子の説明図である。
図4は、参考例の角度検出部50の説明図である。
図5は、勾配の変移箇所における表示位置の変化の様子の説明図である。
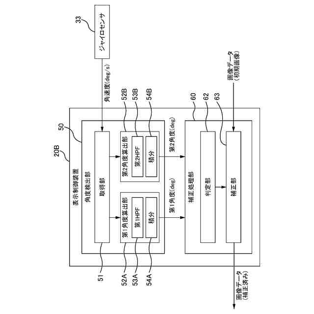
図6は、本実施形態の表示制御装置20Bの説明図である。
図7は、本実施形態の表示制御装置20Bが行う処理のフロー図である。
図8Aは、第1角度の時間変化の説明図である。図8Bは、第2角度の時間変化の説明図である。
図9は、ジャイロセンサ33の角速度信号の移動平均を示すグラフの説明図である。
図10は、変形例のフロー図である。
図11Aは、通常状態から進入状態に変化した時の移行期間の重みw1,w2の説明図である。図11Bは、進入状態から通常状態に変化した時の移行期間の重みw1,w2の説明図である。
図12は、別の実施形態のHUD20の説明図である。
図13は、図12に示す表示制御装置20Bの説明図である。
【発明を実施するための形態】
【0010】
以下、本発明を実施するための形態について図面を参照しつつ説明する。なお、以下の説明において、同一の又は類似する構成について共通の符号を付して重複した説明を省略することがある。
(【0011】以降は省略されています)
この特許をJ-PlatPat(特許庁公式サイト)で参照する
関連特許
株式会社小糸製作所
車両用灯具
1か月前
株式会社小糸製作所
車両用灯具
1か月前
株式会社小糸製作所
車両用灯具
1か月前
株式会社小糸製作所
車両用灯具
13日前
株式会社小糸製作所
車両用灯具
1か月前
株式会社小糸製作所
車輌用灯具
24日前
株式会社小糸製作所
車両用灯具
24日前
株式会社小糸製作所
車両用灯具
24日前
株式会社小糸製作所
車両用灯具
1か月前
株式会社小糸製作所
車両用灯具
25日前
株式会社小糸製作所
車両用灯具
27日前
株式会社小糸製作所
車両用灯具
1か月前
株式会社小糸製作所
表示システム
1か月前
株式会社小糸製作所
照明表示装置
1か月前
株式会社小糸製作所
画像投影装置
1か月前
株式会社小糸製作所
虚像表示装置
1か月前
株式会社小糸製作所
画像表示装置
5日前
株式会社小糸製作所
画像表示装置
18日前
株式会社小糸製作所
画像生成装置
5日前
株式会社小糸製作所
固定構造及び固定方法
11日前
株式会社小糸製作所
道路冠水通知システム
25日前
株式会社小糸製作所
表示制御装置及び表示装置
1か月前
株式会社小糸製作所
ヘッドアップディスプレイ
5日前
株式会社小糸製作所
電子ユニット及び車両用灯具
1か月前
株式会社小糸製作所
車両用灯具及び車両用灯具の製造方法
1か月前
株式会社小糸製作所
画像投影ユニットおよび画像投影装置
1か月前
株式会社小糸製作所
レンズに付着する雪を融かす融雪機構
1か月前
株式会社小糸製作所
開閉機構、車両用灯具及び車両用前照灯
1か月前
株式会社小糸製作所
画像照射装置、画像投影装置、および画像照射方法
25日前
株式会社小糸製作所
車両用灯具、ハウジング及びハウジングの製造方法
1か月前
株式会社小糸製作所
光源ユニット、光源ユニットの製造方法、および車両用灯具
1か月前
株式会社小糸製作所
配光制御装置、配光制御プログラムおよび車両用前照灯システム
1か月前
株式会社小糸製作所
車両用赤外線センサ内蔵灯具
18日前
個人
カーテント
5か月前
個人
タイヤレバー
3か月前
個人
前輪キャスター
2か月前
続きを見る
他の特許を見る