TOP
|
特許
|
意匠
|
商標
特許ウォッチ
Twitter
他の特許を見る
公開番号
2025154614
公報種別
公開特許公報(A)
公開日
2025-10-10
出願番号
2024057716
出願日
2024-03-29
発明の名称
車両用灯具
出願人
株式会社小糸製作所
代理人
弁理士法人シリウスIP
,
個人
主分類
F21S
41/55 20180101AFI20251002BHJP(照明)
要約
【課題】部品同士を簡易に固定する新たな技術を提供する。
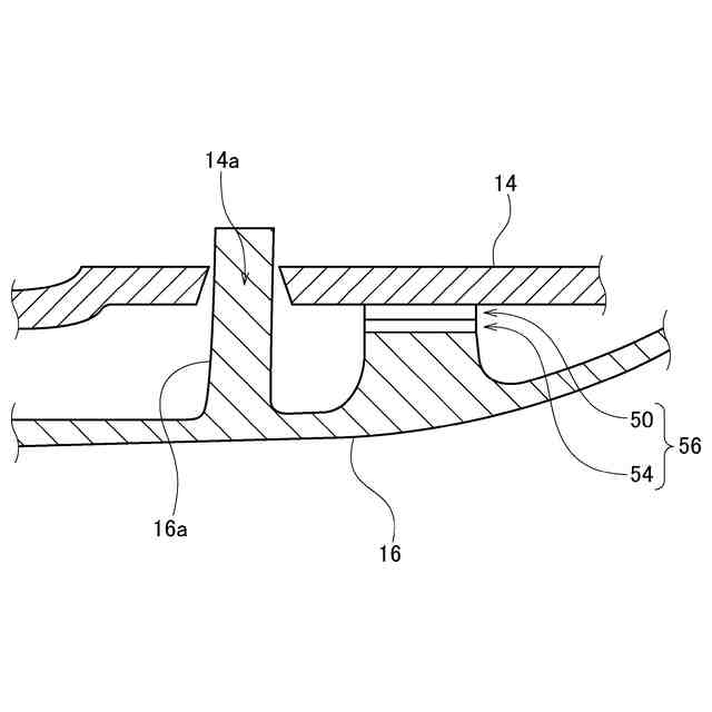
【解決手段】車両用灯具は、車両用灯具を構成する第1の樹脂成形部品と、車両用灯具を構成し、第1の樹脂成形部品に組み付けられる第2の樹脂成形部品と、第1の樹脂成形部品を第2の樹脂成形部品に固定する面ファスナ56と、を備える。
【選択図】図6
特許請求の範囲
【請求項1】
車両用灯具を構成する第1の樹脂成形部品と、
車両用灯具を構成し、前記第1の樹脂成形部品に組み付けられる第2の樹脂成形部品と、
前記第1の樹脂成形部品を前記第2の樹脂成形部品に固定する面ファスナと、
を備えることを特徴とする車両用灯具。
続きを表示(約 570 文字)
【請求項2】
前記第2の樹脂成形品は、前記第1の樹脂成形部品に対して位置決めするためのピンが設けられていることを特徴とする請求項1に記載の車両用灯具。
【請求項3】
前記面ファスナは、
前記第2の樹脂成形部品に設けられている複数のフック部からなる係合部と、
前記第1の樹脂成形部品に設けられている複数のループ部からなる被係合部と、を有し、
前記係合部と前記被係合部とが接触することで前記第2の樹脂成形部品を前記第1の樹脂成形部品に固定することを特徴とする請求項1又は2に記載の車両用灯具。
【請求項4】
前記第2の樹脂成形部品は、前記第1の樹脂成形部品よりも柔らかい材料で構成されており、
前記複数のフック部は、前記第2の樹脂成形部品に一体成形で設けられていることを特徴とする請求項3に記載の車両用灯具。
【請求項5】
前記第2の樹脂成形部品は、ポリカーボネートからなるレンズであり、
前記第1の樹脂成形部品は、ポリブチレンテレフタレートからなる意匠部材であることを特徴とする請求項3に記載の車両用灯具。
【請求項6】
前記複数のフック部は、前記レンズの内面に一体成形で設けられていることを特徴とする請求項5に記載の車両用灯具。
発明の詳細な説明
【技術分野】
【0001】
本発明は、車両用灯具に関する。
続きを表示(約 1,200 文字)
【背景技術】
【0002】
従来、前方が開口したランプボディと、透光性樹脂で構成され、ランプボディの開口部に取付けられて灯室を形成するランプカバーと、を備え,ランプボディとランプカバーとがネジで締結された車両用灯具が知られている(特許文献1参照)。
【先行技術文献】
【特許文献】
【0003】
特開2023-177854号公報
【発明の概要】
【発明が解決しようとする課題】
【0004】
しかしながら、上述の車両用灯具のように、ランプボディとランプカバーとをネジで締結する場合、ネジ孔が形成されたボスや凹部を各部品に設ける必要がある。そのため、部品形状が複雑になる。また、金型で部品を製造する際にはボスのような肉厚部を考慮した金型が必要な場合もある。さらには、複数の部品を互いに組み付けた後にネジで締結する必要があり、組立コストが上昇する。
【0005】
本発明はこうした状況に鑑みてなされたものであり、その例示的な目的の一つは、部品同士を簡易に固定する新たな技術を提供することにある。
【課題を解決するための手段】
【0006】
上記課題を解決するために、本発明のある態様の車両用灯具は、車両用灯具を構成する第1の樹脂成形部品と、車両用灯具を構成し、第1の樹脂成形部品に組み付けられる第2の樹脂成形部品と、第1の樹脂成形部品を第2の樹脂成形部品に固定する面ファスナと、を備える。
【0007】
この態様によると、樹脂成形部品同士をネジを用いずに固定できる。また、樹脂成形部品同士を接着剤や両面テープで固定した場合よりも樹脂成形部品同士の分解が容易であり、部品のリサイクルがし易くなる。
【0008】
第2の樹脂成形品は、第1の樹脂成形部品に対して位置決めするためのピンが設けられていてもよい。これにより、面ファスナで部品同士を所定の位置で固定し易くなる。
【0009】
面ファスナは、第2の樹脂成形部品に設けられている複数のフック部からなる係合部と、第1の樹脂成形部品に設けられている複数のループ部からなる被係合部と、を有してもよい。係合部と被係合部とが接触することで第2の樹脂成形部品を第1の樹脂成形部品に固定してもよい。これにより、係合部と被係合部とを接触させることで、最終的には係合部と被係合部とが強固に係合され、部品同士が固定される。ここで、係合部と被係合部とが接触することで部品同士が固定されるとは、接触している係合部の一部と被係合部の一部とがミクロに見て係合している状態が含まれる。
【0010】
第2の樹脂成形部品は、第1の樹脂成形部品よりも柔らかい材料で構成されており、複数のフック部は、第2の樹脂成形部品に一体成形で設けられていてもよい。これにより、複数のフック部の形状の自由度が増す。
(【0011】以降は省略されています)
この特許をJ-PlatPat(特許庁公式サイト)で参照する
関連特許
株式会社小糸製作所
車両用灯具
今日
株式会社小糸製作所
車両用灯具
今日
株式会社小糸製作所
車両用灯具
24日前
株式会社小糸製作所
虚像表示装置
2日前
株式会社小糸製作所
画像生成装置
2日前
株式会社小糸製作所
画像投影装置
8日前
株式会社小糸製作所
画像表示装置
16日前
株式会社小糸製作所
画像生成装置
16日前
株式会社小糸製作所
固定構造及び固定方法
22日前
株式会社小糸製作所
ヘッドアップディスプレイ
16日前
株式会社小糸製作所
波長変換部材および白色発光素子
1日前
株式会社小糸製作所
車両用灯具および車両用灯具の製造方法
2日前
株式会社小糸製作所
半導体発光素子および半導体発光素子の製造方法
今日
株式会社小糸製作所
半導体成長用基板、半導体発光素子および半導体発光素子の製造方法
今日
株式会社小糸製作所
車両用灯具システム、配光制御装置および配光制御方法
8日前
個人
照明装置
21日前
個人
室外機器
5か月前
個人
照明システム
4か月前
個人
車載機器の通気構造
2か月前
個人
気泡を用いた遊具。
7か月前
個人
消火器設置表示装置
1か月前
株式会社遠藤照明
照明装置
2か月前
株式会社遠藤照明
照明器具
6か月前
株式会社小糸製作所
車両用灯具
1か月前
デンカ株式会社
照明装置
5か月前
日亜化学工業株式会社
面状光源
1日前
個人
LEDライト
4か月前
能美防災株式会社
表示灯
2か月前
株式会社小糸製作所
車両用灯具
1か月前
デンカ株式会社
道路用照明
5か月前
株式会社小糸製作所
投光装置
2か月前
スタンレー電気株式会社
照射用光源
1か月前
株式会社小糸製作所
誘導装置
2か月前
株式会社小糸製作所
投光装置
2か月前
アクア株式会社
冷蔵庫
3か月前
フルトラム株式会社
光学機器
1か月前
続きを見る
他の特許を見る