TOP
|
特許
|
意匠
|
商標
特許ウォッチ
Twitter
他の特許を見る
公開番号
2025155258
公報種別
公開特許公報(A)
公開日
2025-10-14
出願番号
2024058977
出願日
2024-04-01
発明の名称
画像投影ユニットおよび画像投影装置
出願人
株式会社小糸製作所
代理人
弁理士法人プロウィン
主分類
G02B
27/01 20060101AFI20251006BHJP(光学)
要約
【課題】画像表示部の近傍に偏光板を配置しても、画像の全域において光の透過率を高めることが可能な画像投影ユニットおよび画像投影装置を提供する。
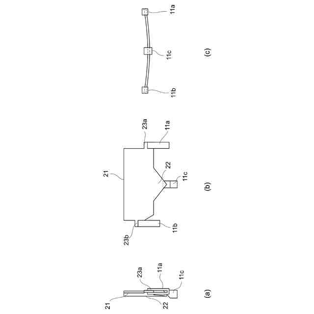
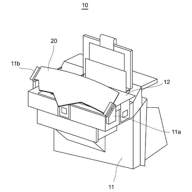
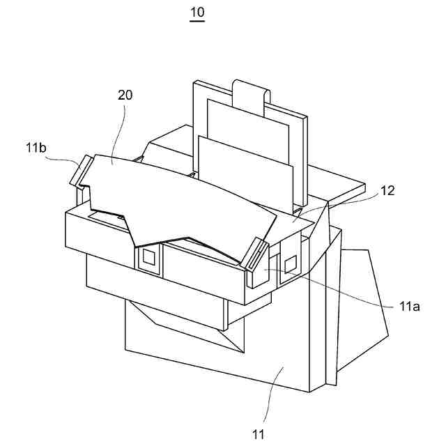
【解決手段】第一方向の偏光で画像光を照射する画像表示部(12)と、画像光の経路上に配置され、第一方向の偏光を透過し第一方向に交差する第二方向の偏光を遮る偏光板(20)と、偏光板(20)を湾曲させて保持する保持部(11a,11b,11c)を備える画像投影ユニット(10)。
【選択図】図3
特許請求の範囲
【請求項1】
第一方向の偏光で画像光を照射する画像表示部と、
前記画像光の経路上に配置され、前記第一方向の偏光を透過し、前記第一方向に交差する第二方向の偏光を遮る偏光板と、
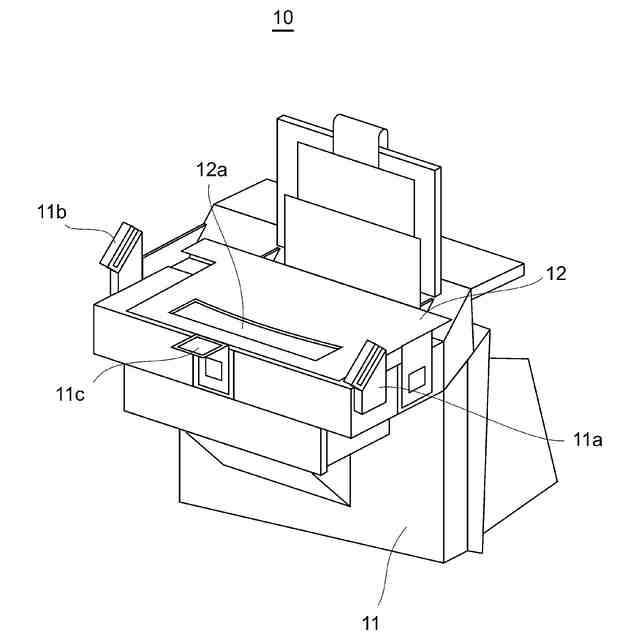
前記偏光板を湾曲させて保持する保持部を備えることを特徴とする画像投影ユニット。
続きを表示(約 1,000 文字)
【請求項2】
請求項1に記載の画像投影ユニットであって、
前記画像表示部を保持する筐体を有し、
前記保持部は前記筐体に設けられており、少なくとも3箇所で前記偏光板を支えることを特徴とする画像投影ユニット。
【請求項3】
請求項2に記載の画像投影ユニットであって、
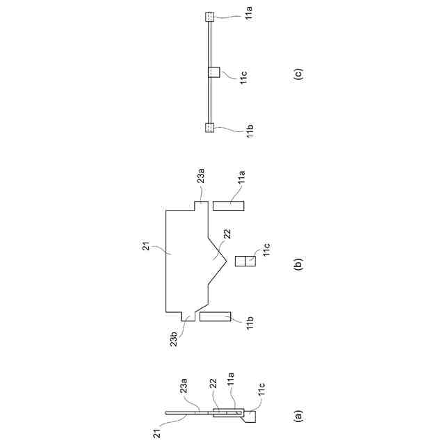
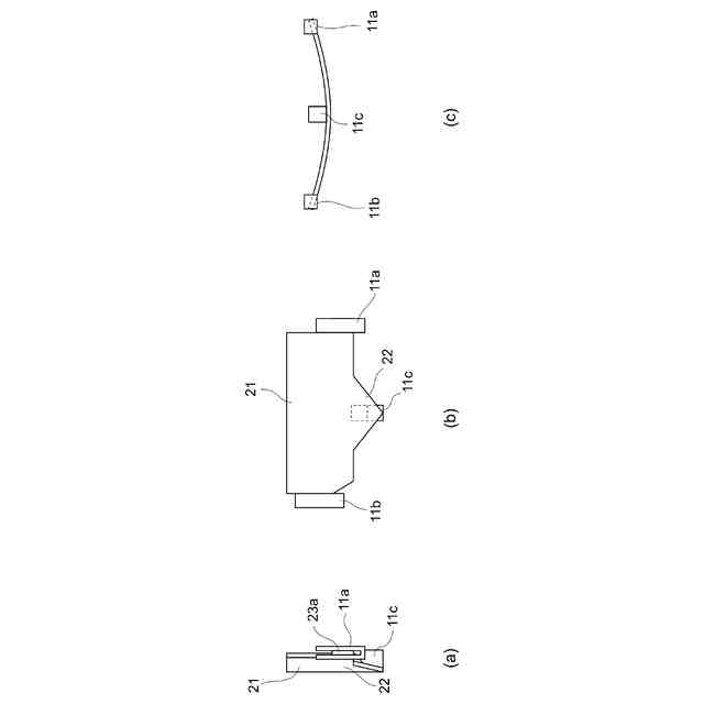
前記保持部は、前記偏光板の両側に配置されて前記偏光板を摺動可能に保持するスライド部と、前記スライド部に挿入された前記偏光板に干渉して湾曲させる干渉部とを有することを特徴とする画像投影ユニット。
【請求項4】
請求項3に記載の画像投影ユニットであって、
前記偏光板は、前記画像光が透過する偏光面と、前記スライド部に挿入されるスライドタブ部と、前記偏光面から突出して設けられた湾曲タブ部を備えることを特徴とする画像投影ユニット。
【請求項5】
請求項1から4の何れか一つに記載の画像投影ユニットと、
前記画像投影ユニットから照射された前記画像光を反射する一次ミラーと、
前記一次ミラーで反射された前記画像光を反射する二次ミラーと、
前記二次ミラーで反射された前記画像光が透過する防塵カバーを備えることを特徴とする画像投影装置。
【請求項6】
請求項5に記載の画像投影装置であって、
前記防塵カバーは、前記一次ミラーに近い後方側が、前記一次ミラーから遠い前方側よりも下方になるように傾斜して配置されていることを特徴とする画像投影装置。
【請求項7】
請求項6に記載の画像投影装置であって、
前記防塵カバーは、前記後方側よりも前記前方側のほうが水平方向からの傾斜角度が大きいことを特徴とする画像投影装置。
【請求項8】
請求項6に記載の画像投影装置であって、
前記防塵カバーは、前記後方側が前記一次ミラーよりも下方に位置することを特徴とする画像投影装置。
【請求項9】
請求項6に記載の画像投影装置であって、
前記防塵カバーは、前記後方側が前記前方側よりも5mm以上20mm以下の範囲で下方に位置していることを特徴とする画像投影装置。
【請求項10】
請求項6に記載の画像投影装置であって、
前記画像光は、前記一次ミラーと前記二次ミラーの間で中間結像されることを特徴とする画像投影装置。
発明の詳細な説明
【技術分野】
【0001】
本発明は、画像投影ユニットおよび画像投影装置に関する。
続きを表示(約 1,600 文字)
【背景技術】
【0002】
従来から、車両内に各種情報を表示する装置として、アイコンを点灯表示する計器盤が用いられている。また、表示する情報量の増加とともに、計器盤に画像表示装置を埋め込むことや、計器盤全体を画像表示装置で構成することも提案されている。
【0003】
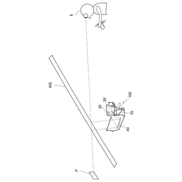
しかし、計器盤は車両のフロントガラス(ウィンドシールド)より下方に位置しているため、計器盤に表示された情報を運転者等の搭乗者が視認するには、運転中に視線を下方に移動させる必要があり好ましくない。そこで、フロントガラスに画像を投影して、搭乗者が車両の前方を視認したときに情報を読み取れるようにするヘッドアップディスプレイ(以下HUD:Head Up Display)のような画像投影装置が提案されている(例えば、特許文献1,2を参照)。
【0004】
特許文献1,2の画像投影装置は、画像投影ユニットが画像を含んだ照射光を照射し、自由曲面ミラー等で照射光を反射させて、ウィンドシールド等の表示部を介して空間中に画像が結像するように搭乗者の視点の位置に到達させる。これにより、搭乗者は視点に入射した照射光によって、奥行き方向における結像位置に画像が表示されているように認識することができる。また、画像光を複数照射して、ウィンドシールドから異なる距離に複数の虚像を結像させることも提案されている。
【0005】
このような従来の画像投影装置では、外部から太陽光などが外光として入射してきた場合に、外光が自由曲面ミラーによって画像表示部の表面上に集光されてしまい、画像表示部の温度が上昇して劣化する可能性があった。そこで、外光の経路上に外光フィルタを配置して、外光に含まれる紫外光や赤外光をカットして、画像表示部に到達する外光のエネルギーを低減し、画像表示部の温度上昇を抑制することも提案されている(例えば、特許文献3を参照)。
【先行技術文献】
【特許文献】
【0006】
特開2019-119248号公報
特開2019-119262号公報
特開2023-055057号公報
【発明の概要】
【発明が解決しようとする課題】
【0007】
従来の画像投影装置では、外光カットフィルタで外光の一部の波長をカットすることで、画像表示部の温度上昇を抑制することはできるが、可視光は透過するため温度上昇の抑制には限界があった。そこで本願発明者らは、外光カットフィルタとして偏光板を用い、画像表示部から照射される照射光を透過し、照射光の偏光方向に直交する方向の光をカットすることを検討した。しかし、画像表示部の近傍に偏光板を配置した場合には、照射光の光束の拡がり角度が大きくなり、偏光板への光の入射角度によって透過率が異なるため、画像の全域において照射光の透過率を高く維持することが困難であることがわかった。
【0008】
また、画像投影装置には照射光の投影口に防塵カバーを設けているが、防塵カバーで反射された外光がウィンドシールドで再反射されて、搭乗者の視点位置に到達してしまうという問題もあった。
【0009】
そこで本発明は、上記従来の問題点に鑑みなされたものであり、画像表示部の近傍に偏光板を配置しても、画像の全域において光の透過率を高めることが可能な画像投影ユニットおよび画像投影装置を提供することを目的とする。
【課題を解決するための手段】
【0010】
上記課題を解決するために、本発明の画像投影ユニットは、第一方向の偏光で画像光を照射する画像表示部と、前記画像光の経路上に配置され、前記第一方向の偏光を透過し、前記第一方向に交差する第二方向の偏光を遮る偏光板と、前記偏光板を湾曲させて保持する保持部を備えることを特徴とする。
(【0011】以降は省略されています)
この特許をJ-PlatPat(特許庁公式サイト)で参照する
関連特許
株式会社シグマ
結像光学系
1か月前
株式会社シグマ
結像光学系
27日前
日本精機株式会社
ミラーユニット
1か月前
アイカ工業株式会社
反射防止フィルム
1日前
日本電気株式会社
光モジュール
1か月前
個人
多方向視差効果のための微細穴加工
1か月前
豊田合成株式会社
調光装置
14日前
株式会社コシナ
投射ズームレンズ
20日前
日東電工株式会社
導光部材
27日前
京セラ株式会社
光学系
1か月前
日東電工株式会社
光学積層体
29日前
日本精機株式会社
ヘッドアップディスプレイ
1か月前
日本精機株式会社
ヘッドアップディスプレイ
27日前
キヤノン株式会社
表示装置
6日前
日本精機株式会社
ヘッドアップディスプレイ装置
28日前
日本精機株式会社
ヘッドアップディスプレイ装置
27日前
京セラ株式会社
アイソレータ
6日前
マクセル株式会社
映像表示装置
20日前
株式会社タムロン
ズームレンズ及び撮像装置
1か月前
株式会社リコー
光走査装置及び画像形成装置
27日前
スタンレー電気株式会社
透光性樹脂部材
1か月前
レーザーテック株式会社
光学装置及び調整方法
27日前
株式会社小糸製作所
画像生成装置
22日前
株式会社小糸製作所
画像表示装置
1か月前
マクセル株式会社
空中浮遊映像表示装置
14日前
株式会社小糸製作所
画像投影装置
14日前
マクセル株式会社
空中浮遊映像表示装置
29日前
株式会社小糸製作所
画像表示装置
22日前
株式会社小糸製作所
画像生成装置
8日前
吉祥園株式会社
近くの物体を遠くに鏡像させて見る光学器具
今日
個人
レーザポインタおよびレーザポインタの装着方法
27日前
キヤノン株式会社
光学系および撮像装置
14日前
AGC株式会社
位相差素子、円偏光板、及び光学部品
1か月前
キヤノン株式会社
走査光学装置及び画像形成装置
6日前
キヤノン株式会社
走査光学装置及び画像形成装置
8日前
TOPPANホールディングス株式会社
調光装置
6日前
続きを見る
他の特許を見る