TOP
|
特許
|
意匠
|
商標
特許ウォッチ
Twitter
他の特許を見る
公開番号
2025176633
公報種別
公開特許公報(A)
公開日
2025-12-04
出願番号
2024082915
出願日
2024-05-21
発明の名称
近くの物体を遠くに鏡像させて見る光学器具
出願人
吉祥園株式会社
代理人
主分類
G02B
25/02 20060101AFI20251127BHJP(光学)
要約
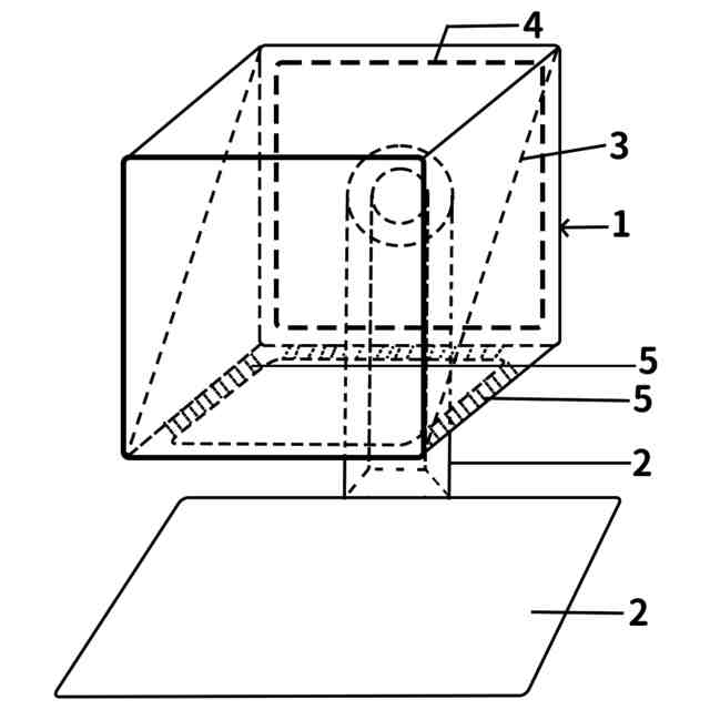
【課題】近くの物体を遠くに鏡像させて見る光学器具を提供する。
【解決手段】本やゲーム機などの物体(6)を筐体(1)の下に設置し、光源(5)が物体(6)を照らす。半透明半反射鏡(3)と反射鏡(4)による二重反射を介して、使用者は筐体(1)の前で遠くにある物体の像を見ることができる。
支持具(2)を調整することで、筐体(1)の高さを変えることができ、反射鏡(4)と物体(6)の間の距離を変えると使用者の目と物体(6)の像の距離を調整できる。
二重反射により、像は使用者から遠くに現れたように見える。これにより、近くの物体(6)を見ているときでも、使用者の目は遠くの物を見る状態にあり、目の疲れを軽減し、近視を予防できる。
【選択図】図1
特許請求の範囲
【請求項1】
近くの物体を遠くに鏡像させて見る光学器具であり、
筐体は支持具によって支えられており、筐体の前面と下部は透明である。
半透明半反射鏡は筐体内に設置され、上部が奥の方に傾いている。
反射鏡は筐体内に設置され、半透明半反射鏡の後方に位置する。
続きを表示(約 98 文字)
【請求項2】
前記光学器具は、
半透明半反射鏡の下部に光源が付いている。
【請求項3】
前記光学器具は、
筐体は支持具によって高さ調整可能である。
発明の詳細な説明
【技術分野】
【0001】
本考案は、光学機器に関するものである。
続きを表示(約 920 文字)
【発明の概要】
【発明が解決しようとする課題】
【0002】
本発明が解決しようとする課題は、長時間近くの物体を見ることによる目の疲れを解消し、近視を予防することにある。
【課題を解決するための手段】
【0003】
本やゲーム機などの物体(6)を筐体(1)の下に設置し、光源(5)が物体(6)を照らす。半透明半反射鏡(3)と反射鏡(4)による二重反射を介して、使用者は筐体(1)の前で遠くにある物体の像を見ることができる。
支持具(2)を調整することで、筐体(1)の高さを変えることができ、反射鏡(4)と物体(6)の間の距離を変えると使用者の目と物体(6)の像の距離を調整できる。
【発明の効果】
【0004】
二重反射により、像は使用者から遠くに現れたように見える。これにより、近くの物体を見ているときでも、使用者の目は遠くの物を見る状態にあり、目の疲れを軽減し、近視を予防できる。
【図面の簡単な説明】
【0005】
立体構造の模式図
平面構造の模式図
光学の原理図 参照符号リスト1筐体 2支持具 3半透明半反射鏡 4反射鏡 5光源 6物体 7前面 8下部
【 実施例】
【0006】
物体(6)が半透明半反射鏡(3)から30cm、半透明半反射鏡(3)が45度の傾斜角度であり反射鏡(4)から30cm、反射鏡(4)は半透明半反射鏡の30 cm +反射鏡の30 cm =60cm手前の対象物を反射することになる。反射鏡(4)が曲率半径1mの凹面鏡であれば、
凹面鏡がつくる像は、以下のような公式により表され、
1/u+1/v =2/R
物体と鏡との距離:u
鏡と像との距離:v
反射鏡の曲率半径:R
u =0.6 R=1 v=3
成像距離は3mとなる。つまり、このとき、使用者は前方3.6mの位置にある物体の像を見ることができる。
また、2回の反射を経るため、使用者は正立の像を見ることができる
この特許をJ-PlatPat(特許庁公式サイト)で参照する
関連特許
吉祥園株式会社
近くの物体を遠くに鏡像させて見る光学器具
今日
住友化学株式会社
偏光板
1か月前
カンタツ株式会社
光学系
1か月前
株式会社シグマ
結像光学系
27日前
株式会社シグマ
結像光学系
1か月前
住友化学株式会社
垂直偏光板
1か月前
東レ株式会社
貼合体の製造方法
1か月前
東レ株式会社
赤外線遮蔽構成体
1か月前
日本精機株式会社
ミラーユニット
1か月前
古河電気工業株式会社
融着機
1か月前
アイカ工業株式会社
反射防止フィルム
1日前
日本電気株式会社
光モジュール
1か月前
株式会社コシナ
投射ズームレンズ
20日前
豊田合成株式会社
調光装置
14日前
個人
多方向視差効果のための微細穴加工
1か月前
日東電工株式会社
導光部材
27日前
三菱電機株式会社
レンズモジュール
1か月前
日東電工株式会社
光学積層体
29日前
個人
眼鏡装着位置変更具および眼鏡
1か月前
京セラ株式会社
光学系
1か月前
AGC株式会社
インフィニティミラー
1か月前
住友化学株式会社
偏光板
1か月前
日本精機株式会社
ヘッドアップディスプレイ
27日前
日本精機株式会社
ヘッドアップディスプレイ
1か月前
住友化学株式会社
偏光板
1か月前
キヤノン株式会社
表示装置
6日前
日本精機株式会社
ヘッドアップディスプレイ装置
28日前
新光電気工業株式会社
光導波路部品
1か月前
日本精機株式会社
ヘッドアップディスプレイ装置
27日前
住友化学株式会社
偏光積層体
1か月前
住友化学株式会社
光学積層体
1か月前
新光電気工業株式会社
光導波路部品
1か月前
京セラ株式会社
アイソレータ
6日前
マクセル株式会社
映像表示装置
20日前
株式会社リコー
光走査装置及び画像形成装置
27日前
株式会社タムロン
ズームレンズ及び撮像装置
1か月前
続きを見る
他の特許を見る