TOP
|
特許
|
意匠
|
商標
特許ウォッチ
Twitter
他の特許を見る
公開番号
2025172361
公報種別
公開特許公報(A)
公開日
2025-11-26
出願番号
2024077829
出願日
2024-05-13
発明の名称
走査光学装置及び画像形成装置
出願人
キヤノン株式会社
代理人
個人
,
個人
主分類
G02B
26/12 20060101AFI20251118BHJP(光学)
要約
【課題】様々な印刷速度に対応した走査光学装置を、設備投資を極力抑制することによって安価に実現すること。
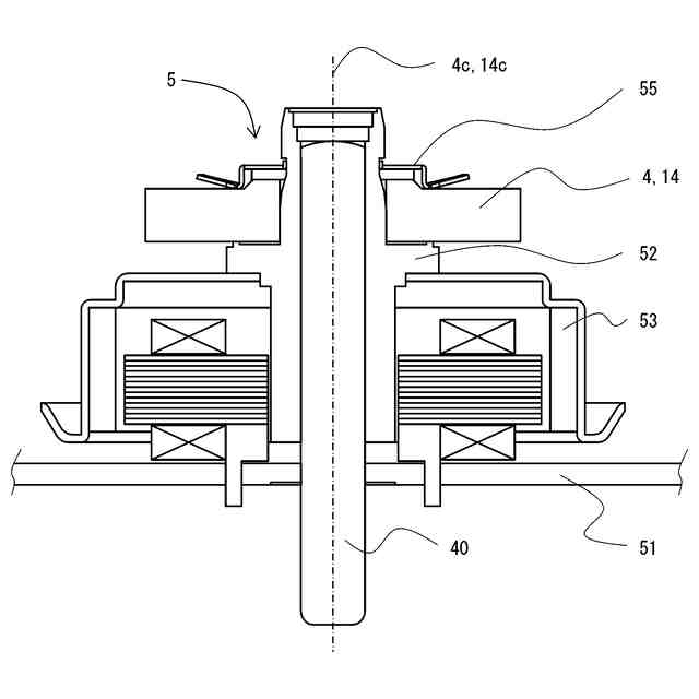
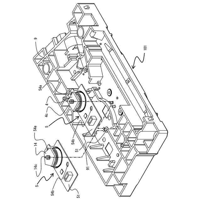
【解決手段】半導体レーザユニット1、入射レンズ3、回転多面鏡4(14)、モータ5、走査レンズ7、光学箱9、を備える走査光学装置101であって、モータ5は、回転多面鏡4、14の回転軸4c、14cと同軸に位置する軸40を有し、光学箱9は、軸40と嵌合する穴91を、軸40の軸方向と直交する平面部において異なる位置に複数(丸穴91a、91b)有する。
【選択図】図10
特許請求の範囲
【請求項1】
光源と、
前記光源が出射したレーザ光束を集光させる入射レンズと、
前記入射レンズを通過した前記レーザ光束を偏向走査する回転多面鏡と、
前記回転多面鏡と一体で前記回転多面鏡を回転駆動する偏向器と、
前記回転多面鏡で偏向されたレーザ光束を被走査面に対して走査するための走査レンズと、
前記光源、前記入射レンズ、前記回転多面鏡、前記偏向器、及び、前記走査レンズを収容する光学箱と、
を備える走査光学装置であって、
前記偏向器は、前記回転多面鏡の回転軸と同軸に位置する同軸部を有し、
前記光学箱は、前記同軸部と嵌合する嵌合部を、前記同軸部の軸方向と直交する平面部において異なる位置に複数有することを特徴とする走査光学装置。
続きを表示(約 2,000 文字)
【請求項2】
複数の前記嵌合部は、1つの嵌合部を基準として他の嵌合部の位置が、
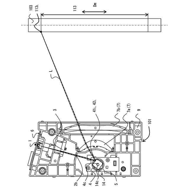
前記回転多面鏡の回転方向において、前記光源から前記回転多面鏡に向けて出射されるレーザ光束である入射レーザ光束と、前記回転多面鏡で反射され前記被走査面の書き始め位置に到達するレーザ光束が前記走査レンズに入射する前のレーザ光束と、の二等分線から、
前記入射レーザ光束と、前記回転多面鏡で反射され前記被走査面の書き終わり位置に到達するレーザ光束が前記走査レンズに入射する前のレーザ光束と、の二等分線まで、
の囲まれた領域に配置されることを特徴とする請求項1に記載の走査光学装置。
【請求項3】
2つの前記嵌合部を備え、
前記1つの嵌合部を第1嵌合部、前記他の嵌合部を第2嵌合部としたとき、
前記光学箱は、第1回転多面鏡と、前記第1回転多面鏡とは反射面の数が異なる第2回転多面鏡と、のどちらも組み付けることが可能であり、
前記同軸部は、前記第1回転多面鏡と同軸に位置する場合には前記第1嵌合部に嵌合し、前記第2回転多面鏡と同軸に位置する場合には前記第2嵌合部に嵌合することを特徴とする請求項2に記載の走査光学装置。
【請求項4】
前記第1嵌合部及び前記第2嵌合部は、円弧形状であり、前記第1嵌合部の円弧形状と前記第2嵌合部の円弧形状とが接続されて1つの穴部を形成していることを特徴とする請求項3に記載の走査光学装置。
【請求項5】
前記第1嵌合部及び前記第2嵌合部は、円形状であり、
前記第1嵌合部及び前記第2嵌合部の前記円形状の直径は、前記第1嵌合部の円形状の中心と前記第2嵌合部の円形状の中心との間の距離よりも小さいことを特徴とする請求項3に記載の走査光学装置。
【請求項6】
光源と、
前記光源が出射したレーザ光束を集光させる入射レンズと、
前記入射レンズを通過した前記レーザ光束を偏向走査する回転多面鏡と、
前記回転多面鏡と一体で前記回転多面鏡を回転駆動する偏向器と、
前記回転多面鏡で偏向されたレーザ光束を被走査面に対して走査するための走査レンズと、
前記光源、前記入射レンズ、前記回転多面鏡、前記偏向器、及び、前記走査レンズを収容する光学箱と、
を備える走査光学装置であって、
前記偏向器は、前記回転多面鏡の回転軸と同軸に位置する同軸部を有し、
前記光学箱は、前記同軸部の軸方向に直交する平面内における少なくとも一方向を規制し、前記平面内において前記一方向と直交する方向である他方向は規制していない点対称の穴形状部を有し、
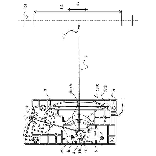
前記光源から前記回転多面鏡に向けて出射されるレーザ光束である入射レーザ光束と、前記回転多面鏡で反射され前記被走査面の書き始め位置に到達するレーザ光束が前記走査レンズに入射する前のレーザ光束と、の第1二等分線と、
前記入射レーザ光束と、前記回転多面鏡で反射され前記被走査面の書き終わり位置に到達するレーザ光束が前記走査レンズに入射する前のレーザ光束と、の第2二等分線と、
の交点を基準としたとき、
前記穴形状部の長手方向は、前記交点と前記回転多面鏡の回転方向における前記第1二等分線から前記第2二等分線までの間の領域に位置する点とを結ぶ仮想線の方向となっていることを特徴とする走査光学装置。
【請求項7】
前記同軸部は、前記穴形状部の前記長手方向における一方側に突き当てて組み付けられていることを特徴とする請求項6に記載の走査光学装置。
【請求項8】
前記穴形状部は、前記他方向を前記長手方向とし、前記長手方向における一端側の第1円弧部と、前記長手方向における他端側の第2円弧部と、前記一方向における一端側で前記第1円弧部と前記第2円弧部とを接続する第1直線部と、前記一方向における他端側で前記第1円弧部と前記第2円弧部とを接続する第2直線部と、を有し、
前記光学箱は、第1回転多面鏡と、前記第1回転多面鏡とは反射面の数が異なる第2回転多面鏡と、のどちらも組み付けることが可能であり、
前記同軸部は、前記第1回転多面鏡と同軸に位置する場合には前記第1円弧部に突き当てられており、前記第2回転多面鏡と同軸に位置する場合には前記第2円弧部に突き当てられていることを特徴とする請求項7に記載の走査光学装置。
【請求項9】
請求項1から請求項8のうちのいずれか1項に記載の走査光学装置と、
前記被走査面を有する像担持体と、
前記像担持体に前記レーザ光束を走査し、走査された画像に基づいて記録材に画像形成を行う画像形成手段と、
を備えることを特徴とする画像形成装置。
発明の詳細な説明
【技術分野】
【0001】
本発明は、走査光学装置及び画像形成装置に関する。すなわち、シート等の転写材(記録媒体)上に画像を形成する機能を備えた、例えば、レーザプリンタ、複写機又はファクシミリ等の装置に使用される走査光学装置及び走査光学装置を有する画像形成装置に関する。
続きを表示(約 2,100 文字)
【背景技術】
【0002】
従来のレーザプリンタ等の画像形成装置に用いられる走査光学装置は、画像信号に応じて光源から出射したレーザ光束を光変調し、光変調されたレーザ光束を例えば回転多面鏡を有する偏向器によって偏向走査している。偏向走査されたレーザ光束は、fθレンズなどの走査レンズによって感光ドラム上に結像させて静電潜像を形成する。次いで、感光ドラム上の静電潜像を現像装置によってトナー像に顕像化し、これを記録紙等の記録材に転写して定着装置へ送り、記録材上のトナーを加熱定着させることで印刷(プリント)が行われる。画像形成装置は、印刷速度や耐久性等が異なる様々な製品が複数上市され、ユーザの様々なユースケースに対応してきた。例えば、パーソナルユースでは、よりコンパクトな画像形成装置が求められ、大規模オフィスでは、速い印刷速度で高い耐久性が求められる。
【0003】
従来の画像形成装置は、これらの様々なユーザのニーズに対応するために、印刷速度やその他のスペックに応じて様々な画像形成装置が開発されてきた。それに伴って、走査光学装置も画像形成装置に応じて、最適化されるように別々に開発されてきた。例えば特許文献1では、複数の偏向器を組み付け可能な光学箱の構成が示されている。
【先行技術文献】
【特許文献】
【0004】
特許第6700746号公報
【発明の概要】
【発明が解決しようとする課題】
【0005】
しかしながら、従来例では次のような課題がある。異なる偏向器を組み付ける光学箱の各穴の軸は共通であり、回転多面鏡は各偏向器で同じ面数となっている。そのため、画像形成装置の印刷速度を速くするために面数を増やした回転多面鏡に対応することが困難である。通常は、回転多面鏡の面数を増やすと、それに対応する光学系が新規となり、新規の走査光学装置となる。したがって、新たな製造装置や金型などの設備を投資することになり、多大なコストがかかるおそれがある。その結果、走査光学装置や画像形成装置のコストが上昇するおそれがある。
【0006】
本発明は、このような状況のもとでなされたもので、様々な印刷速度に対応した走査光学装置を、設備投資を極力抑制することによって安価に実現することを目的とする。
【課題を解決するための手段】
【0007】
上述した課題を解決するために、本発明は、以下の構成を備える。
【0008】
(1)光源と、前記光源が出射したレーザ光束を集光させる入射レンズと、前記入射レンズを通過した前記レーザ光束を偏向走査する回転多面鏡と、前記回転多面鏡と一体で前記回転多面鏡を回転駆動する偏向器と、前記回転多面鏡で偏向されたレーザ光束を被走査面に対して走査するための走査レンズと、前記光源、前記入射レンズ、前記回転多面鏡、前記偏向器、及び、前記走査レンズを収容する光学箱と、を備える走査光学装置であって、前記偏向器は、前記回転多面鏡の回転軸と同軸に位置する同軸部を有し、前記光学箱は、前記同軸部と嵌合する嵌合部を、前記同軸部の軸方向と直交する平面部において異なる位置に複数有することを特徴とする走査光学装置。
【0009】
(2)光源と、前記光源が出射したレーザ光束を集光させる入射レンズと、前記入射レンズを通過した前記レーザ光束を偏向走査する回転多面鏡と、前記回転多面鏡と一体で前記回転多面鏡を回転駆動する偏向器と、前記回転多面鏡で偏向されたレーザ光束を被走査面に対して走査するための走査レンズと、前記光源、前記入射レンズ、前記回転多面鏡、前記偏向器、及び、前記走査レンズを収容する光学箱と、を備える走査光学装置であって、前記偏向器は、前記回転多面鏡の回転軸と同軸に位置する同軸部を有し、前記光学箱は、前記同軸部の軸方向に直交する平面内における少なくとも一方向を規制し、前記平面内において前記一方向と直交する方向である他方向は規制していない点対称の穴形状部を有し、前記光源から前記回転多面鏡に向けて出射されるレーザ光束である入射レーザ光束と、前記回転多面鏡で反射され前記被走査面の書き始め位置に到達するレーザ光束が前記走査レンズに入射する前のレーザ光束と、の第1二等分線と、前記入射レーザ光束と、前記回転多面鏡で反射され前記被走査面の書き終わり位置に到達するレーザ光束が前記走査レンズに入射する前のレーザ光束と、の第2二等分線と、の交点を基準としたとき、前記穴形状部の長手方向は、前記交点と前記回転多面鏡の回転方向における前記第1二等分線から前記第2二等分線までの間の領域に位置する点とを結ぶ仮想線の方向となっていることを特徴とする走査光学装置。
【0010】
(3)前記(1)又は前記(2)に記載の走査光学装置と、前記被走査面を有する像担持体と、前記像担持体に前記レーザ光束を走査し、走査された画像に基づいて記録材に画像形成を行う画像形成手段と、を備えることを特徴とする画像形成装置。
【発明の効果】
(【0011】以降は省略されています)
この特許をJ-PlatPat(特許庁公式サイト)で参照する
関連特許
キヤノン株式会社
容器
1か月前
キヤノン株式会社
容器
28日前
キヤノン株式会社
トナー
1か月前
キヤノン株式会社
トナー
1か月前
キヤノン株式会社
トナー
20日前
キヤノン株式会社
トナー
1か月前
キヤノン株式会社
トナー
1か月前
キヤノン株式会社
トナー
1か月前
キヤノン株式会社
電子機器
20日前
キヤノン株式会社
定着装置
1か月前
キヤノン株式会社
電子機器
15日前
キヤノン株式会社
定着装置
7日前
キヤノン株式会社
撮像装置
20日前
キヤノン株式会社
記録装置
20日前
キヤノン株式会社
撮像装置
1か月前
キヤノン株式会社
撮像装置
1か月前
キヤノン株式会社
撮像装置
1か月前
キヤノン株式会社
雲台装置
20日前
キヤノン株式会社
測距装置
22日前
キヤノン株式会社
撮像装置
15日前
キヤノン株式会社
記録装置
1か月前
キヤノン株式会社
現像装置
1か月前
キヤノン株式会社
定着装置
13日前
キヤノン株式会社
記録装置
13日前
キヤノン株式会社
撮像装置
7日前
キヤノン株式会社
撮像装置
7日前
キヤノン株式会社
定着装置
13日前
キヤノン株式会社
定着装置
7日前
キヤノン株式会社
定着装置
13日前
キヤノン株式会社
現像容器
1か月前
キヤノン株式会社
測距装置
1か月前
キヤノン株式会社
現像装置
1か月前
キヤノン株式会社
現像容器
1か月前
キヤノン株式会社
現像装置
1か月前
キヤノン株式会社
撮影装置
1か月前
キヤノン株式会社
記録装置
1か月前
続きを見る
他の特許を見る