TOP
|
特許
|
意匠
|
商標
特許ウォッチ
Twitter
他の特許を見る
公開番号
2025158433
公報種別
公開特許公報(A)
公開日
2025-10-17
出願番号
2024060957
出願日
2024-04-04
発明の名称
画像投影装置
出願人
株式会社小糸製作所
代理人
弁理士法人プロウィン
主分類
G02B
27/01 20060101AFI20251009BHJP(光学)
要約
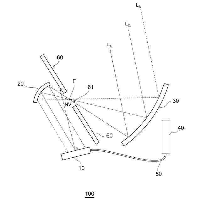
【課題】外光の迷光を抑制し、虚像の視認性を向上させることが可能な画像投影装置を提供する。
【解決手段】虚像を表示するための表示部に対して画像光を投影する画像投影装置(100)であって、画像光を照射する画像表示部(10)と、画像表示部(10)から入射した画像光を反射する一次ミラー(20)を備え、画像表示部(10)から一次ミラー(20)の間における画像光の中心の光路を基準線(L
C
)とし、画像表示部(10)における表示面に垂直な方向を法線方向(NV)とし、基準線(L
C
)と法線方向(NV)が異なっている画像投影装置(100)。
【選択図】図2
特許請求の範囲
【請求項1】
虚像を表示するための表示部に対して画像光を投影する画像投影装置であって、
前記画像光を照射する画像表示部と、
前記画像表示部から入射した前記画像光を反射する一次ミラーを備え、
前記画像表示部から前記一次ミラーの間における前記画像光の中心の光路を基準線とし、
前記画像表示部における表示面に垂直な方向を法線方向とし、
前記基準線と前記法線方向が異なっていることを特徴とする画像投影装置。
続きを表示(約 560 文字)
【請求項2】
請求項1に記載の画像投影装置であって、
前記法線方向は、前記一次ミラーの反射面より外に向いていることを特徴とする画像投影装置。
【請求項3】
請求項1に記載の画像投影装置であって、
前記一次ミラーで反射された前記画像光が入射して反射する二次ミラーを備え、
前記画像光は、前記一次ミラーと前記二次ミラーの間において、高さ方向で中間結像されることを特徴とする画像投影装置。
【請求項4】
請求項3に記載の画像投影装置であって、
前記一次ミラーと前記二次ミラーの間に、開口部を有する中間マスクが配置され、
前記画像光は前記開口部を通過することを特徴とする画像投影装置。
【請求項5】
請求項4に記載の画像投影装置であって、
前記法線方向は、前記中間マスクの前記開口部以外に向いていることを特徴とする画像投影装置。
【請求項6】
請求項3から5の何れか一つに記載の画像投影装置であって、
前記画像表示部を制御する回路基板と、
前記画像表示部と前記回路基板を電気的に接続するケーブルを備え、
前記回路基板は、前記二次ミラーの裏面側に配置されることを特徴とする画像投影装置。
発明の詳細な説明
【技術分野】
【0001】
本発明は、画像投影装置に関し、特に虚像を表示するための表示部に対して投影画像を照射する画像投影装置に関する。
続きを表示(約 1,300 文字)
【背景技術】
【0002】
従来から、車両内に各種情報を表示する装置として、アイコンを点灯表示する計器盤が用いられている。また、表示する情報量の増加とともに、計器盤に画像表示装置を埋め込むことや、計器盤全体を画像表示装置で構成することも提案されている。
【0003】
しかし、計器盤は車両のフロントガラス(ウィンドシールド)より下方に位置しているため、計器盤に表示された情報を運転者が視認するには、運転中に視線を下方に移動させる必要があるため好ましくない。そこで、フロントガラスに画像を投影して、運転者が車両の前方を視認したときに情報を読み取れるようにするヘッドアップディスプレイ(以下HUD:Head Up Display)も提案されている(例えば、特許文献1,2を参照)。
【先行技術文献】
【特許文献】
【0004】
特開2019-119248号公報
特開2019-119262号公報
【発明の概要】
【発明が解決しようとする課題】
【0005】
このような従来のHUD装置では、表示部であるウィンドシールドを介して投影画像を照射するため、ウィンドシールドの下方から上方に向けて光を照射するための投影光学系を備えている。そのため、太陽光等の外光がウィンドシールドの上方から入射した場合には、画像を表示する画像照射部まで投影光学系を介して外光が到達してしまう。このとき、画像表示部に到達した外光の一部は反射されて迷光となり、投影光学系およびウィンドシールドを介して視点位置にまで到達して、虚像の視認性が悪化する可能性がある。
【0006】
そこで本発明は、上記従来の問題点に鑑みなされたものであり、外光の迷光を抑制し、虚像の視認性を向上させることが可能な画像投影装置を提供することを目的とする。
【課題を解決するための手段】
【0007】
上記課題を解決するために、本発明の画像投影装置は、虚像を表示するための表示部に対して画像光を投影する画像投影装置であって、前記画像光を照射する画像表示部と、前記画像表示部から入射した前記画像光を反射する一次ミラーを備え、前記画像表示部から前記一次ミラーの間における前記画像光の中心の光路を基準線とし、前記画像表示部における表示面に垂直な方向を法線方向とし、前記基準線と前記法線方向が異なっていることを特徴とする。
【0008】
このような本発明の画像投影装置では、画像表示部から一次ミラーの間における画像光の基準線と、画像表示部の法線方向とを異ならせるため、画像表示部に到達した外光が視点位置にまで反射される可能性を低減し、外光の迷光を抑制し、虚像の視認性を向上させることが可能となる。
【0009】
また、本発明の一態様では、前記法線方向は、前記一次ミラーの反射面より外に向いている。
【0010】
また、本発明の一態様では、前記一次ミラーで反射された前記画像光が入射して反射する二次ミラーを備え、前記画像光は、前記一次ミラーと前記二次ミラーの間において、高さ方向で中間結像される。
(【0011】以降は省略されています)
この特許をJ-PlatPat(特許庁公式サイト)で参照する
関連特許
株式会社小糸製作所
車両用灯具
22日前
株式会社小糸製作所
車両用灯具
21日前
株式会社小糸製作所
車輌用灯具
7日前
株式会社小糸製作所
車両用灯具
7日前
株式会社小糸製作所
車両用灯具
7日前
株式会社小糸製作所
車両用灯具
21日前
株式会社小糸製作所
車両用灯具
8日前
株式会社小糸製作所
車両用灯具
10日前
株式会社小糸製作所
車両用灯具
14日前
株式会社小糸製作所
車両用灯具
14日前
株式会社小糸製作所
車両用灯具
14日前
株式会社小糸製作所
照明表示装置
21日前
株式会社小糸製作所
画像投影装置
14日前
株式会社小糸製作所
画像表示装置
1日前
株式会社小糸製作所
道路冠水通知システム
8日前
株式会社小糸製作所
電子ユニット及び車両用灯具
21日前
株式会社小糸製作所
レンズに付着する雪を融かす融雪機構
17日前
株式会社小糸製作所
画像投影ユニットおよび画像投影装置
17日前
株式会社小糸製作所
車両用灯具及び車両用灯具の製造方法
21日前
株式会社小糸製作所
開閉機構、車両用灯具及び車両用前照灯
21日前
株式会社小糸製作所
車両用灯具、ハウジング及びハウジングの製造方法
21日前
株式会社小糸製作所
画像照射装置、画像投影装置、および画像照射方法
8日前
株式会社小糸製作所
配光制御装置、配光制御プログラムおよび車両用前照灯システム
21日前
株式会社小糸製作所
車両用赤外線センサ内蔵灯具
1日前
個人
立体像表示装置
17日前
カンタツ株式会社
光学系
9日前
住友化学株式会社
偏光板
14日前
株式会社シグマ
結像光学系
3日前
東レ株式会社
積層フィルム
23日前
住友化学株式会社
垂直偏光板
14日前
東レ株式会社
貼合体の製造方法
17日前
東レ株式会社
赤外線遮蔽構成体
17日前
日本精機株式会社
ミラーユニット
2日前
古河電気工業株式会社
融着機
9日前
日本電気株式会社
光モジュール
3日前
個人
多方向視差効果のための微細穴加工
4日前
続きを見る
他の特許を見る