TOP
|
特許
|
意匠
|
商標
特許ウォッチ
Twitter
他の特許を見る
公開番号
2025154613
公報種別
公開特許公報(A)
公開日
2025-10-10
出願番号
2024057715
出願日
2024-03-29
発明の名称
車両用灯具、ハウジング及びハウジングの製造方法
出願人
株式会社小糸製作所
代理人
弁理士法人シリウスIP
,
個人
主分類
F21S
45/00 20180101AFI20251002BHJP(照明)
要約
【課題】コードを所定箇所に固定する新たな技術を提供する。
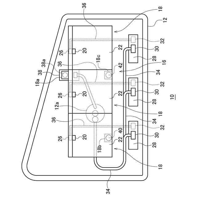
【解決手段】車両用灯具10は、ハウジングと、ハウジングの開口部を覆うことで灯室16を形成するアウターレンズ14と、灯室16内に設けられた電子部品と、電子部品へ給電するワイヤーハーネス34と、ワイヤーハーネス34をハウジングに固定する面ファスナ44と、を備える。
【選択図】図2
特許請求の範囲
【請求項1】
ハウジングと、
前記ハウジングの開口部を覆うことで灯室を形成するアウターレンズと、
前記灯室内に設けられた電子部品と、
前記電子部品へ給電するハーネスと、
前記ハーネスを前記ハウジングに固定する面ファスナと、
を備えることを特徴とする車両用灯具。
続きを表示(約 980 文字)
【請求項2】
前記面ファスナは、
前記ハウジングに設けられている複数のフック部からなる係合部と、
前記ハーネスに固定され、複数のループ部からなる被係合部と、を有し、
前記係合部と前記被係合部とが接触することで前記ハーネスを前記ハウジングに固定することを特徴とする請求項1に記載の車両用灯具。
【請求項3】
前記複数のフック部は、前記ハウジングと一体成形で形成されていることを特徴とする請求項2に記載の車両用灯具。
【請求項4】
前記複数のフック部は、前記ハウジングと異なる材料で構成されていることを特徴とする請求項3に記載の車両用灯具。
【請求項5】
前記複数のフック部は、前記ハウジングに固定される別部品であることを特徴とする請求項2に記載の車両用灯具。
【請求項6】
前記ハウジングは、金型で製造された樹脂部品であり、
前記複数のフック部は、それぞれの軸部が延びる方向が、前記ハウジングを型から抜く方向と異なるように並んでいることを特徴とする請求項5に記載の車両用灯具。
【請求項7】
車両用灯具の灯室を構成するハウジングであって、
灯室側の内面に面ファスナとして機能する複数のフック部が設けられていることを特徴とするハウジング。
【請求項8】
車両用灯具の灯室を構成するハウジングの製造方法であって、
コア側の第1の金型と、キャビティ側の第2の金型とを準備する工程と、
前記第1の金型と前記第2の金型とを組み合わせ、該第1の金型と該第2の金型との間の空洞に樹脂を射出する工程と、
前記空洞に樹脂が充填された後で前記第1の金型と前記第2の金型とを離間させる工程と、
前記第2の金型から離間した前記第1の金型に保持されたハウジングを該第1の金型から外す工程と、を含み、
前記第1の金型は、面ファスナのフック部となる複数の微細凹部が形成された成形面を有することを特徴とするハウジングの製造方法。
【請求項9】
前記微細凹部は、開口部から底に向かう方向が、前記ハウジングを前記第1の金型から抜く方向に沿っていることを特徴とする請求項8に記載のハウジングの製造方法。
発明の詳細な説明
【技術分野】
【0001】
本発明は、車両用灯具に関する。
続きを表示(約 1,200 文字)
【背景技術】
【0002】
従来、車両用灯具の光源に給電するためのコードをハウジング内に固定する様々な考案がなされている。例えば、ハウジングの背面に3本の支柱を車両前後方向に沿って互いに平行に突設し、各支柱の先端にフック爪を形成し、隣接するフック爪の間隔を前記コードの外径よりも小さく設定し、隣接する支柱の前記フック爪以外の部位の間にコード保持部を形成し、該コード保持部の幅を前記コードの外径と略等しく設定したことを特徴とする車両用灯具のコードクランプ構造が知られている(特許文献1参照)。
【先行技術文献】
【特許文献】
【0003】
特開2017-130367号公報
【発明の概要】
【発明が解決しようとする課題】
【0004】
しかしながら、上述のコードクランプ構造は、コードが振動でずれたり外れたりしないように固定箇所ごとに3つのフック爪をハウジングに設ける必要がある。また、コードの固定箇所では、コードをU字状にして隣接するフック爪同士の間に押し込む必要があり、作業性に改善の余地がある。
【0005】
本発明はこうした状況に鑑みてなされたものであり、その例示的な目的の一つは、コードを所定箇所に固定する新たな技術を提供することにある。
【課題を解決するための手段】
【0006】
上記課題を解決するために、本発明のある態様の車両用灯具は、ハウジングと、ハウジングの開口部を覆うことで灯室を形成するアウターレンズと、灯室内に設けられた電子部品と、電子部品へ給電するハーネスと、ハーネスをハウジングに固定する面ファスナと、を備える。
【0007】
この態様によると、ハーネスのようなコードを面ファスナでハウジングに固定できる。
【0008】
面ファスナは、ハウジングに設けられている複数のフック部からなる係合部と、ハーネスに固定され、複数のループ部からなる被係合部と、を有してもよい。また、面ファスナは、係合部と被係合部とが接触することでハーネスをハウジングに固定してもよい。これにより、係合部をハウジングに設けることで、ハーネスに固定された被係合部と係合部とを接触させるだけでハーネスをハウジングに固定できる。ここで、係合部と被係合部とが接触することで部品同士が固定されるとは、接触している係合部の一部と被係合部の一部とがミクロに見て係合している状態が含まれる。
【0009】
複数のフック部は、ハウジングと一体成形で形成されていてもよい。これにより、部品点数を低減できるとともに、フック部をハウジングに取り付ける工程が不要となる。
【0010】
複数のフック部は、ハウジングと異なる材料で構成されていてもよい。これにより、ハウジングに必要な特性に適した第1の材料を選択しつつ、フック部に必要な特性に適した第2の材料を選択できる。
(【0011】以降は省略されています)
この特許をJ-PlatPat(特許庁公式サイト)で参照する
関連特許
株式会社小糸製作所
車両用灯具
1か月前
株式会社小糸製作所
車輌用灯具
1か月前
株式会社小糸製作所
車両用灯具
1か月前
株式会社小糸製作所
車両用灯具
1か月前
株式会社小糸製作所
車両用灯具
1か月前
株式会社小糸製作所
車両用灯具
1か月前
株式会社小糸製作所
車両用灯具
1か月前
株式会社小糸製作所
車両用灯具
1か月前
株式会社小糸製作所
車両用灯具
1か月前
株式会社小糸製作所
車両用灯具
1か月前
株式会社小糸製作所
車両用灯具
1か月前
株式会社小糸製作所
車両用灯具
1か月前
株式会社小糸製作所
車両用灯具
23日前
株式会社小糸製作所
画像表示装置
28日前
株式会社小糸製作所
虚像表示装置
1か月前
株式会社小糸製作所
画像生成装置
15日前
株式会社小糸製作所
画像表示装置
15日前
株式会社小糸製作所
虚像表示装置
1日前
株式会社小糸製作所
画像投影装置
7日前
株式会社小糸製作所
画像投影装置
1か月前
株式会社小糸製作所
表示システム
1か月前
株式会社小糸製作所
画像生成装置
1日前
株式会社小糸製作所
照明表示装置
1か月前
株式会社小糸製作所
固定構造及び固定方法
21日前
株式会社小糸製作所
道路冠水通知システム
1か月前
株式会社小糸製作所
ヘッドアップディスプレイ
15日前
株式会社小糸製作所
表示制御装置及び表示装置
1か月前
株式会社小糸製作所
電子ユニット及び車両用灯具
1か月前
株式会社小糸製作所
波長変換部材および白色発光素子
今日
株式会社小糸製作所
レンズに付着する雪を融かす融雪機構
1か月前
株式会社小糸製作所
画像投影ユニットおよび画像投影装置
1か月前
株式会社小糸製作所
車両用灯具及び車両用灯具の製造方法
1か月前
株式会社小糸製作所
開閉機構、車両用灯具及び車両用前照灯
1か月前
株式会社小糸製作所
車両用灯具および車両用灯具の製造方法
1日前
株式会社小糸製作所
車両用灯具、ハウジング及びハウジングの製造方法
1か月前
株式会社小糸製作所
画像照射装置、画像投影装置、および画像照射方法
1か月前
続きを見る
他の特許を見る