TOP
|
特許
|
意匠
|
商標
特許ウォッチ
Twitter
他の特許を見る
公開番号
2025158476
公報種別
公開特許公報(A)
公開日
2025-10-17
出願番号
2024061048
出願日
2024-04-04
発明の名称
車両用灯具
出願人
株式会社小糸製作所
代理人
個人
,
個人
,
個人
主分類
F21S
43/19 20180101AFI20251009BHJP(照明)
要約
【課題】簡易な構成で基板を支持することのできる車両用灯具を提供する。
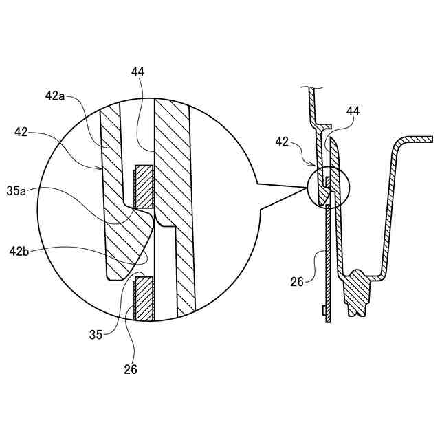
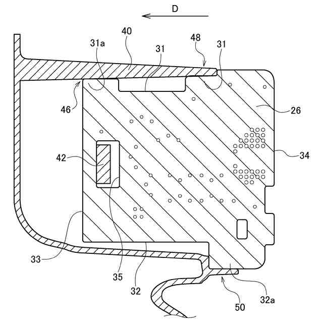
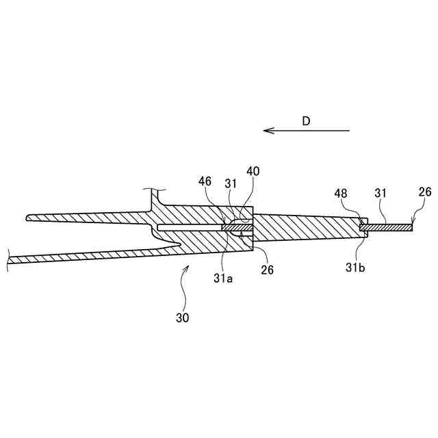
【解決手段】車両用灯具10の第3灯具ユニット20は、LED22と、LED22を制御する制御回路24が形成された基板26と、基板26を支持する支持構造30と、を備える。支持構造30は、基板26の第1辺31をガイドするレール部40と、レール部40に沿って差し込まれた基板26を係止するランス部42と、を備える。
【選択図】図2
特許請求の範囲
【請求項1】
光源と、
前記光源を制御する制御回路が形成された基板と、
前記基板を支持する支持構造と、
を備え、
前記支持構造は、
前記基板の第1辺をガイドするレール部と、
前記レール部に沿って差し込まれた前記基板を係止するランス部と、
を備えることを特徴とする車両用灯具。
続きを表示(約 660 文字)
【請求項2】
前記支持構造は、
前記基板の前記第1辺における基板差し込み方向奥側の部位を位置決めする第1基板位置決め部と、
前記基板の前記第1辺における基板差し込み方向手前側の部位を位置決めする第2基板位置決め部と、
前記基板の前記第1辺と対向する第2辺における基板差し込み方向手前側の部位を位置決めする第3基板位置決め部と、
をさらに備えることを特徴とする請求項1に記載の車両用灯具。
【請求項3】
前記第1基板位置決め部は、前記レール部の基板差し込み方向奥側部分を細幅にして、前記基板の前記第1辺における基板差し込み方向奥側の部位を狭着するように形成されることを特徴とする請求項2に記載の車両用灯具。
【請求項4】
前記第2基板位置決め部は、前記基板の前記第1辺における基板差し込み方向手前側の部位を狭着するように形成され、
前記第3基板位置決め部は、前記基板の前記基板の前記第2辺における基板差し込み方向手前側の部位を狭着するように形成される、ことを特徴とする請求項2または3に記載の車両用灯具。
【請求項5】
前記基板は、可動側コネクタが嵌合される待受側コネクタを備え、
前記待受側コネクタと前記可動側コネクタの嵌合が不完全な状態で前記基板が前記レール部に沿って差し込まれた際に、前記可動側コネクタを前記待受側コネクタに押圧するコネクタ押圧部をさらに備えることを特徴とする請求項1に記載の車両用灯具。
発明の詳細な説明
【技術分野】
【0001】
本発明は、車両用灯具に関する。
続きを表示(約 1,300 文字)
【背景技術】
【0002】
従来、LED等の光源と、該光源を制御する回路が形成された基板とを備える車両用灯具が知られている(例えば特許文献1参照)。
【先行技術文献】
【特許文献】
【0003】
特開2023-168894号公報
【発明の概要】
【発明が解決しようとする課題】
【0004】
上記特許文献1に開示された車両用灯具では、ねじを用いて基板がランプボディに支持されているが、安価な車両用灯具を実現するためには、簡易な構成で基板を支持することが望ましい。
【0005】
本発明はこうした状況に鑑みてなされたものであり、その目的は、簡易な構成で基板を支持することのできる車両用灯具を提供することにある。
【課題を解決するための手段】
【0006】
上記課題を解決するために、本発明のある態様の車両用灯具は、光源と、光源を制御する制御回路が形成された基板と、基板を支持する支持構造と、を備える。支持構造は、基板の第1辺をガイドするレール部と、レール部に沿って差し込まれた基板を係止するランス部と、を備える。
【発明の効果】
【0007】
本発明によれば、簡易な構成で基板を支持することのできる車両用灯具を提供できる。
【図面の簡単な説明】
【0008】
実施形態に係る車両用灯具の概略斜視図である。
第3灯具ユニットの構成を示す概略斜視図である。
第3灯具ユニットの構成を示す概略側面図である。
第3灯具ユニットの構成を示す概略正面図である。
図3に示す第3灯具ユニットの概略A-A断面図である。
図3に示す第3灯具ユニットの概略B-B断面図である。
図4に示す第3灯具ユニットの概略C-C断面図である。
【発明を実施するための形態】
【0009】
以下、本発明を好適な実施の形態をもとに図面を参照しながら説明する。以下の構成は本開示を理解するための例示を目的とするものであり、本開示の範囲は、添付の請求の範囲によってのみ定まる。各図面に示される同一または同等の構成要素、部材には、同一の符号を付するものとし、適宜重複した説明は省略する。また、各図面における部材の寸法は、理解を容易にするために適宜拡大、縮小して示される。また、各図面において実施の形態を説明する上で重要ではない部材の一部は省略して表示する。また、本明細書において「上」、「下」、「前」、「後」、「左」、「右」、「内」、「外」等の方向を表す用語が用いられる場合、それらは車両用灯具が車両に装着されたときの姿勢における方向を意味する。
【0010】
図1は、実施形態に係る車両用灯具10の概略斜視図である。図1に示すように、車両用灯具10は、ランプボディ12と、ランプボディ12の前面開口部を覆う透明なアウターカバー(図示せず)とを備える。ランプボディ12とアウターカバーは、灯室を形成している。
(【0011】以降は省略されています)
この特許をJ-PlatPat(特許庁公式サイト)で参照する
関連特許
株式会社小糸製作所
車両用灯具
1か月前
株式会社小糸製作所
車両用灯具
15日前
株式会社小糸製作所
車両用灯具
22日前
株式会社小糸製作所
車両用灯具
22日前
株式会社小糸製作所
車両用灯具
25日前
株式会社小糸製作所
車両用灯具
23日前
株式会社小糸製作所
車両用灯具
25日前
株式会社小糸製作所
車両用灯具
15日前
株式会社小糸製作所
車両用灯具
15日前
株式会社小糸製作所
車両用灯具
11日前
株式会社小糸製作所
車両用灯具
9日前
株式会社小糸製作所
表示用灯具
29日前
株式会社小糸製作所
車両用灯具
8日前
株式会社小糸製作所
車両用灯具
8日前
株式会社小糸製作所
車輌用灯具
8日前
株式会社小糸製作所
表示用灯具
29日前
株式会社小糸製作所
照明表示装置
22日前
株式会社小糸製作所
表示システム
24日前
株式会社小糸製作所
虚像表示装置
24日前
株式会社小糸製作所
画像表示装置
2日前
株式会社小糸製作所
画像投影装置
15日前
株式会社小糸製作所
道路冠水通知システム
9日前
株式会社小糸製作所
表示制御装置及び表示装置
24日前
株式会社小糸製作所
電子ユニット及び車両用灯具
22日前
株式会社小糸製作所
車両用灯具及び車両用灯具の製造方法
22日前
株式会社小糸製作所
レンズに付着する雪を融かす融雪機構
18日前
株式会社小糸製作所
画像投影ユニットおよび画像投影装置
18日前
株式会社小糸製作所
開閉機構、車両用灯具及び車両用前照灯
22日前
株式会社小糸製作所
車両用灯具、ハウジング及びハウジングの製造方法
22日前
株式会社小糸製作所
画像照射装置、画像投影装置、および画像照射方法
9日前
株式会社小糸製作所
光源ユニット、光源ユニットの製造方法、および車両用灯具
23日前
株式会社小糸製作所
配光制御装置、配光制御プログラムおよび車両用前照灯システム
22日前
株式会社小糸製作所
車両用センサ装置
25日前
株式会社小糸製作所
調整装置、調整システム、制御方法、制御プログラム、および記録媒体
29日前
株式会社小糸製作所
車両用赤外線センサ内蔵灯具
2日前
個人
室外機器
4か月前
続きを見る
他の特許を見る