TOP
|
特許
|
意匠
|
商標
特許ウォッチ
Twitter
他の特許を見る
公開番号
2025159519
公報種別
公開特許公報(A)
公開日
2025-10-21
出願番号
2024062143
出願日
2024-04-08
発明の名称
車両用灯具
出願人
株式会社小糸製作所
代理人
個人
主分類
F21S
43/237 20180101AFI20251014BHJP(照明)
要約
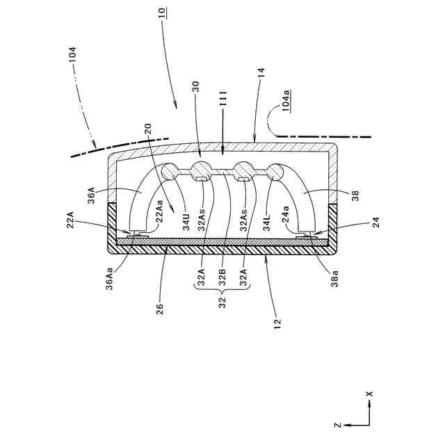
【課題】導光体を備えた車両用灯具において、安価な灯具構成により、灯具点灯時に導光体がその両端部まで発光して見えるようにする。
【解決手段】導光体30として、後面に複数の反射素子32Asが形成されたメイン導光部32と、柱状に形成された第1および第2サブ導光部34U、34Lとが、メイン導光部32を中心にして並列に配置された状態で車幅方向に延びるように配置された構成とする。また、1対の第1発光素子22Aおよび1対の第2発光素子24が、それぞれ車幅方向の2箇所に配置された構成とする。その上で、導光体30として、左右1対の第1発光素子22Aからの出射光を車幅方向外側へ向けて第1サブ導光部34Uに入射させるための左右1対の第1光入射部36Aと、左右1対の第2発光素子24からの出射光を車幅方向内側へ向けて第2サブ導光部34Lに入射させるための左右1対の第2光入射部38とを備えた構成とする。
【選択図】図3
特許請求の範囲
【請求項1】
光源からの出射光を、導光体を介して灯具前方へ向けて照射するように構成された車両用灯具において、
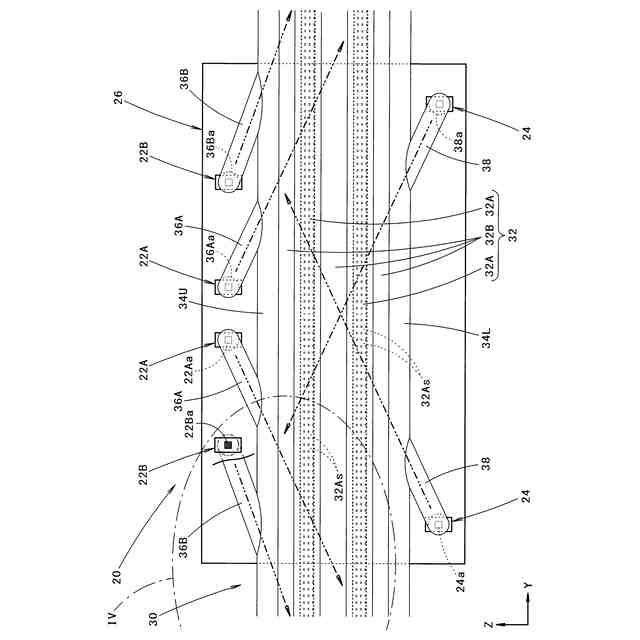
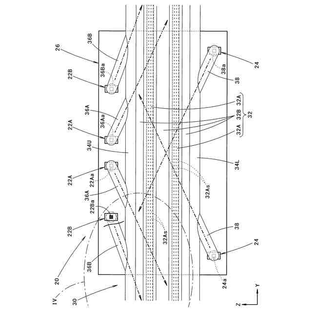
上記導光体は、後面に複数の反射素子が形成されたメイン導光部と、柱状に形成された第1および第2サブ導光部とが、上記メイン導光部を中心にして並列状態で所要方向に延びるように配置された構成となっており、
上記光源として、上記第1サブ導光部に光を入射させるために上記所要方向の2箇所に配置された1対の第1発光素子と、上記第2サブ導光部に光を入射させるために上記所要方向の2箇所に配置された1対の第2発光素子とを備えており、
上記導光体は、上記1対の第1発光素子からの出射光を上記第1サブ導光部に入射させるための1対の第1光入射部と、上記1対の第2発光素子からの出射光を上記第2サブ導光部に入射させるための1対の第2光入射部とを備えており、
上記1対の第1光入射部は、上記1対の第1発光素子からの出射光を上記所要方向に関して互いに離れる方向へ向けて上記第1サブ導光部に入射させるように構成されており、
上記1対の第2光入射部は、上記1対の第2発光素子からの出射光を上記所要方向に関して互いに近づく方向へ向けて上記第2サブ導光部に入射させるように構成されている、ことを特徴とする車両用灯具。
続きを表示(約 420 文字)
【請求項2】
上記1対の第1発光素子および上記1対の第2発光素子は、共通の基板に搭載されており、
上記1対の第1光入射部および上記1対の第2光入射部の各々は、灯具正面視において直線状に延びるように形成されている、ことを特徴とする請求項1記載の車両用灯具。
【請求項3】
上記1対の第1発光素子および上記1対の第1光入射部は、上記所要方向に間隔をおいて複数組配置されている、ことを特徴とする請求項1または2記載の車両用灯具。
【請求項4】
上記メイン導光部は、上記複数の反射素子が形成された柱状導光部と、上記柱状導光部と上記第1および第2サブ導光部とを連結する1対の板状導光部とを備えている、ことを特徴とする請求項1または2記載の車両用灯具。
【請求項5】
上記メイン導光部は、上記柱状導光部が複数本並列に配置された構成となっている、ことを特徴とする請求項4記載の車両用灯具。
発明の詳細な説明
【技術分野】
【0001】
本願発明は、導光体を備えた車両用灯具に関するものである。
続きを表示(約 1,500 文字)
【背景技術】
【0002】
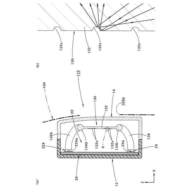
従来より、導光体に入射した光源からの光を、その後面に形成された複数の反射素子で全反射させた後、灯具前方へ向けて出射させるように構成された車両用灯具が知られている。
【0003】
「特許文献1」には、このような車両用灯具の導光体として、柱状導光部を備えた構成とした上で、この柱状導光部の両端面近傍に1対の発光素子が配置された構成とすることにより、これら1対の発光素子からの出射光を柱状導光部に対してその両端面から入射させるように構成されたものが記載されている。
【先行技術文献】
【特許文献】
【0004】
国際公開第2024/034558号
【発明の概要】
【発明が解決しようとする課題】
【0005】
上記「特許文献1」に記載された車両用灯具は、その導光体における柱状導光部の両端面近傍に、1対の発光素子およびこれらを搭載する1対の基板が配置された構成となっているので、灯具点灯時に導光体がその両端部領域まで発光して見えるようにすることが困難となり、かつ、高価な灯具構成となってしまう。
【0006】
本願発明は、このような事情に鑑みてなされたものであって、導光体を備えた車両用灯具において、安価な灯具構成により、灯具点灯時に導光体がその両端部まで発光して見えるようにすることができる車両用灯具を提供することを目的とするものである。
【課題を解決するための手段】
【0007】
本願発明は、導光体の構成および光源の配置に工夫を施すことにより、上記目的達成を図るようにしたものである。
【0008】
すなわち、本願発明に係る車両用灯具は、
光源からの出射光を、導光体を介して灯具前方へ向けて照射するように構成された車両用灯具において、
上記導光体は、後面に複数の反射素子が形成されたメイン導光部と、柱状に形成された第1および第2サブ導光部とが、上記メイン導光部を中心にして並列状態で所要方向に延びるように配置された構成となっており、
上記光源として、上記第1サブ導光部に光を入射させるために上記所要方向の2箇所に配置された1対の第1発光素子と、上記第2サブ導光部に光を入射させるために上記所要方向の2箇所に配置された1対の第2発光素子とを備えており、
上記導光体は、上記1対の第1発光素子からの出射光を上記第1サブ導光部に入射させるための1対の第1光入射部と、上記1対の第2発光素子からの出射光を上記第2サブ導光部に入射させるための1対の第2光入射部とを備えており、
上記1対の第1光入射部は、上記1対の第1発光素子からの出射光を上記所要方向に関して互いに離れる方向へ向けて上記第1サブ導光部に入射させるように構成されており、
上記1対の第2光入射部は、上記1対の第2発光素子からの出射光を上記所要方向に関して互いに近づく方向へ向けて上記第2サブ導光部に入射させるように構成されている、ことを特徴とするものである。
【0009】
上記「車両用灯具」は、光源からの出射光を、導光体を介して灯具前方へ向けて照射するように構成されていれば、灯具の種類については特に限定されるものではない。
【0010】
上記「所要方向」は、特定の方向に限定されるものではなく、例えば車幅方向や上下方向等が採用可能である。
(【0011】以降は省略されています)
この特許をJ-PlatPat(特許庁公式サイト)で参照する
関連特許
株式会社小糸製作所
表示用灯具
1か月前
株式会社小糸製作所
車両用灯具
1か月前
株式会社小糸製作所
車両用灯具
1か月前
株式会社小糸製作所
車両用灯具
1か月前
株式会社小糸製作所
車両用灯具
1か月前
株式会社小糸製作所
車両用灯具
28日前
株式会社小糸製作所
車両用灯具
28日前
株式会社小糸製作所
車両用灯具
28日前
株式会社小糸製作所
車両用灯具
1か月前
株式会社小糸製作所
車両用灯具
22日前
株式会社小糸製作所
車両用灯具
24日前
株式会社小糸製作所
車両用灯具
21日前
株式会社小糸製作所
車両用灯具
21日前
株式会社小糸製作所
車輌用灯具
21日前
株式会社小糸製作所
表示用灯具
1か月前
株式会社小糸製作所
車両用灯具
10日前
株式会社小糸製作所
画像表示装置
15日前
株式会社小糸製作所
画像投影装置
28日前
株式会社小糸製作所
画像表示装置
2日前
株式会社小糸製作所
虚像表示装置
1か月前
株式会社小糸製作所
表示システム
1か月前
株式会社小糸製作所
画像生成装置
2日前
株式会社小糸製作所
照明表示装置
1か月前
株式会社小糸製作所
道路冠水通知システム
22日前
株式会社小糸製作所
固定構造及び固定方法
8日前
株式会社小糸製作所
表示制御装置及び表示装置
1か月前
株式会社小糸製作所
ヘッドアップディスプレイ
2日前
株式会社小糸製作所
電子ユニット及び車両用灯具
1か月前
株式会社小糸製作所
車両用灯具及び車両用灯具の製造方法
1か月前
株式会社小糸製作所
レンズに付着する雪を融かす融雪機構
1か月前
株式会社小糸製作所
画像投影ユニットおよび画像投影装置
1か月前
株式会社小糸製作所
開閉機構、車両用灯具及び車両用前照灯
1か月前
株式会社小糸製作所
車両用灯具、ハウジング及びハウジングの製造方法
1か月前
株式会社小糸製作所
画像照射装置、画像投影装置、および画像照射方法
22日前
株式会社小糸製作所
光源ユニット、光源ユニットの製造方法、および車両用灯具
1か月前
株式会社小糸製作所
配光制御装置、配光制御プログラムおよび車両用前照灯システム
1か月前
続きを見る
他の特許を見る