TOP
|
特許
|
意匠
|
商標
特許ウォッチ
Twitter
他の特許を見る
公開番号
2025163700
公報種別
公開特許公報(A)
公開日
2025-10-30
出願番号
2024067127
出願日
2024-04-18
発明の名称
車両用灯具
出願人
スタンレー電気株式会社
代理人
個人
主分類
F21S
45/43 20180101AFI20251023BHJP(照明)
要約
【課題】センサ室の放熱を行うことができる車両用灯具を提供する。
【解決手段】車両用灯具であって、ハウジングと、前記ハウジングに取り付けられ、前記ハウジングとの間に灯室を形成するアウターレンズと、前記灯室に配置された灯具ユニットと、センサ室を備えた測距センサユニットと、前記センサ室に設けられた測距センサと、前記センサ室に設けられた送風機と、を備え、前記ハウジングには、前記灯室に連通する貫通穴が形成されており、前記測距センサユニットは、前記センサ室が前記貫通穴を介して前記灯室に配置された状態で前記ハウジングに取り付けられている。
【選択図】図1
特許請求の範囲
【請求項1】
ハウジングと、
前記ハウジングに取り付けられ、前記ハウジングとの間に灯室を形成するアウターレンズと、
前記灯室に配置された灯具ユニットと、
センサ室を備えた測距センサユニットと、
前記センサ室に設けられた測距センサと、
前記センサ室に設けられた送風機と、を備え、
前記ハウジングには、前記灯室に連通する貫通穴が形成されており、
前記測距センサユニットは、前記センサ室が前記貫通穴を介して前記灯室に配置された状態で前記ハウジングに取り付けられている車両用灯具。
続きを表示(約 810 文字)
【請求項2】
センサカバーと、
前記測距センサ、前記送風機及び前記センサカバーが取り付けられたブラケットと、をさらに備え、
前記センサカバー及び前記ブラケットは、前記センサ室を構成しており、
前記センサカバーは、前記測距センサユニットが前記ハウジングに取り付けられた状態で前記アウターレンズに空間を挟んで対向している請求項1に記載の車両用灯具。
【請求項3】
前記送風機は、前記測距センサと前記センサカバーとの間に向けて送風する請求項2に記載の車両用灯具。
【請求項4】
前記送風機は、前記測距センサに向けて送風する請求項1に記載の車両用灯具。
【請求項5】
前記アウターレンズから近くに配置されたセンサカバーと、
前記アウターレンズから遠くに配置されたヒートシンクと、
前記測距センサ、前記送風機、前記センサカバー及び前記ヒートシンクが取り付けられたブラケットと、をさらに備え、
前記センサカバー、前記ヒートシンク及び前記ブラケットは、前記センサ室を構成しており、
前記測距センサと前記ヒートシンクとの間には間隔が設けられている請求項1に記載の車両用灯具。
【請求項6】
前記送風機で発生した空気の流れを制御する空気流れ制御部をさらに備える請求項1に記載の車両用灯具。
【請求項7】
前記送風機と熱源との間に配置された遮熱板をさらに備える請求項1に記載の車両用灯具。
【請求項8】
前記センサ室には通風孔が設けられている請求項1に記載の車両用灯具。
【請求項9】
前記ブラケットは、熱伝導率が低い材料製である請求項2に記載の車両用灯具。
【請求項10】
前記センサ室を覆う断熱材をさらに備える請求項1に記載の車両用灯具。
発明の詳細な説明
【技術分野】
【0001】
本開示は、車両用灯具に関する。
続きを表示(約 1,000 文字)
【背景技術】
【0002】
アウターレンズとハウジングとの間の空間をハウジングの一部である仕切り壁により、灯具ユニットが配置される灯室及び測距センサが配置されるセンサ室に区画した構成の車両用灯具が知られている(例えば、特許文献1参照)。
【先行技術文献】
【特許文献】
【0003】
特開2022-20336号公報
【発明の概要】
【発明が解決しようとする課題】
【0004】
しかしながら、特許文献1に記載の車両用灯具においては、センサ室の放熱は考慮されていないため、測距センサで発生した熱によりセンサ室内の温度が上昇し、センサ室内の測距センサの品質を保つことができない恐れがあり、その点で改善の余地がある。
【0005】
本開示は、このような問題点を解決するためになされたものであり、センサ室の放熱を行うことができる車両用灯具を提供することを目的とする。
【課題を解決するための手段】
【0006】
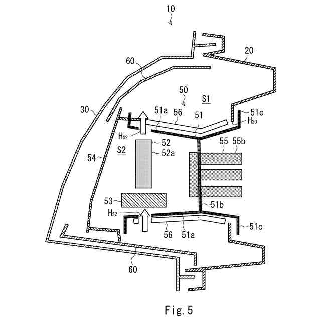
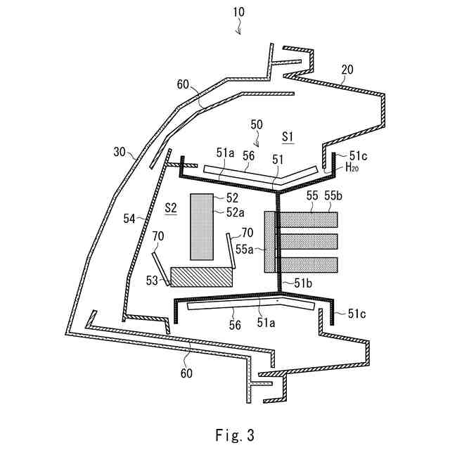
本開示にかかる車両用灯具は、ハウジングと、前記ハウジングに取り付けられ、前記ハウジングとの間に灯室を形成するアウターレンズと、前記灯室に配置された灯具ユニットと、センサ室を備えた測距センサユニットと、前記センサ室に設けられた測距センサと、前記センサ室に設けられた送風機と、を備え、前記ハウジングには、前記灯室に連通する貫通穴が形成されており、前記測距センサユニットは、前記センサ室が前記貫通穴を介して前記灯室に配置された状態で前記ハウジングに取り付けられている。
【0007】
このような構成により、センサ室の放熱を行うことができる。
【0008】
また、上記車両用灯具において、センサカバーと、前記測距センサ、前記送風機及び前記センサカバーが取り付けられたブラケットと、をさらに備え、前記センサカバー及び前記ブラケットは、前記センサ室を構成しており、前記センサカバーは、前記測距センサユニットが前記ハウジングに取り付けられた状態で前記アウターレンズに空間を挟んで対向していてもよい。
【0009】
また、上記車両用灯具において、前記送風機は、前記測距センサと前記センサカバーとの間に向けて送風してもよい。
【0010】
また、上記車両用灯具において、前記送風機は、前記測距センサに向けて送風してもよい。
(【0011】以降は省略されています)
この特許をJ-PlatPat(特許庁公式サイト)で参照する
関連特許
個人
室外機器
5か月前
個人
照明装置
29日前
個人
照明システム
5か月前
個人
車載機器の通気構造
2か月前
個人
消火器設置表示装置
1か月前
個人
気泡を用いた遊具。
7か月前
株式会社遠藤照明
照明装置
2か月前
株式会社遠藤照明
照明器具
6か月前
能美防災株式会社
表示灯
2か月前
個人
LEDライト
5か月前
デンカ株式会社
照明装置
5か月前
株式会社小糸製作所
車両用灯具
2か月前
株式会社小糸製作所
車両用灯具
2か月前
日亜化学工業株式会社
面状光源
9日前
デンカ株式会社
道路用照明
5か月前
瀧住電機工業株式会社
ダクトレール
8か月前
株式会社小糸製作所
投光装置
2か月前
株式会社小糸製作所
投光装置
2か月前
株式会社小糸製作所
誘導装置
2か月前
スタンレー電気株式会社
照射用光源
2か月前
フルトラム株式会社
光学機器
1か月前
アクア株式会社
冷蔵庫
4か月前
株式会社小糸製作所
車両用灯具
1か月前
株式会社小糸製作所
車両用灯具
6か月前
株式会社小糸製作所
車両用灯具
8か月前
株式会社小糸製作所
車両用灯具
1か月前
株式会社小糸製作所
車両用灯具
1日前
株式会社小糸製作所
車両用灯具
5か月前
株式会社小糸製作所
車両用灯具
6か月前
株式会社小糸製作所
車両用灯具
1か月前
株式会社小糸製作所
車両用灯具
5か月前
株式会社小糸製作所
車両用灯具
4か月前
株式会社小糸製作所
描画用灯具
8か月前
株式会社小糸製作所
車両用灯具
5か月前
株式会社小糸製作所
車両用灯具
5か月前
株式会社小糸製作所
車両用灯具
8か月前
続きを見る
他の特許を見る