TOP
|
特許
|
意匠
|
商標
特許ウォッチ
Twitter
他の特許を見る
公開番号
2025145954
公報種別
公開特許公報(A)
公開日
2025-10-03
出願番号
2024046481
出願日
2024-03-22
発明の名称
照明装置
出願人
スタンレー電気株式会社
代理人
個人
主分類
F21S
2/00 20160101AFI20250926BHJP(照明)
要約
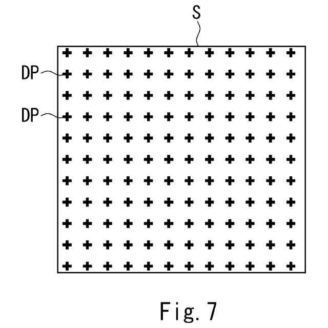
【課題】液晶素子及びその駆動回路を用いることなく、簡易な構成で像を作成することができる照明装置を提供する。
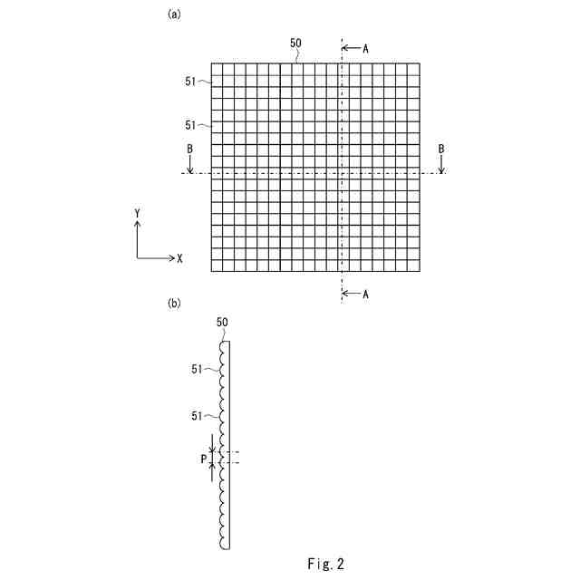
【解決手段】照明装置10であって、マイクロレンズアレイを含み、レーザー光源20が発光した可視域の波長のレーザー光Ray2を受けて、当該レーザー光を投影面Sに投影されるドットパターン群に対応する光線群Ray3に変換する回折光学素子50と、前記光線群の光路上に配置され、前記光線群が透過しない不透過領域及び少なくとも前記光線群が透過する透過領域を含む光学フィルタ60と、を備える。
【選択図】図1
特許請求の範囲
【請求項1】
マイクロレンズアレイを含み、レーザー光源が発光した可視域の波長のレーザー光を受けて、当該レーザー光を投影面に投影されるドットパターン群に対応する光線群に変換する回折光学素子と、
前記光線群の光路上に配置され、前記光線群が透過しない不透過領域及び少なくとも前記光線群が透過する透過領域を含む光学フィルタと、を備える照明装置。
続きを表示(約 1,200 文字)
【請求項2】
前記レーザー光源は、互いに異なる波長のレーザー光を発光する複数のレーザー光源であり、
前記光学フィルタは、複数の前記レーザー光源に対応する複数のカラーフィルタであり、
複数の前記レーザー光源のうち少なくとも1つのレーザー光源が発光したレーザー光が前記回折光学素子に入射し、
複数の前記カラーフィルタは、それぞれ、当該カラーフィルタに対応するレーザー光源が発光し前記回折光学素子で変換された光線群が透過しない不透過領域及び少なくとも前記光線群が透過する透過領域を含む請求項1に記載の照明装置。
【請求項3】
前記レーザー光源は、互いに同一波長のレーザー光を発光する複数のレーザー光源であり、
前記光学フィルタは、複数の前記レーザー光源に対応する複数の偏光フィルタであり、
複数の前記レーザー光源のうち少なくとも1つのレーザー光源が発光したレーザー光が前記回折光学素子に入射し、
複数の前記偏光フィルタは、それぞれ、当該偏光フィルタに対応するレーザー光源が発光し前記回折光学素子で変換された光線群が透過しない不透過領域及び少なくとも前記光線群が透過する透過領域を含み、
複数の前記偏光フィルタは、それぞれの不透過領域の透過軸が交差した状態で配置されている請求項1に記載の照明装置。
【請求項4】
前記回折光学素子に入射する前記レーザー光は、平行光である請求項1に記載の照明装置。
【請求項5】
複数の前記レーザー光源と前記回折光学素子との間に設けられたレンズをさらに備え、
前記レンズは、複数の前記レーザー光源それぞれが発光するレーザー光をコリメートするレンズであり、
前記回折光学素子には、前記コリメートされたレーザー光が入射する請求項4に記載の照明装置。
【請求項6】
複数の前記レーザー光源と前記回折光学素子との間に設けられ、複数のレーザー光源のうち少なくとも1つのレーザー光源が発光したレーザー光を受けて、特定の再生像を形成するホログラム素子をさらに備える請求項1に記載の照明装置。
【請求項7】
前記複数のレーザー光源の発する互いに異なる波長のレーザー光が、共通する前記回折光学素子に入射する事を特徴とする請求項2に記載の照明装置。
【請求項8】
前記カラーフィルタの不透過領域は、ダイクロイックフィルタで形成される事を特徴とする請求項7に記載の照明装置。
【請求項9】
前記回折光学素子に入射する前記レーザー光は、拡散光である請求項1乃至3、6乃至8に記載の照明装置。
【請求項10】
複数の前記レーザー光源と前記回折光学素子との間に設けられたレンズをさらに備え、
前記レンズは、複数の前記レーザー光源それぞれが発光するレーザー光を拡散させるレンズであり、
前記回折光学素子には、前記拡散されたレーザー光が入射する請求項9に記載の照明装置。
発明の詳細な説明
【技術分野】
【0001】
本開示は、照明装置に関する。
続きを表示(約 1,500 文字)
【背景技術】
【0002】
RGB光源のように波長が互いに異なる光を発光する複数光源を用い、各光源が発光した光をダイクロイックミラーによって合波して、その後、ホモジナイザーで拡散させてLCOS(Liquid Crystal On Silicon)等の光変調素子により像を形成する照明装置(例えば、プロジェクタ)が知られている(例えば非特許文献1参照)。
【先行技術文献】
【非特許文献】
【0003】
光技術情報誌「ライトエッジ」No.37〈特集ウシオの新しい取り組み第二回〉[令和6年2月19日検索],インターネット<URL:https://www.ushio.co.jp/jp/technology/lightedge/201206/100438.html>
【発明の概要】
【発明が解決しようとする課題】
【0004】
しかしながら、非特許文献1に記載の照明装置においては、液晶素子及びその駆動回路が必要となるため、部品点数が多く大型化するという課題がある。
【0005】
本開示は、このような問題点を解決するためになされたものであり、液晶素子及びその駆動回路を用いることなく、簡易な構成で像を作成することができる照明装置を提供することを目的とする。
【課題を解決するための手段】
【0006】
本開示にかかる照明装置は、マイクロレンズアレイを含み、レーザー光源が発光した可視域の波長のレーザー光を受けて、当該レーザー光を投影面に投影されるドットパターン群に対応する光線群に変換する回折光学素子と、前記光線群の光路上に配置され、前記光線群が透過しない不透過領域及び少なくとも前記光線群が透過する透過領域を含む光学フィルタと、を備える。
【0007】
このような構成により、液晶素子及びその駆動回路を用いることなく、簡易な構成で像を作成することができる。
【0008】
また、上記照明装置において、前記レーザー光源は、互いに異なる波長のレーザー光を発光する複数のレーザー光源であり、前記光学フィルタは、複数の前記レーザー光源に対応する複数のカラーフィルタであり、複数の前記レーザー光源のうち少なくとも1つのレーザー光源が発光したレーザー光が前記回折光学素子に入射し、複数の前記カラーフィルタは、それぞれ、当該カラーフィルタに対応するレーザー光源が発光し前記回折光学素子で変換された光線群が透過しない不透過領域及び少なくとも前記複数の光線群が透過する透過領域を含んでもよい。
【0009】
また、上記照明装置において、前記レーザー光源は、互いに同一波長のレーザー光を発光する複数のレーザー光源であり、前記光学フィルタは、複数の前記レーザー光源に対応する複数の偏光フィルタであり、複数の前記レーザー光源のうち少なくとも1つのレーザー光源が発光したレーザー光が前記回折光学素子に入射し、複数の前記偏光フィルタは、それぞれ、当該偏光フィルタに対応するレーザー光源が発光し前記回折光学素子で変換された光線群が透過しない不透過領域及び少なくとも前記複数の光線群が透過する透過領域を含み、複数の前記偏光フィルタは、それぞれの不透過領域の透過軸が交差した状態で配置されていてもよい。
【0010】
また、上記照明装置において、前記回折光学素子に入射する前記レーザー光は、平行光であってもよい。
(【0011】以降は省略されています)
この特許をJ-PlatPat(特許庁公式サイト)で参照する
関連特許
個人
室外機器
3か月前
個人
照明システム
3か月前
個人
車載機器の通気構造
1か月前
個人
気泡を用いた遊具。
5か月前
株式会社遠藤照明
照明装置
25日前
株式会社遠藤照明
照明器具
4か月前
株式会社小糸製作所
車両用灯具
7日前
株式会社小糸製作所
車両用灯具
7日前
個人
LEDライト
3か月前
能美防災株式会社
表示灯
1か月前
デンカ株式会社
照明装置
3か月前
デンカ株式会社
道路用照明
3か月前
株式会社小糸製作所
投光装置
1か月前
株式会社小糸製作所
誘導装置
18日前
フルトラム株式会社
光学機器
6日前
アクア株式会社
冷蔵庫
2か月前
株式会社小糸製作所
投光装置
1か月前
スタンレー電気株式会社
照射用光源
11日前
瀧住電機工業株式会社
ダクトレール
7か月前
株式会社小糸製作所
車両用灯具
4か月前
株式会社小糸製作所
車両用灯具
4か月前
株式会社小糸製作所
車両用灯具
6か月前
株式会社小糸製作所
表示用灯具
11日前
株式会社小糸製作所
車両用灯具
4か月前
株式会社小糸製作所
車両用灯具
3か月前
株式会社小糸製作所
車両用灯具
7か月前
株式会社小糸製作所
車両用灯具
3か月前
株式会社小糸製作所
表示用灯具
11日前
株式会社小糸製作所
車両用灯具
3か月前
株式会社小糸製作所
車両用灯具
3か月前
株式会社小糸製作所
描画用灯具
6か月前
株式会社小糸製作所
車両用灯具
6か月前
株式会社小糸製作所
車両用灯具
3か月前
株式会社小糸製作所
車両用灯具
6か月前
株式会社小糸製作所
車両用灯具
6か月前
株式会社北井地所
照明装置
18日前
続きを見る
他の特許を見る