TOP
|
特許
|
意匠
|
商標
特許ウォッチ
Twitter
他の特許を見る
公開番号
2025148185
公報種別
公開特許公報(A)
公開日
2025-10-07
出願番号
2024048817
出願日
2024-03-25
発明の名称
表示・照明装置
出願人
株式会社ユーシン
代理人
個人
主分類
F21S
2/00 20160101AFI20250930BHJP(照明)
要約
【課題】表示部の視認性を向上する。
【解決手段】表示・照明装置10では、表示用光源51から出射された表示光BM1が、表示用導光路35に入光され、表示用導光路35のインジケータ部36を照射する。また、照明用光源52から出射された照明光BM2が照明用導光路34に入光され、照明用導光路34の照明側出光部34Aからケース20の外部へ出光される。さらに、第3方向から見て、照明光BM2が照明側出光部34Aから第2方向一方側へ出光され、インジケータ部36が第2方向の他方側へ向かう表示光BM1によって照射される。すなわち、ケース20から出光される照明光BM2の出光方向が、インジケータ部36を照射する表示光BM1の照射方向とは反対側になっている。これにより、インジケータ部36が照明光BM2によって照明されることを抑制できる。したがって、インジケータ部36の視認性を向上することができる。
【選択図】図2
特許請求の範囲
【請求項1】
車両のエネルギ受給部に適用される表示・照明装置であって、
前記エネルギ受給部のベースに組付けられるケースと、
前記ケースの内部に設けられた表示用光源と、
前記ケースの内部に設けられた照明用光源と、
前記ケースの内部に設けられ、所定方向から見て第1方向に延在されると共に、前記表示用光源から出射された表示光が入光されると共に、入光された前記表示光によって照射される表示部を一端部に有する表示用導光路と、
前記ケースの内部に設けられ、前記所定方向から見て第1方向に延在され且つ前記表示用導光路に対して前記第1方向と直交する第2方向の一方側に配置されると共に、前記照明用光源から出射される照明光が入光されると共に、入光された前記照明光を前記ケースの外部へ出光させるための照明側出光部を一端部に有する照明用導光路と、
を備え、
前記所定方向から見て、前記照明光が前記照明側出光部から前記第2方向の一方側へ出光され、前記表示部は前記第2方向の他方側へ向かう前記表示光によって照射される表示・照明装置。
続きを表示(約 810 文字)
【請求項2】
前記ケースの内部には、仕切板が形成され、前記仕切板は、前記表示用導光路と前記照明用導光路との間に配置されて、前記表示用導光路と前記照明用導光路とを仕切っている請求項1に記載の表示・照明装置。
【請求項3】
前記仕切板が前記ケースに一体に形成されている請求項2に記載の表示・照明装置。
【請求項4】
前記表示部及び前記照明側出光部が、前記所定方向から見て、前記第1方向において重なる位置に配置されている請求項2に記載の表示・照明装置。
【請求項5】
前記ケースの内部には、基板が収容され、前記基板が前記仕切板の前記第1方向の他方側に隣接配置されており、
前記基板には、前記表示用導光路の前記第1方向の他方側に配置された前記表示用光源が設けられ、前記照明用導光路の前記第1方向の他方側に配置された前記照明用光源が設けられている請求項2に記載の表示・照明装置。
【請求項6】
前記エネルギ受給部の受給部が、前記照明側出光部の前記第2方向の一方側に位置しており、
前記表示部が、前記所定方向から見て、前記第1方向の一方側へ向かうに従い前記第2方向の一方側に傾斜している請求項1~5の何れか1項に記載の表示・照明装置。
【請求項7】
前記表示用導光路には、所定方向から見て前記第1方向に延在された表示用導光部が設けられ、
前記照明用導光路には、所定方向から見て前記第1方向に延在された照明用導光部が設けられ、
前記照明光が前記照明用導光部を透過して前記照明用導光部の一端部から前記第2方向の一方側へ出光して前記照明側出光部を照射し、
前記表示光が前記表示用導光部を透過して前記表示用導光部の一端部から前記第2方向の他方側へ出光して前記表示部を照射する請求項1に記載の表示・照明装置。
発明の詳細な説明
【技術分野】
【0001】
本発明は、表示・照明装置に関する。
続きを表示(約 2,100 文字)
【背景技術】
【0002】
下記特許文献1の充電フラップモジュールでは、表示照明装置が、ツーコンポーネント部材に保持されている。表示照明装置における2箇所の光照射領域が、ツーコンポーネントの開口部から露出されている。そして、表示用の光源から出射される光が一方の光照射領域を通過して、一方の光照射領域が表示部として機能する。また。照明用の光源から出射される光が他方の光照射領域を通過して、他方の光照射領域が照明部として機能する。
【先行技術文献】
【特許文献】
【0003】
特開2019-218047号公報
【発明の概要】
【発明が解決しようとする課題】
【0004】
ここで、上記表示照明装置では、2箇所の光照射領域が比較的近くに配置されているため、照明用の光源からの光が表示部として機能する光照射領域も照射する可能性がある。この場合には、表示部として機能する光照射領域の視認性が低下する虞がある。
【0005】
本発明は、上記事実を考慮して、表示部の視認性を向上することができる表示・照明装置を提供する。
【課題を解決するための手段】
【0006】
本発明の1又はそれ以上の実施形態は、車両のエネルギ受給部に適用される表示・照明装置であって、前記エネルギ受給部のベースに組付けられるケースと、前記ケースの内部に設けられた表示用光源と、前記ケースの内部に設けられた照明用光源と、前記ケースの内部に設けられ、所定方向から見て第1方向に延在されると共に、前記表示用光源から出射された表示光が入光されると共に、入光された前記表示光によって照射される表示部を一端部に有する表示用導光路と、前記ケースの内部に設けられ、前記所定方向から見て第1方向に延在され且つ前記表示用導光路に対して前記第1方向と直交する第2方向の一方側に配置されると共に、前記照明用光源から出射される照明光が入光されると共に、入光された前記照明光を前記ケースの外部へ出光させるための照明側出光部を一端部に有する照明用導光路と、を備え、前記所定方向から見て、前記照明光が前記照明側出光部から前記第2方向の一方側へ出光され、前記表示部は前記第2方向の他方側へ向かう前記表示光によって照射される表示・照明装置である。
【発明の効果】
【0007】
本発明の1又はそれ以上の実施形態によれば、表示部の視認性を向上することができる。
【図面の簡単な説明】
【0008】
本実施形態に係る表示・照明装置が適用された車両のエネルギ受給部を示す車幅方向外側から見た側面図である。
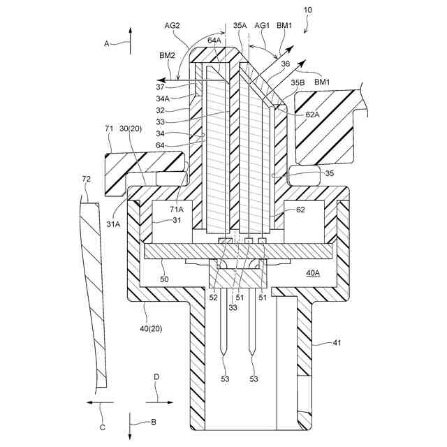
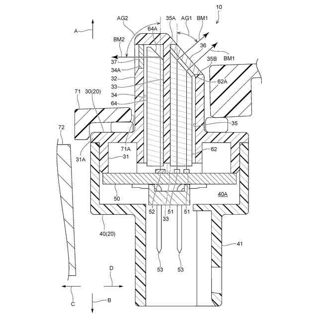
図1に示される車両のエネルギ受給部の表示・照明装置の周辺を示す第3方向一方側から見た断面図(図1の2-2線断面図)である。
図2に示される表示・照明装置の斜視図である。
図3に示される表示・照明装置の分解斜視図である。
【発明を実施するための形態】
【0009】
以下、図面を用いて、本実施形態に係る表示・照明装置10について説明する。図1に示されるように、表示・照明装置10は、車両(自動車)のエネルギ受給部70に適用されている。なお、図1に示される矢印UPは、車両の車両上側を示し、矢印FRは、車両の車両前側を示している。エネルギ受給部70は、車両の後部の側部(図1に示される例では、右側部)に設けられている。エネルギ受給部70は、ベース71を有しており、ベース71は、車両のアウタパネルに形成されたパネル開口部80(広義には、車両側開口部として把握される要素である)から車幅方向外側へ露出されている。ベース71の略中央部には、受給部としての充電インレット72が設けられており、充電インレット72は、充電器のコネクタ(図示省略)が接続されるコネクタ部72Aを有している。ベース71には、後述する表示・照明装置10を配置するための配置孔71Aが形成されており、配置孔71Aは、コネクタ部72Aに対して車両前側且つ車両上側に配置されている。なお、エネルギ受給部70は、図示しないリッドを有しており、リッドによってパネル開口部80が、開閉されるようになっている。
【0010】
(表示・照明装置10について)
表示・照明装置10は、エネルギ受給部70のベース71に組付けられている。そして、表示・照明装置10の一部が、配置孔71Aから車幅方向外側へ露出されて、表示・照明装置10によって充電インレット72のコネクタ部72Aを照明するようになっている。以下、図1~図4を用いて、表示・照明装置10について説明する。なお、図2~図4に示される矢印A及び矢印B方向を、第1方向としており、第1方向は、車両の車幅方向に一致している。また、図1~4に示される矢印C及び矢印D方向を第2方向とし、矢印E及び矢印F方向を所定方向としての第3方向としている。さらに、以下の説明では、矢印A方向側を第1方向一方側とし、矢印C方向を第2方向一方側とし、矢印E方向を第3方向一方側としている。
(【0011】以降は省略されています)
この特許をJ-PlatPat(特許庁公式サイト)で参照する
関連特許
株式会社ユーシン
操作装置
7日前
個人
室外機器
4か月前
個人
照明システム
3か月前
個人
気泡を用いた遊具。
5か月前
個人
車載機器の通気構造
1か月前
株式会社遠藤照明
照明装置
28日前
株式会社遠藤照明
照明器具
4か月前
株式会社小糸製作所
車両用灯具
10日前
株式会社小糸製作所
車両用灯具
10日前
能美防災株式会社
表示灯
1か月前
個人
LEDライト
3か月前
デンカ株式会社
照明装置
4か月前
デンカ株式会社
道路用照明
4か月前
株式会社小糸製作所
投光装置
1か月前
フルトラム株式会社
光学機器
9日前
アクア株式会社
冷蔵庫
2か月前
株式会社小糸製作所
誘導装置
21日前
株式会社小糸製作所
投光装置
1か月前
スタンレー電気株式会社
照射用光源
14日前
株式会社小糸製作所
車両用灯具
4か月前
株式会社小糸製作所
車両用灯具
3か月前
株式会社小糸製作所
車両用灯具
4か月前
株式会社小糸製作所
車両用灯具
4か月前
株式会社小糸製作所
車両用灯具
4か月前
株式会社小糸製作所
車両用灯具
3か月前
株式会社小糸製作所
車両用灯具
3か月前
株式会社小糸製作所
表示用灯具
14日前
株式会社小糸製作所
車両用灯具
4か月前
株式会社小糸製作所
表示用灯具
14日前
株式会社小糸製作所
車両用前照灯
21日前
三協立山株式会社
照明付きポール
2か月前
シャープ株式会社
照明装置
5か月前
株式会社ユーシン
表示・照明装置
10日前
スタンレー電気株式会社
照明装置
14日前
株式会社北井地所
照明装置
21日前
株式会社パクマケ
スポットライト
4か月前
続きを見る
他の特許を見る