TOP
|
特許
|
意匠
|
商標
特許ウォッチ
Twitter
他の特許を見る
公開番号
2025158577
公報種別
公開特許公報(A)
公開日
2025-10-17
出願番号
2024061259
出願日
2024-04-05
発明の名称
車両用灯具
出願人
株式会社小糸製作所
代理人
個人
,
個人
,
個人
主分類
F21S
43/241 20180101AFI20251009BHJP(照明)
要約
【課題】光利用効率の低下を抑制しつつ、光学系をコンパクトにできる車両用灯具を提供する。
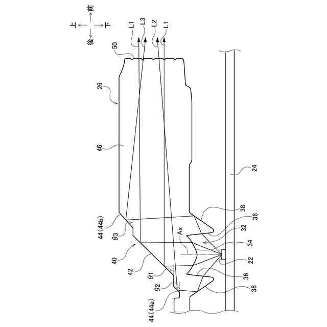
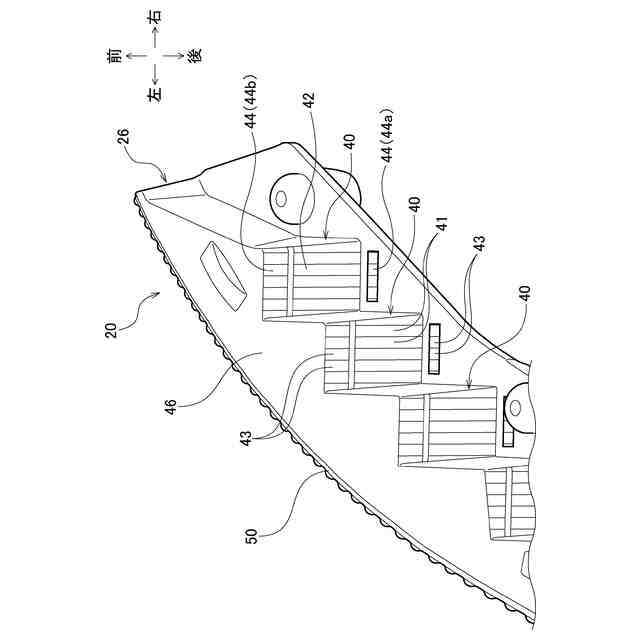
【解決手段】車両用灯具は、LED22と、入光部32と、入光部32からの光を全反射する反射部40と、光を灯具前方に出射する出射部50とを含む導光体26とを備える。入光部32は、LED22の光軸上に位置し、LED22からの光の一部を入射して集光する集光入射面34と、LED22からの光の別の一部を入射する、集光入射面34の周囲に設けられた側方入射面36と、側方入射面36から入射した光を全反射する、側方入射面36の周囲に設けられた側方反射面38と含む。反射部40は、集光入射面34からの光を出射部50に向けて反射する第1反射面42と、側方反射面から38の光を出射部50に向けて反射する第2反射面44とを含む。第2反射面44は、第1反射面42に対して段差を有して設けられている。
【選択図】図5
特許請求の範囲
【請求項1】
光源と、
前記光源からの光を入射する入光部と、前記入光部からの光を全反射する反射部と、前記反射部で全反射した光を導光する導光部と、前記導光部を導光された光を灯具前方に出射する出射部と、を含む導光体と、
を備え、
前記入光部は、前記光源の光軸上に位置し、前記光源からの光の一部を入射して集光する集光入射面と、前記光源からの光の別の一部を入射する、前記集光入射面の周囲に設けられた側方入射面と、前記側方入射面から入射した光を全反射する、前記側方入射面の周囲に設けられた側方反射面と、を含み、
前記反射部は、前記集光入射面からの光を前記出射部に向けて反射する第1反射面と、前記側方反射面からの光を前記出射部に向けて反射する第2反射面と、を含み、
前記第2反射面は、前記第1反射面に対して段差を有して設けられていることを特徴とする車両用灯具。
続きを表示(約 410 文字)
【請求項2】
前記第2反射面は、前記光源の光軸よりも後方に配置された後側第2反射面を含み、
前記後側第2反射面の水平面に対する傾斜角は、前記第1反射面の水平面に対する傾斜角よりも大きいことを特徴とする請求項1に記載の車両用灯具。
【請求項3】
前記第2反射面は、前記光源の光軸よりも前方に配置された前側第2反射面を含み、
前記前側第2反射面の水平面に対する傾斜角は、前記第1反射面の水平面に対する傾斜角よりも小さいことを特徴とする請求項1に記載の車両用灯具。
【請求項4】
前記第1反射面および前記第2反射面にはそれぞれ、反射光を灯具左右方向に拡散するシリンドリカルステップが形成されており、
前記第2反射面に形成されたシリンドリカルステップの曲率は、前記第1反射面に形成されたシリンドリカルステップの曲率よりも大きいことを特徴とする請求項1に記載の車両用灯具。
発明の詳細な説明
【技術分野】
【0001】
本発明は、車両用灯具に関する。
続きを表示(約 1,600 文字)
【背景技術】
【0002】
従来、LED等の光源と、該光源からの光を制御する導光体とを組み合わせた車両用灯具が提案されている。このような車両用灯具では、光源からの光は、導光体に設けられた入光部から導光体内部に入射する。導光体内部に入射した光は、導光体に設けられた反射部で全反射した後、導光体内を進行し、板状導光体の前面に設けられた出射部から出射する。
【先行技術文献】
【特許文献】
【0003】
米国特許出願公開第2014/0204600号明細書
【発明の概要】
【発明が解決しようとする課題】
【0004】
上記のような光学系において、光学系をコンパクトにしようとした場合、光利用効率が低下する虞がある。
【0005】
本発明はこうした状況に鑑みてなされたものであり、その目的は、光利用効率の低下を抑制しつつ、光学系をコンパクトにできる車両用灯具を提供することにある。
【課題を解決するための手段】
【0006】
上記課題を解決するために、本発明のある態様の車両用灯具は、光源と、光源からの光を入射する入光部と、入光部からの光を全反射する反射部と、反射部で全反射した光を導光する導光部と、導光部を導光された光を灯具前方に出射する出射部と、を含む導光体と、を備える。入光部は、光源の光軸上に位置し、光源からの光の一部を入射して集光する集光入射面と、光源からの光の別の一部を入射する、集光入射面の周囲に設けられた側方入射面と、側方入射面から入射した光を全反射する、側方入射面の周囲に設けられた側方反射面と、を含む。反射部は、集光入射面からの光を出射部に向けて反射する第1反射面と、側方反射面からの光を出射部に向けて反射する第2反射面と、を含む。第2反射面は、第1反射面に対して段差を有して設けられている。
【発明の効果】
【0007】
本発明によれば、光利用効率の低下を抑制しつつ、光学系をコンパクトにできる車両用灯具を提供できる。
【図面の簡単な説明】
【0008】
実施形態に係る車両用灯具の概略正面図である。
図1に示す車両用灯具の概略A-A断面図である
入光部を示す図である。
反射部を示す図である。
導光体の拡大図である。
【発明を実施するための形態】
【0009】
以下、本発明を好適な実施の形態をもとに図面を参照しながら説明する。以下の構成は本開示を理解するための例示を目的とするものであり、本開示の範囲は、添付の請求の範囲によってのみ定まる。各図面に示される同一または同等の構成要素、部材には、同一の符号を付するものとし、適宜重複した説明は省略する。また、各図面における部材の寸法は、理解を容易にするために適宜拡大、縮小して示される。また、各図面において実施の形態を説明する上で重要ではない部材の一部は省略して表示する。
【0010】
図1は、実施形態に係る車両用灯具10の概略正面図である。図1に示す車両用灯具10は、車両後部に配置されるリアコンビネーションランプである。図1に示すように、車両用灯具10は、ランプボディ12と、ランプボディ12の前面開口部を覆う透明なアウターカバー14とを備える。ランプボディ12とアウターカバー14は、灯室16を形成している。灯室16内には、灯具ユニット20が設けられている。灯具ユニット20は、図示しない支持部材によりランプボディ12に固定支持されている。灯具ユニット20は、線状の発光が得られるように構成されたものであり、例えばテールランプやストップランプとして用いることができる。しかしながら、灯具ユニット20の用途は特に限定されない。
(【0011】以降は省略されています)
この特許をJ-PlatPat(特許庁公式サイト)で参照する
関連特許
株式会社小糸製作所
車両用灯具
23日前
株式会社小糸製作所
車両用灯具
15日前
株式会社小糸製作所
車両用灯具
25日前
株式会社小糸製作所
表示用灯具
29日前
株式会社小糸製作所
車両用灯具
25日前
株式会社小糸製作所
車両用灯具
15日前
株式会社小糸製作所
車両用灯具
15日前
株式会社小糸製作所
車両用灯具
11日前
株式会社小糸製作所
表示用灯具
29日前
株式会社小糸製作所
車両用灯具
9日前
株式会社小糸製作所
車両用灯具
1か月前
株式会社小糸製作所
車両用灯具
22日前
株式会社小糸製作所
車両用灯具
8日前
株式会社小糸製作所
車両用灯具
8日前
株式会社小糸製作所
車輌用灯具
8日前
株式会社小糸製作所
車両用灯具
22日前
株式会社小糸製作所
照明表示装置
22日前
株式会社小糸製作所
虚像表示装置
24日前
株式会社小糸製作所
画像表示装置
2日前
株式会社小糸製作所
表示システム
24日前
株式会社小糸製作所
画像投影装置
15日前
株式会社小糸製作所
道路冠水通知システム
9日前
株式会社小糸製作所
表示制御装置及び表示装置
24日前
株式会社小糸製作所
電子ユニット及び車両用灯具
22日前
株式会社小糸製作所
画像投影ユニットおよび画像投影装置
18日前
株式会社小糸製作所
車両用灯具及び車両用灯具の製造方法
22日前
株式会社小糸製作所
レンズに付着する雪を融かす融雪機構
18日前
株式会社小糸製作所
開閉機構、車両用灯具及び車両用前照灯
22日前
株式会社小糸製作所
素子搭載基板、車両用灯具および素子搭載方法
1か月前
株式会社小糸製作所
車両用灯具、ハウジング及びハウジングの製造方法
22日前
株式会社小糸製作所
画像照射装置、画像投影装置、および画像照射方法
9日前
株式会社小糸製作所
光源ユニット、光源ユニットの製造方法、および車両用灯具
23日前
株式会社小糸製作所
配光制御装置、配光制御プログラムおよび車両用前照灯システム
22日前
株式会社小糸製作所
車両用センサ装置
25日前
株式会社小糸製作所
調整装置、調整システム、制御方法、制御プログラム、および記録媒体
29日前
株式会社小糸製作所
車両用赤外線センサ内蔵灯具
2日前
続きを見る
他の特許を見る