TOP
|
特許
|
意匠
|
商標
特許ウォッチ
Twitter
他の特許を見る
10個以上の画像は省略されています。
公開番号
2025160788
公報種別
公開特許公報(A)
公開日
2025-10-23
出願番号
2024063571
出願日
2024-04-10
発明の名称
画像照射装置、画像投影装置、および画像照射方法
出願人
株式会社小糸製作所
代理人
弁理士法人プロウィン
主分類
G02F
1/1333 20060101AFI20251016BHJP(光学)
要約
【課題】表示装置の温度制御をより正確に行うことが可能な画像照射装置、画像投影装置、および画像照射方法を提供する。
【解決手段】画像を表示する表示領域(17)を有する表示部(11)と、表示領域(17)のうちの画像を照射しない非照射領域に配置された温度監視部(20)と、温度監視部(20)から取得した温度に基づいて表示部(11)の温度を制御する制御部と、を備える。
【選択図】図2
特許請求の範囲
【請求項1】
画像を表示する表示領域を有する表示部と、
前記表示領域のうちの画像を照射しない非照射領域に配置された温度監視部と、
前記温度監視部から取得した温度に基づいて前記表示部の温度を制御する制御部と、を備えることを特徴とする画像照射装置。
続きを表示(約 1,200 文字)
【請求項2】
請求項1に記載の画像照射装置であって、
前記表示部は前記表示領域に対向する裏面を有し、
前記表示領域の一部を覆う前方マスクと、
前記裏面の一部を覆い、前記前方マスクが遮光する位置に対応する位置を遮光する後方マスクと、をさらに備え、
前記非照射領域が前記前方マスクの一部、および前記後方マスクの一部の少なくとも一方であることを特徴とする画像照射装置。
【請求項3】
請求項2に記載の画像照射装置であって、
前記温度監視部は前記前方マスクおよび前記後方マスクの少なくとも一方に設けられた開口部に配置され、
前記温度監視部は前記表示領域に直接接しているか、または熱伝導部材を介して接していることを特徴とする画像照射装置。
【請求項4】
請求項3に記載の画像照射装置であって、
前記温度監視部の高さは、前記前方マスクおよび前記後方マスクの少なくとも一方の厚さと略等しいことを特徴とする画像照射装置。
【請求項5】
請求項2に記載の画像照射装置であって、
前記温度監視部は前記前方マスクおよび前記後方マスクの少なくとも一方に設けられた凹部に配置されていることを特徴とする画像照射装置。
【請求項6】
請求項2に記載の画像照射装置であって、
前記温度監視部は前記前方マスクおよび前記後方マスクの少なくとも一方の表面に配置されていることを特徴とする画像照射装置。
【請求項7】
請求項2に記載の画像照射装置であって、
前記温度監視部に接続された配線部をさらに備え、
前記配線部は前記前方マスクおよび前記後方マスクの少なくとも一方の面に沿って外部に取り出されることを特徴とする画像照射装置。
【請求項8】
画像を表示する表示領域、および前記表示領域に対向する裏面を有する表示部と、
前記表示部を前記裏面から照明する照明部と、
前記表示領域のうちの画像を照射しない領域に対応する前記照明部の一部に配置された温度監視部と、
前記温度監視部から取得した温度に基づいて前記表示部の温度を制御する制御部と、を備えることを特徴とする画像照射装置。
【請求項9】
請求項1から8の何れか一つに記載の画像照射装置と、
前記画像照射装置が照射する画像を虚像形成部に導く光学系と、を備えることを特徴とする画像投影装置。
【請求項10】
表示部を備える画像照射装置を用いた画像照射方法であって、
前記表示部の画像を照射しない領域に温度監視部を配置し、
前記温度監視部から取得した温度に基づいて前記表示部の温度を制御することを特徴とする画像照射方法。
発明の詳細な説明
【技術分野】
【0001】
本発明は、画像照射装置、画像投影装置、および画像照射方法に関する。
続きを表示(約 1,800 文字)
【背景技術】
【0002】
従来から、車両内に各種情報を表示する装置として、アイコンを点灯表示する計器盤が用いられている。また、表示する情報量の増加とともに、計器盤に画像表示装置を埋め込むことや、計器盤全体を画像表示装置で構成することも提案されている。
【0003】
しかしながら、計器盤は車両のフロントガラス(ウィンドシールド)より下方に位置しているため、計器盤に表示された情報を運転者が視認するには、運転中に視線を下方に移動させる必要があるため好ましくない。そこで、フロントガラスに画像を投影して、運転者が車両の前方を視認したときに情報を読み取れるようにするヘッドアップディスプレイ(以下HUD:Head Up Display)も提案されている。
【0004】
上記のような従来技術の画像投影装置では、液晶表示装置等による画像照射装置が画像を含んだ照射光(以下、「画像表示光」)を照射し、1枚もしくは複数枚の自由曲面ミラーで照射光を反射させて、空間中に画像(虚像)が結像するように運転者等のアイボックスに到達させる。これにより、運転者等はアイボックスに入射した画像表示光によって、車両前方の奥行き方向における結像位置に画像が表示されているように認識することができる。特許文献1には、このような従来技術に係るHUDの一例が開示されている。
【先行技術文献】
【特許文献】
【0005】
特開2022-156071号公報
【発明の概要】
【発明が解決しようとする課題】
【0006】
上記の画像照射装置は主として、画像を表示するLCD(Liquid Crystal Display)等の表示装置、およびLCDを照明するバックライトを含む。バックライトによりLCDを背面から照明して、LCDの表示領域に表示された画像を表示する画像表示光を照射する。HUDではこの画像を含む照射光をウィンドシールドに投影させて虚像を形成し、当該虚像を運転者が視認する構成となっている。
【0007】
ところで上記のような画像照射装置では一般に、車両周囲の環境の明るさに応じて運転者が視認する画像の明るさを変える構成となっている。例えば画像照射装置が夏の直射日光を受けた場合、夕日が直接運転者に当たる場合、あるいは快晴の雪の上など車両が非常に明るい環境にある場合には、バックライトの輝度をほぼ最大にすることによって、運転者による投影画像の視認性を向上させている。
【0008】
ここでバックライトの輝度を上げた場合、LCDの光の透過率が7%程度であることに起因してLCD自体が光を吸収し、LCDの温度が上昇してしまう場合がある。LCDの耐熱温度は105℃前後であるので、この耐熱温度以上の温度になるとLCDは組成が変化して不可逆的に破壊され、画像表示が不可能となってしまう。そのためHUDではLCDの温度管理が重要な課題となっている。
【0009】
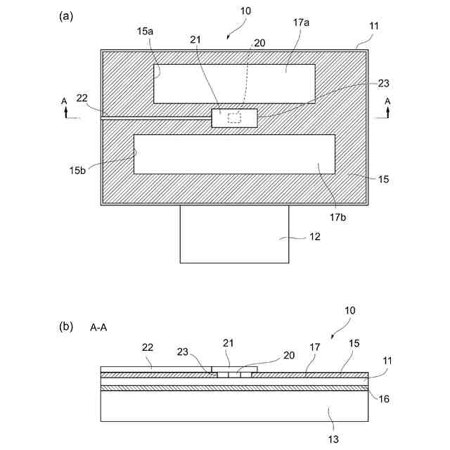
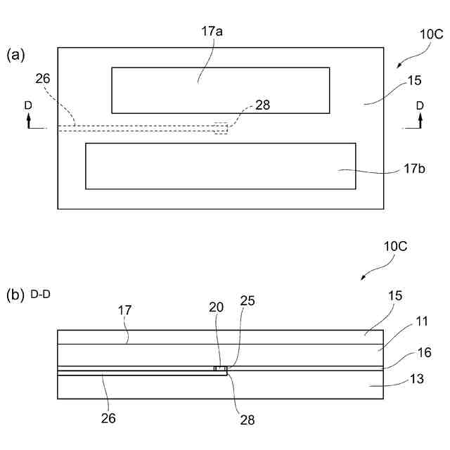
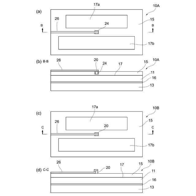
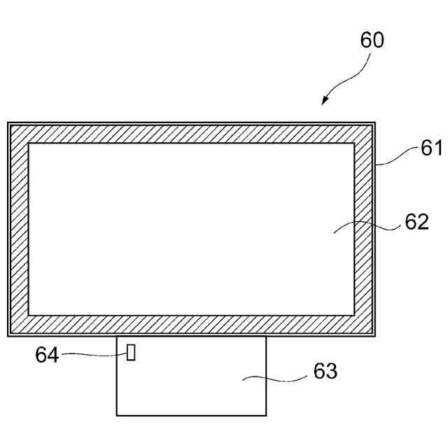
LCDの温度管理は例えば温度センサでLCDの温度を監視し、当該監視温度に基づいてLCDの輝度を制御する構成が知られている。図9はこのような構成の従来技術に係る画像照射装置を示している。図9に示すように従来技術に係る画像照射装置60は、表示領域62を有するLCD61、および接続部63を含む。接続部63は一例としてFPC(Flexible Printed Circuits:フレキシブル基板)で構成され、LCD61を外部の構成に接続する機能を有する。ここで、画像を表示させる表示領域62があるため、温度センサはLCD61の本体には配置できない。そこで画像照射装置60では接続部63上に温度センサ64を配置させている。しかしながらこの構成ではLCD61の温度を直接測定することができないので、画像照射装置60ではLCD61の正確な温度制御に限界があった。温度センサ64による温度とLCD61の温度との関係を予め実験等により算出しておき、換算する方法も考えられるが、正確性の観点からは改善の余地があった。
【0010】
そこで本発明は、上記従来の問題点に鑑みなされたものであり、表示装置の温度制御をより正確に行うことが可能な画像照射装置、画像投影装置、および画像照射方法を提供することを目的とする。
【課題を解決するための手段】
(【0011】以降は省略されています)
この特許をJ-PlatPat(特許庁公式サイト)で参照する
関連特許
株式会社小糸製作所
車両用灯具
1か月前
株式会社小糸製作所
車両用灯具
1か月前
株式会社小糸製作所
車両用灯具
1か月前
株式会社小糸製作所
車両用灯具
12日前
株式会社小糸製作所
車両用灯具
1か月前
株式会社小糸製作所
車輌用灯具
23日前
株式会社小糸製作所
車両用灯具
23日前
株式会社小糸製作所
車両用灯具
23日前
株式会社小糸製作所
車両用灯具
1か月前
株式会社小糸製作所
車両用灯具
24日前
株式会社小糸製作所
車両用灯具
26日前
株式会社小糸製作所
車両用灯具
1か月前
株式会社小糸製作所
表示システム
1か月前
株式会社小糸製作所
照明表示装置
1か月前
株式会社小糸製作所
画像投影装置
1か月前
株式会社小糸製作所
虚像表示装置
1か月前
株式会社小糸製作所
画像表示装置
4日前
株式会社小糸製作所
画像表示装置
17日前
株式会社小糸製作所
画像生成装置
4日前
株式会社小糸製作所
固定構造及び固定方法
10日前
株式会社小糸製作所
道路冠水通知システム
24日前
株式会社小糸製作所
表示制御装置及び表示装置
1か月前
株式会社小糸製作所
ヘッドアップディスプレイ
4日前
株式会社小糸製作所
電子ユニット及び車両用灯具
1か月前
株式会社小糸製作所
車両用灯具及び車両用灯具の製造方法
1か月前
株式会社小糸製作所
画像投影ユニットおよび画像投影装置
1か月前
株式会社小糸製作所
レンズに付着する雪を融かす融雪機構
1か月前
株式会社小糸製作所
開閉機構、車両用灯具及び車両用前照灯
1か月前
株式会社小糸製作所
画像照射装置、画像投影装置、および画像照射方法
24日前
株式会社小糸製作所
車両用灯具、ハウジング及びハウジングの製造方法
1か月前
株式会社小糸製作所
光源ユニット、光源ユニットの製造方法、および車両用灯具
1か月前
株式会社小糸製作所
配光制御装置、配光制御プログラムおよび車両用前照灯システム
1か月前
株式会社小糸製作所
車両用赤外線センサ内蔵灯具
17日前
個人
立体像表示装置
1か月前
住友化学株式会社
偏光板
1か月前
カンタツ株式会社
光学系
25日前
続きを見る
他の特許を見る