TOP
|
特許
|
意匠
|
商標
特許ウォッチ
Twitter
他の特許を見る
10個以上の画像は省略されています。
公開番号
2025149053
公報種別
公開特許公報(A)
公開日
2025-10-08
出願番号
2024049488
出願日
2024-03-26
発明の名称
表示システム
出願人
株式会社小糸製作所
代理人
弁理士法人一色国際特許事務所
主分類
G08G
1/09 20060101AFI20251001BHJP(信号)
要約
【課題】確度の高い情報に基づいて信号機の画像を表示すること。
【解決手段】本開示に係る表示システムは、画像を生成する画像生成部と、前記画像を画像光として透過反射部に投影し、虚像を表示する光学系と、路側装置から信号情報を受信する通信部と、前記信号情報に基づいて、信号機の灯色を示す信号画像を前記虚像として表示させる制御部と、を備える。
【選択図】図4
特許請求の範囲
【請求項1】
画像を生成する画像生成部と、
前記画像を画像光として透過反射部に投影し、虚像を表示する光学系と、
路側装置から信号情報を受信する通信部と、
前記信号情報に基づいて、信号機の灯色を示す信号画像を前記虚像として表示させる制御部と、
を備える表示システム。
続きを表示(約 1,100 文字)
【請求項2】
請求項1に記載の表示システムであって、
前記制御部は、前記信号機の前記灯色が変わったことを示す信号情報を取得した場合、前記虚像に表示する前記信号画像の示す前記灯色を変更することを特徴とする表示システム。
【請求項3】
請求項1又は2に記載の表示システムであって、
前記制御部は、
前記信号機の前記灯色が変わるタイミングを示すタイミング情報を取得し、
前記タイミング情報に基づいて、前記信号機の前記灯色が変わる前に、前記信号機の前記灯色が変わることを示す画像を表示させることを特徴とする表示システム。
【請求項4】
請求項3に記載の表示システムであって、
前記制御部は、前記灯色が青色から黄色に変わるタイミングを示す前記タイミング情報に基づいて、前記信号機の前記灯色が青色から黄色に変わる前に、前記信号機の前記灯色が青色から黄色に変わることを示す予告画像を表示させることを特徴とする表示システム。
【請求項5】
請求項3に記載の表示システムであって、
前記制御部は、
先行車までの距離を示す距離情報を取得し、
前記灯色が赤色から青色に変わる場合に、前記信号画像を表示させるとともに、前記距離情報に基づいて前記先行車までの距離を示す画像を表示させることを特徴とする表示システム。
【請求項6】
請求項1に記載の表示システムであって、
前記制御部は、前記灯色が青色の前記信号画像を表示させている時に車速が所定速度を超えた場合、前記灯色が青色の前記信号画像の表示を消すことを特徴とする表示システム。
【請求項7】
請求項1に記載の表示システムであって、
前記制御部は、前記信号画像を表示してから所定時間経過した後、前記信号画像の表示を消すことを特徴とする表示システム。
【請求項8】
請求項1に記載の表示システムであって、
前記制御部は、
先行車に関する先行車情報を取得し、
前記先行車情報に基づいて、前記先行車と重複しない領域に前記信号画像を表示させることを特徴とする表示システム。
【請求項9】
請求項8に記載の表示システムであって、
前記制御部は、
前記先行車情報として、前記先行車までの距離を示す距離情報を取得し、
前記距離情報の示す前記先行車までの距離が所定距離よりも近い場合、前記先行車と重複しない領域に前記信号画像を表示させる
ことを特徴とする表示システム。
発明の詳細な説明
【技術分野】
【0001】
本発明は、表示システムに関する。
続きを表示(約 1,400 文字)
【背景技術】
【0002】
特許文献1には、ヘッドアップディスプレイ(HUD)を用いて信号機の画像を表示することが記載されている。
【先行技術文献】
【特許文献】
【0003】
特開2023-137772号公報
【発明の概要】
【発明が解決しようとする課題】
【0004】
特許文献1記載の表示方法では、前方の車両がカメラによって信号の色を認識し、車車間通信により信号の色情報が後続の車両に送信され、前方の車両から受信した信号の色の情報に基づいて、HUDに信号機の画像が表示される。但し、この方法では、前方の車両が信号の色を誤認識した場合に、誤った色の信号機の画像が表示されるおそれがある。
【0005】
本発明は、ヘッドアップティスプレイに信号機の画像を正確に表示させることを目的とする。
【課題を解決するための手段】
【0006】
上記目的を達成するための本発明の一形態は、画像を生成する画像生成部と、前記画像を画像光として透過反射部に投影し、虚像を表示する光学系と、路側装置から信号情報を受信する通信部と、前記信号情報に基づいて、信号機の灯色を示す信号画像を前記虚像として表示させる制御部と、を備える表示システムである。
【0007】
その他、本願が開示する課題、及びその解決方法は、発明を実施するための形態の欄、及び図面により明らかにされる。
【発明の効果】
【0008】
本発明によれば、信号機の画像を正確に表示することができる。
【図面の簡単な説明】
【0009】
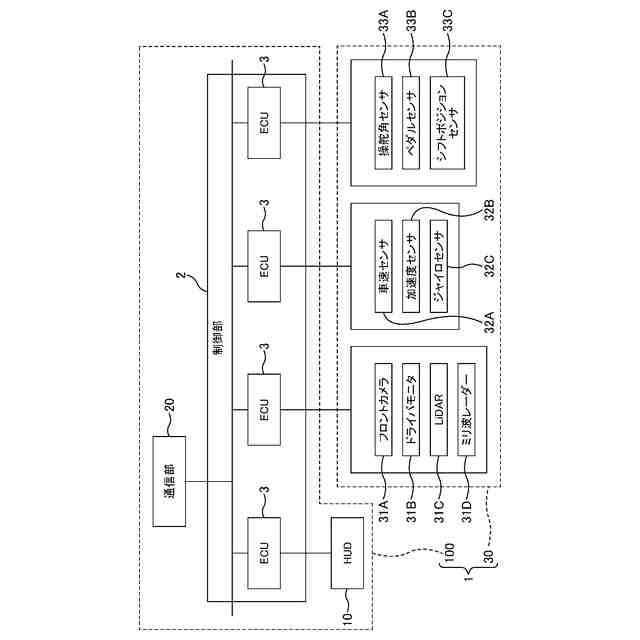
図1は、制御システム1の全体構成の説明図である。
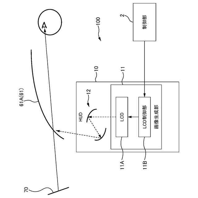
図2は、HUD10の説明図である。
図3は、交差点に車両61が進入する様子の説明図である。
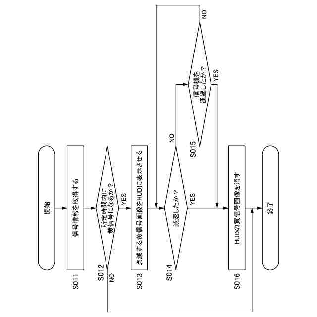
図4は、制御部2が行う表示処理のフロー図である。
図5は、信号画像71Aが表示された様子の説明図である。
図6は、第2の表示処理のフロー図である。
図7は、別の予告画像71Bの説明図である。
図8は、第3の表示処理のフロー図である。
図9は、先行車62がある場合の説明図である。
図10は、虚像71と先行車62との位置関係の説明図である。
図11は、第4の表示処理のフロー図である。
図12は、図11の表示処理によって表示された信号画像71A(虚像71)の説明図である。
図13は、第4の表示処理の変形例のフロー図である。
図14は、交差点を越えた側の車線が混雑している様子の説明図である。
図15は、第5の表示処理のフロー図である。
図16は、図15の表示処理によって表示された信号画像71A及び警告画像71Dの説明図である。
図17A及び図17Bは、変形例の警告画像71Dの説明図である。
図18は、別の表示処理のフロー図である。
図19は、図18の処理によって表示された標識画像71E(虚像71)の説明図である。
【発明を実施するための形態】
【0010】
以下、本発明を実施するための形態について図面を参照しつつ説明する。なお、以下の説明において、同一の又は類似する構成について共通の符号を付して重複した説明を省略することがある。
(【0011】以降は省略されています)
この特許をJ-PlatPat(特許庁公式サイト)で参照する
関連特許
株式会社小糸製作所
車両用灯具
1か月前
株式会社小糸製作所
車両用灯具
12日前
株式会社小糸製作所
車輌用灯具
23日前
株式会社小糸製作所
車両用灯具
23日前
株式会社小糸製作所
車両用灯具
23日前
株式会社小糸製作所
車両用灯具
1か月前
株式会社小糸製作所
車両用灯具
24日前
株式会社小糸製作所
車両用灯具
26日前
株式会社小糸製作所
車両用灯具
1か月前
株式会社小糸製作所
画像生成装置
4日前
株式会社小糸製作所
画像投影装置
1か月前
株式会社小糸製作所
画像表示装置
17日前
株式会社小糸製作所
画像表示装置
4日前
株式会社小糸製作所
道路冠水通知システム
24日前
株式会社小糸製作所
固定構造及び固定方法
10日前
株式会社小糸製作所
ヘッドアップディスプレイ
4日前
株式会社小糸製作所
レンズに付着する雪を融かす融雪機構
1か月前
株式会社小糸製作所
画像投影ユニットおよび画像投影装置
1か月前
株式会社小糸製作所
画像照射装置、画像投影装置、および画像照射方法
24日前
株式会社小糸製作所
車両用赤外線センサ内蔵灯具
17日前
個人
安全支援装置
11日前
日本精機株式会社
警報システム
2か月前
株式会社SUBARU
車両
1か月前
個人
自動電動車椅子
1か月前
エムケー精工株式会社
車両誘導装置
2か月前
スズキ株式会社
運転支援装置
2か月前
株式会社国際電気
防災システム
2か月前
ニッタン株式会社
検知器
2か月前
ニッタン株式会社
検知器
1か月前
個人
磁気路上での車両の路線離脱防御
1か月前
ニッタン株式会社
検知器
2か月前
ニッタン株式会社
検知器
2か月前
日本無線株式会社
船舶システム
12日前
日本信号株式会社
異常走行検出装置
1か月前
大阪瓦斯株式会社
音声出力システム
1か月前
株式会社SUBARU
運転支援装置
1か月前
続きを見る
他の特許を見る