TOP
|
特許
|
意匠
|
商標
特許ウォッチ
Twitter
他の特許を見る
公開番号
2025144055
公報種別
公開特許公報(A)
公開日
2025-10-02
出願番号
2024043636
出願日
2024-03-19
発明の名称
検知器
出願人
ニッタン株式会社
代理人
個人
,
個人
主分類
G08B
17/12 20060101AFI20250925BHJP(信号)
要約
【課題】気密性の高い筐体を有する検知器において本体ケースをベース部から簡単に外せるようにする。
【解決手段】検知対象の事象発生を検出する機能を有する検出回路を内蔵した筐体を備え、筐体の正面側に設けられた開口部に臨むようにして検知用受光素子が配設され、開口部と検知用受光素子との間には透明な保護カバーが設けられている検知器において、筐体は建物の設置面に直接または取付け台を介して設置するための下部ケースと保護カバーを有し下部ケースに嵌合される本体ケースとを備え、下部ケースと本体ケースとの嵌合部は気密性を有するように構成されており、下部ケースと本体ケースの各外周面の、下部ケースと本体ケースとの嵌合部の近傍には、正規の嵌合位置で互いに近接しかつ中心がずれた状態になる一対のタブが形成されているようにした。
【選択図】図1
特許請求の範囲
【請求項1】
検知対象が発する所定波長光を受光する1または2以上の検知用受光素子および該検知用受光素子からの信号に基づいて検知対象の事象発生を検出する機能を有する検出回路を内蔵した筐体を備え、
前記検知用受光素子は、筐体の正面側に設けられた開口部に臨むようにして前記筐体の内部に配設され、前記開口部と前記検知用受光素子との間には透明な保護カバーが設けられている検知器であって、
前記筐体は、
建物の設置面に直接または取付け台を介して設置するための下部ケースと、前記保護カバーを有し前記下部ケースに嵌合される本体ケースとを備え、
前記下部ケースと前記本体ケースとの嵌合部は気密性を有するように構成されており、
前記下部ケースと前記本体ケースの各外周面の、前記下部ケースと前記本体ケースとの嵌合部の近傍には、正規の嵌合位置で互いに近接しかつ中心がずれた状態になるほぼ同一の大きさの対をなすタブがそれぞれ形成されていることを特徴とする検知器。
続きを表示(約 790 文字)
【請求項2】
前記下部ケースの外周面に形成された前記タブまたは前記本体ケースの外周面に形成された前記タブには位置合わせ用の第1マークが付され、前記本体ケースの外周面または前記下部ケースの外周面に形成された前記タブには位置合わせ用の第2マークが付されていることを特徴とする請求項1に記載の検知器。
【請求項3】
前記下部ケースの外周面と前記本体ケースの外周面の、前記対をなすタブの形成部位とは異なる部位に、外周面から外側へ突出し対向するように対をなす複数の張出し部が形成され、
前記張出し部には対応する張出し部と中心軸が一致するようにしてネジ挿通穴とネジ穴が設けられ、前記ネジ挿通穴に挿通されたネジが対応する張出し部のネジ穴に螺合されることによって、前記下部ケースと前記本体ケースとが結合されるように構成されており、
前記本体ケースの張出し部は前記ネジ挿通穴の中心軸と直交する方向の断面が、前記下部ケースの張出し部の前記ネジ穴の中心軸と直交する方向の断面よりも面積が大きくなるようにサイズが設定されていることを特徴とする請求項2に記載の検知器。
【請求項4】
前記本体ケースの外周面または前記下部ケースの外周面の、前記本体ケースと前記下部ケースとの嵌合部の近傍には嵌合方向へ突出するピンが設けられ、
前記下部ケースの外周面または前記本体ケースの外周面の、前記ピンと対向する部位には、前記ピンが周方向に沿って移動可能に挿入されるスリットを有する回転範囲規制片が設けられていることを特徴とする請求項3に記載の検知器。
【請求項5】
前記下部ケースの内壁面に一端が係止され、前記本体ケースの内壁面に他端が係止された脱落防止用の紐状部材が設けられていることを特徴とする請求項1~4のいずれかに記載の検知器。
発明の詳細な説明
【技術分野】
【0001】
本発明は、炎等の異常事象の検知を行う検知器に関し、特に防塵、防水のために気密性の高い構造を有する筐体を備えた検知器に適用して有用な技術に関する。
続きを表示(約 2,500 文字)
【背景技術】
【0002】
建物内外に設けられている火災報知システムに使用される火災感知器のひとつに炎検知器がある。炎検知器のセンサーには、紫外線センサー、赤外線センサーが使用されており、特定種類の炎を検出でき、且つ、太陽光や他の熱源を検出しないように受光できる波長が限定されている。また、炎検知器は、屋外で使用されることを考慮して、センサーを内蔵した筐体は、パッキンなどのシール材を用いて防塵防水構造を有するように構成されることがある。
従来、防塵、防水のためにパッキンを使用した炎検知器に関する発明として、特許文献1に記載されているものがある。
【0003】
一方、炎検知器は、監視したいエリアを絞ってそのエリアが検知範囲に入るように角度調整器を使用して設置されることがある。直交する2つの軸を中心にして角度調整可能な機能を有することで、精度の高い角度調整が可能な炎検知器設置用の取付け台は、例えば特許文献2に記載されている。
【先行技術文献】
【特許文献】
【0004】
特開2016-71775号公報
特開2022-40902号公報
【発明の概要】
【発明が解決しようとする課題】
【0005】
監視エリアに設置された炎検知器は、設置工事の配線作業時や定期的なメンテナンス時に、筐体を開いて内部をアクセスできるようにするため、筐体を本体ケースとベース部とで構成し、取付け台に固定されたベース部から本体ケースを分離できるように構成されることがある。しかし、機密性の高い炎検知器の筐体は、ベース部から本体ケースを分離するのに比較的強い力が必要である。また、検知器設置の際に行われる配線作業やメンテナンスは、検知器が高所に取り付けられた状態で、本体ケースの結合用のボルトやネジを外し、本体ケースをベース部から分離する作業が必要であり、作業の難易度が高いという課題がある。
さらに、高所で筐体を開く作業を行う際に、手を滑らせて本体ケースを掴み損なって落下させてしまうおそれがあった。
【0006】
本発明は上記のような課題に着目してなされたもので、その目的とするところは、筐体が本体ケースとベース部とで構成され気密性の高い構造を有する検知器において、本体ケースをベース部から簡単に外すことができるようにすることにある。
本発明の他の目的は、筐体を開く作業を行う際に、手を滑らせて本体ケースを掴み損なったとしても本体ケースが落下するおそれがないようにすることにある。
【課題を解決するための手段】
【0007】
上記課題を解決するために、この発明は、
検知対象が発する所定波長光を受光する1または2以上の検知用受光素子および該検知用受光素子からの信号に基づいて検知対象の事象発生を検出する機能を有する検出回路を内蔵した筐体を備え、
前記検知用受光素子は、筐体の正面側に設けられた開口部に臨むようにして前記筐体の内部に配設され、前記開口部と前記検知用受光素子との間には透明な保護カバーが設けられている検知器において、
前記筐体は、
建物の設置面に直接または取付け台を介して設置するための下部ケースと、前記保護カバーを有し前記下部ケースに嵌合される本体ケースとを備え、
前記下部ケースと前記本体ケースとの嵌合部は気密性を有するように構成されており、
前記下部ケースと前記本体ケースの各外周面の、前記下部ケースと前記本体ケースとの嵌合部の近傍には、正規の嵌合位置で互いに近接しかつ中心がずれた状態になるほぼ同一の大きさの対をなすタブがそれぞれ形成されているようにしたものである。
【0008】
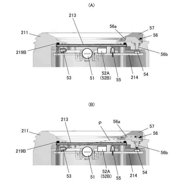
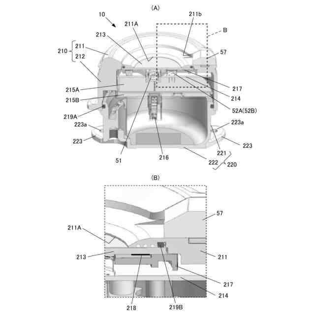
上記のような構成を有する検知器によれば、下部ケースの外周面に形成されているタブと本体ケースの外周面に形成されているタブが、上面視で重ならない位置に配置されるため、各タブに親指と人差し指を当ててひねるような力を付与することで本体ケースと下部ケース(ベース部)を分離することができる。その結果、筐体が本体ケースと下部ケースとで構成され気密性の高い構造を有する検知器において、本体ケースを下部ケースから簡単に外すことができる。
【0009】
ここで、望ましくは、前記下部ケースの外周面に形成された前記タブまたは前記本体ケースの外周面に形成された前記タブには位置合わせ用の第1マークが付され、前記本体ケースの外周面または前記下部ケースの外周面に形成された前記タブには位置合わせ用の第2マークが付されているようにする。
かかる構成によれば、第1マークと第2マークとを一致させるように、本体ケースと下部ケースを嵌合させると、自動的に嵌合の位置合わせができ、結合用ネジによる本体ケースと下部ケースの結合作業を容易に行うことができる。
【0010】
また、望ましくは、前記下部ケースの外周面と前記本体ケースの外周面の、前記対をなすタブの形成部位とは異なる部位に、外周面から外側へ突出し対向するように対をなす複数の張出し部が形成され、
前記張出し部には対応する張出し部と中心軸が一致するようにしてネジ挿通穴とネジ穴が設けられ、前記ネジ挿通穴に挿通されたネジが対応する張出し部のネジ穴に螺合されることによって、前記下部ケースと前記本体ケースとが結合されるように構成されており、
前記本体ケースの張出し部は前記ネジ挿通穴の中心軸と直交する方向の断面が、前記下部ケースの張出し部の前記ネジ穴の中心軸と直交する方向の断面よりも面積が大きくなるようにサイズが設定されているようにする。
かかる構成によれば、本体ケースの張出し部と下部ケースの張出し部との接合部に段差が生じ、これにより、本体ケースを下部ケースから引き抜く時に、上記段差に指を引っ掛けることで、分離作業をやり易くすることができる。
(【0011】以降は省略されています)
この特許をJ-PlatPat(特許庁公式サイト)で参照する
関連特許
ニッタン株式会社
防災設備用の機器収容箱および音響装置
16日前
ニッタン株式会社
検知器の加熱手段制御方法および検知器
16日前
ニッタン株式会社
位置情報システム
18日前
ニッタン株式会社
位置情報システム
18日前
日本精機株式会社
警報システム
1か月前
個人
自動電動車椅子
1か月前
株式会社SUBARU
車両
16日前
スズキ株式会社
運転支援装置
1か月前
エムケー精工株式会社
車両誘導装置
2か月前
ニッタン株式会社
検知器
1か月前
ニッタン株式会社
検知器
1か月前
ニッタン株式会社
検知器
1か月前
ニッタン株式会社
発信機
2か月前
個人
磁気路上での車両の路線離脱防御
26日前
ニッタン株式会社
発信機
2か月前
ニッタン株式会社
検知器
23日前
株式会社国際電気
防災システム
1か月前
トヨタ自動車株式会社
車両
2か月前
株式会社小糸製作所
移動体検出装置
1か月前
大阪瓦斯株式会社
音声出力システム
22日前
トヨタ自動車株式会社
サーバ
1か月前
ダイハツ工業株式会社
移動支援装置
8日前
株式会社SUBARU
運転支援装置
24日前
日本信号株式会社
異常走行検出装置
1か月前
個人
乗り物の移動を支援する方法及び装置
3か月前
三菱自動車工業株式会社
制御システム
22日前
株式会社CCT
通信装置及び表示方法
23日前
株式会社デンソー
運航管理装置
15日前
日本精機株式会社
報知装置及び報知システム
1か月前
株式会社小糸製作所
車両検出システム
1か月前
株式会社SUBARU
事故情報収集装置
16日前
株式会社 ミックウェア
車内環境制御システム
11日前
日本信号株式会社
交通信号制御システム
3か月前
個人
現示内容に関する情報放送機能付き信号機
2か月前
能美防災株式会社
火災感知器
1か月前
株式会社SUBARU
車室内異常検知装置
16日前
続きを見る
他の特許を見る