TOP
|
特許
|
意匠
|
商標
特許ウォッチ
Twitter
他の特許を見る
10個以上の画像は省略されています。
公開番号
2025174775
公報種別
公開特許公報(A)
公開日
2025-11-28
出願番号
2024101426
出願日
2024-06-24
発明の名称
交通信号システム
出願人
オ,ウォンチョル
代理人
個人
,
個人
主分類
G08G
1/085 20060101AFI20251120BHJP(信号)
要約
【課題】本発明は、信号灯器が見られずに発生し得る交通事故および安全事故が防止できる新しい交通信号システムを提供する。
【解決手段】車両の運行に対する信号を表示する複数のLEDからなる信号灯器、上記信号灯器を支持する信号灯器支持本体および上記信号灯器支持本体のフレーム縁部領域に配置され、複数の色光を出力する信号灯器補助照明部を含む信号灯器ユニット、および上記信号灯器に対する信号制御シグナルに応じ、上記複数のLEDが点灯されるように制御し、上記信号灯器の色と同一の色が出力されるように、上記信号灯器補助照明部を制御する制御部を備える。
【選択図】図6
特許請求の範囲
【請求項1】
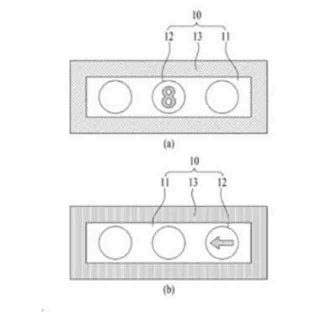
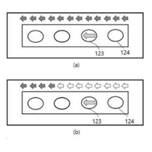
交通信号システムにおいて、車両の運行に対する信号を表示する複数のLEDからなる信号灯器、前記信号灯器を支持する信号灯器支持本体および前記信号灯器支持本体のフレーム縁部領域に配置され、複数の色光を出力する信号灯器補助照明部を含む信号灯器ユニット;および前記信号灯器に対する信号制御シグナルに応じ、前記複数のLEDが点灯されるように制御し、前記信号灯器の色と同一の色が出力されるように、前記信号灯器補助照明部を制御する制御部;を含み、前記信号灯器支持本体の上部フレームまたは下部フレームに装着されたLEDは、所定の案内マークを点灯して表示するように構成され、前記制御部は、前記信号灯器に対する表示時間を含む制御設定情報を貯蔵し、前記信号灯器が点灯すると、前記制御設定情報の信号表示時間に応じ、前記信号灯器支持本体の案内マークを点灯し、前記制御部は、緑信号灯器が発光すると、前記案内マークは、四角形または円形の図形が一列に配列されてすべて点灯し、表示時間が短くなるにつれ、前記四角形または円形の図形の発光数が減少し、左折信号灯器が発光すると、前記案内マークは、左側が頂点である矢印図形が一列に配列されてすべて点灯し、表示時間が短くなるにつれ、前記矢印図形の発光数が減少するように制御する、交通信号システム。
続きを表示(約 790 文字)
【請求項2】
前記の信号灯器は、右折信号灯器をさらに含み、前記制御部は、右折信号灯器が発光すると、前記案内マークが右側が頂点である矢印図形が一列に配列されてすべて点灯し、表示時間が短くなるにつれ、前記矢印図形の発光数が減少するように制御する、請求項1に記載の交通信号システム。
【請求項3】
前記制御部は、横断歩道区域に通行者がいることを感知したり、または前記交通信号システムの通信部を介して右折交差点の他の信号灯器が緑信号に切り替わったことを受信したりすると、前記右折信号灯器と前記信号灯器補助照明部のLEDの点灯を開始しない、請求項2に記載の交通信号システム。
【請求項4】
前記信号灯器補助照明部の上側または下側に道路情報案内部をさらに含み、前記道路情報案内部は、道路名住所案内部と道路状態通知部とを含む、請求項1に記載の交通信号システム。
【請求項5】
前記道路名住所案内部は、直進道路の道路名、左側走行する場合の道路名、そして右側走行する場合の道路名を表示し、前記道路名は「道路」または「路」、あるいは「道」の道路交通法規上の道路名称である、請求項4に記載の交通信号システム。
【請求項6】
前記道路名住所案内部は、直進または、左側走行あるいは右側走行区間の道路名住所に含まれる建物をさらに表示する、請求項5に記載の交通信号システム。
【請求項7】
前記道路状態通知部は、各々の前記道路名住所案内部に隣接して設けられ、直進、左折または右折する場合の当該道路名住所の区間が、「正常」「若干遅延」または「渋滞」の状態であるか否かを文字で表示し、前記制御部は、前記交通信号システムの通信部を介して道路交通状況をリアルタイムで受信して混雑情報を表示する、請求項5に記載の交通信号システム。
発明の詳細な説明
【技術分野】
【0001】
本発明は、交通信号システムに関し、より詳細には、信号灯器の視認性を向上する交通信号システムに関する。
続きを表示(約 1,800 文字)
【背景技術】
【0002】
一般に、信号灯器は、交差点、踏切などに設置され、車両や歩行者が運行、歩行および停止をできるようにする装置である。この信号灯器は緑、赤、矢印などの信号を表示することができるが、複数のLEDで構成され、色を介して運行、歩行および停止に対する信号を表示する。
【0003】
しかし、信号灯器を歩行者や運転者が見るとき、見える前方に日が昇っていたり、ライトが付いていたりすると、信号灯器を正確に見られない場合も発生することがある。これは、信号灯器が日やライトによって遮られる場合で、信号灯器の領域が狭いために現れる現象である。これによって交通事故および安全事故が発生し得る問題があった。
【0004】
交通信号システムに対する先行技術特許として、韓国登録特許第10-2614255号公報は、交通情報と路面状態情報を取得するためのカメラと、交通状況、気候状態、時間帯別表出情報に応じた可変表出情報を表示する交通情報表示板70を備えたシステムを開示している。
【0005】
韓国登録特許第10-2604315号公報は、歩行者作動交通信号制御器の無線送受信装置であり、緑信号点灯時間または追加される歩行者緑信号消灯時間を任意に操作して信号灯器の点灯を制御する信号操作部と、遠隔地の交通管制センターとネットワーキングされる交通信号制御器と、交差点に設置されて歩行者から歩行信号を発生させる無線押しボタンスイッチとを備えた交通信号制御器の無線送受信装置を開示している。
【0006】
出願人の先行特許である韓国登録特許第10-2564695号公報は、車両の運行に対する信号を表示する複数のLEDからなる信号灯器、信号灯器を支持する信号灯器支持本体および信号灯器支持本体のフレーム縁部領域に配置され、複数の色光を出力する信号灯器補助照明部を含む信号灯器ユニットおよび信号灯器に対する信号制御シグナルに応じて複数のLEDが点灯されるように制御し、信号灯器の色と同一の色が出力されるように信号灯器補助照明部を制御する制御部を含む交通シグナルシステムを開示している。
【0007】
本発明は、これらの先行特許をさらに改善し、自動車の運転者と、歩行者が容易に視認するができ、信号待ち時間が分かりやすく、自動車の走行方向に応じて道路および区間情報を正確に知らせるために考案することになった。
【先行技術文献】
【特許文献】
【0008】
韓国登録特許第10-2614255号公報
韓国登録特許第10-2604315号公報
韓国登録特許第10-2564695号公報
【発明の概要】
【発明が解決しようとする課題】
【0009】
したがって、本発明の目的は、信号灯器を見られずに発生し得る交通事故および安全事故が防止できる交通信号システムを提供することである。
【課題を解決するための手段】
【0010】
本発明は、上記目的を達成するために、交通信号システムにおいて、車両の運行に対する信号を表示する複数のLEDからなる信号灯器、上記信号灯器を支持する信号灯器支持本体および上記信号灯器支持本体のフレーム縁部領域に配置され、複数の色光を出力する信号灯器補助照明部を含む信号灯器ユニット;および上記信号灯器に対する信号制御シグナルに応じ、上記複数のLEDが点灯されるように制御し、上記信号灯器の色と同一の色が出力されるように、上記信号灯器補助照明部を制御する制御部;を含み、上記信号灯器支持本体の上部フレームまたは下部フレームに装着されたLEDは、所定の案内マークを点灯して表示するように構成され、上記制御部は、上記信号灯器に対する表示時間を含む制御設定情報を貯蔵し、上記信号灯器が点灯すると、上記制御設定情報の信号表示時間に応じ、上記信号灯器支持本体の案内マークを点灯し、上記制御部は、緑信号灯器が発光すると、上記案内マークは四角形または円形の図形が一列に配列されてすべて点灯し、表示時間が短くなるにつれ、上記四角形または円形の図形の発光数が減少し、左折信号灯器が発光すると、上記案内マークは左側が頂点である矢印図形が一列に配列されてすべて点灯し、表示時間が短くなるにつれ、上記矢印図形の発光数が減少するように制御する、交通信号システムを提供する。
(【0011】以降は省略されています)
この特許をJ-PlatPat(特許庁公式サイト)で参照する
関連特許
オ,ウォンチョル
交通信号システム
今日
個人
安全支援装置
23日前
日本精機株式会社
警報システム
2か月前
個人
自動電動車椅子
2か月前
株式会社SUBARU
車両
1か月前
エムケー精工株式会社
車両誘導装置
3か月前
スズキ株式会社
運転支援装置
2か月前
ニッタン株式会社
発信機
3か月前
ニッタン株式会社
検知器
2か月前
ニッタン株式会社
検知器
1か月前
ニッタン株式会社
検知器
2か月前
ニッタン株式会社
検知器
2か月前
株式会社国際電気
防災システム
3か月前
日本無線株式会社
船舶システム
24日前
個人
磁気路上での車両の路線離脱防御
2か月前
トヨタ自動車株式会社
車両
3か月前
大阪瓦斯株式会社
音声出力システム
1か月前
トヨタ自動車株式会社
サーバ
1か月前
株式会社SUBARU
運転支援装置
1か月前
トヨタ自動車株式会社
サーバ
2か月前
株式会社小糸製作所
移動体検出装置
2か月前
ダイハツ工業株式会社
移動支援装置
1か月前
日本信号株式会社
異常走行検出装置
2か月前
株式会社デンソー
運航管理装置
1か月前
株式会社CCT
通信装置及び表示方法
1か月前
三菱自動車工業株式会社
制御システム
1か月前
日本精機株式会社
報知装置及び報知システム
2か月前
株式会社小糸製作所
車両検出システム
2か月前
能美防災株式会社
火災感知器
2か月前
株式会社 ミックウェア
車内環境制御システム
1か月前
株式会社SUBARU
事故情報収集装置
1か月前
本田技研工業株式会社
情報提供装置
3か月前
オ,ウォンチョル
交通信号システム
今日
本田技研工業株式会社
物体検出装置
3か月前
能美防災株式会社
非常伝達装置
2か月前
株式会社SUBARU
車室内異常検知装置
1か月前
続きを見る
他の特許を見る