TOP
|
特許
|
意匠
|
商標
特許ウォッチ
Twitter
他の特許を見る
公開番号
2025115234
公報種別
公開特許公報(A)
公開日
2025-08-06
出願番号
2024009664
出願日
2024-01-25
発明の名称
情報提供装置
出願人
本田技研工業株式会社
代理人
個人
,
個人
主分類
G08G
1/00 20060101AFI20250730BHJP(信号)
要約
【課題】簡易な構成で車両の立ち往生の発生状況を把握可能にする。
【解決手段】情報提供装置10は、所定領域を走行中の車両の位置情報と車両の車格および重量の少なくとも一方の情報を含む車両情報とを含む走行情報と、道路地図を含む地図情報と、所定領域に対応した天候情報と、を取得する情報取得部111と、天候情報が、過去の所定時点から現在までの所定期間に所定領域内で降雪があったことを示すとき、走行情報に基づいて、所定の車格を有するまたは所定重量以上の特定車両の所定領域内における走行状況を認識し、認識結果に基づいて、所定領域内における車両立ち往生の発生を予測する予測部112と、予測部112による予測の結果と所定領域の道路地図とを対応付けた立ち往生リスク情報を出力する出力部113と、を備える。
【選択図】図3
特許請求の範囲
【請求項1】
所定領域を走行中の車両の位置情報と前記車両の車格および重量の少なくとも一方の情報を含む車両情報とを含む走行情報を取得する走行情報取得部と、
道路地図を含む地図情報を取得する地図情報取得部と、
前記所定領域に対応した天候情報を取得する天候情報取得部と、
前記天候情報が、過去の所定時点から現在までの所定期間に前記所定領域内で降雪があったことを示すとき、前記走行情報取得部により取得された前記走行情報に基づいて、所定の車格を有するまたは所定重量以上の特定車両の前記所定領域内における走行状況を認識する認識部と、
前記認識部の認識結果に基づいて、前記所定領域内における車両の立ち往生の発生を予測する予測部と、
前記予測部による予測の結果と前記所定領域の前記道路地図とを対応付けた立ち往生リスク情報を出力する出力部と、を備えた情報提供装置。
続きを表示(約 1,000 文字)
【請求項2】
請求項1に記載の情報提供装置において、
前記認識部は、前記所定領域内を走行する前記特定車両の台数および前記所定領域内を走行する全車両に占める前記特定車両の割合の少なくとも一方を前記走行状況として認識し、
前記予測部は、前記認識部により認識された前記走行状況により示される前記特定車両の前記台数または前記割合の値が大きいほど、前記所定領域内において車両の立ち往生が発生する可能性の程度を高く予測することを特徴とする情報提供装置。
【請求項3】
請求項1に記載の情報提供装置において、
前記認識部は、前記走行情報取得部により取得された前記走行情報に基づいて、前記所定領域内を走行中の前記車両の出発地点を推定し、前記所定領域内を走行する、前記出発地点が非降雪地域である前記特定車両の台数、および、前記所定領域内を走行する全車両に占める、前記出発地点が非降雪地域である前記特定車両の割合の少なくとも一方を前記走行状況として認識し、
前記予測部は、前記認識部により認識された前記走行状況により示される前記特定車両の前記台数または前記割合が大きいほど、前記所定領域内において車両の立ち往生が発生する可能性の程度を高く予測することを特徴とする情報提供装置。
【請求項4】
請求項1または2に記載の情報提供装置において、
前記走行情報には、前記所定領域を走行中の前記車両の加速装置のオンまたはオフを示す加速制御情報がさらに含まれ、
前記認識部は、前記地図情報取得部により取得された前記地図情報に基づいて前記道路地図上の前記所定領域に含まれる交差点、所定勾配以上の登り坂、または渋滞多発地点の位置を特定し、前記走行情報取得部により取得された前記走行情報に基づいて、前記特定車両が前記交差点で停止状態から発進したときの走行位置の変化を前記走行状況として認識し、
前記予測部は、前記認識部により認識された前記走行状況に基づいて、前記交差点、前記所定勾配以上の登り坂、または前記渋滞多発地点で前記特定車両が前記停止状態から発進した後前記走行位置が所定距離変化するまでの時間を算出し、算出した前記時間が所定長さ以上であるとき所定長さ未満であるときよりも前記所定領域内において車両の立ち往生が発生する可能性の程度を高く予測することを特徴とする情報提供装置。
発明の詳細な説明
【技術分野】
【0001】
本発明は、道路における車両の立ち往生の発生に関する情報を提供する情報提供装置に関する。
続きを表示(約 1,600 文字)
【背景技術】
【0002】
従来より、渋滞度情報と気象情報とに基づいて車両が走行する走行路の交通障害発生リスクを予測するようにした装置が知られている(例えば特許文献1参照)。特許文献1記載の装置では、時間当たりの降雪量と渋滞度に基づいて交通障害の発生を予測する。
【先行技術文献】
【特許文献】
【0003】
特開2018-55207号公報
【発明の概要】
【発明が解決しようとする課題】
【0004】
ところで、積雪により車両の立ち往生がいったん発生すると、立ち往生した車両が除雪作業の障害となって立ち往生が大規模化し、場合によっては、道路が数日間に亘って通行止めとなり交通機能が麻痺するおそれがある。したがって、立ち往生の発生を予測し未然に防ぐことが求められている。しかしながら、渋滞度に基づいて交通障害の発生を予測する特許文献1記載の構成では、渋滞度と相関がない積雪による立ち往生を予測することが困難である。
【課題を解決するための手段】
【0005】
本発明の一態様である情報提供装置は、所定領域を走行中の車両の位置情報と車両の車格および重量の少なくとも一方の情報を含む車両情報とを含む走行情報を取得する走行情報取得部と、道路地図を含む地図情報を取得する地図情報取得部と、所定領域に対応した天候情報を取得する天候情報取得部と、天候情報が、過去の所定時点から現在までの所定期間に所定領域内で降雪があったことを示すとき、走行情報取得部により取得された走行情報に基づいて、所定の車格を有するまたは所定重量以上の特定車両の所定領域内における走行状況を認識する認識部と、認識部の認識結果に基づいて、所定領域内における車両の立ち往生の発生を予測する予測部と、予測部による予測の結果と所定領域の道路地図とを対応付けた立ち往生リスク情報を出力する出力部と、を備える。
【発明の効果】
【0006】
本発明によれば、簡易な構成で車両の立ち往生の発生状況を把握できる。
【図面の簡単な説明】
【0007】
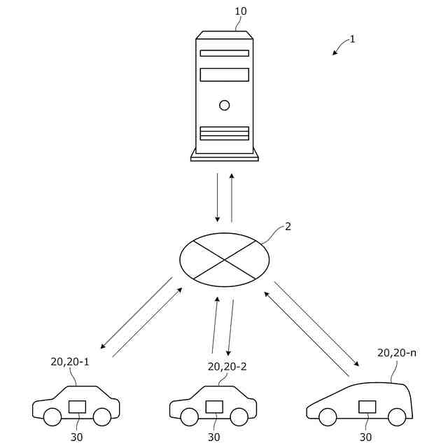
本発明の実施形態に係る情報提供装置を備える情報提供システムの構成の一例を示す図。
車載装置の要部構成を示すブロック図。
本発明の実施形態に係る情報提供装置の要部構成を示すブロック図。
立ち往生リスク情報の表示例を示す図。
図3の演算部で実行される処理の一例を示すフローチャート。
図3の演算部で実行される処理の他の例を示すフローチャート。
【発明を実施するための形態】
【0008】
以下、図1~図5Bを参照して本発明の実施形態について説明する。本発明の実施形態に係る情報提供装置は、道路における車両の立ち往生(以下、車両立ち往生と呼ぶ。)の発生に関する情報を提供するための装置である。図1は、本実施形態に係る情報提供装置を備える情報提供システムの構成の一例を示す図である。図1に示すように、情報提供システム1は、情報提供装置10と、車載装置30とを備える。情報提供装置10はサーバ装置として構成される。車載装置30は、通信網2を介して情報提供装置10と通信可能に構成される。
【0009】
通信網2には、インターネット網や携帯電話網等に代表される公衆無線通信網だけでなく、所定の管理地域ごとに設けられた閉鎖的な通信網、例えば無線LAN、Wi-Fi(登録商標)、Bluetooth(登録商標)等も含まれる。
【0010】
車載装置30は、車両20に搭載される。車両20には、複数の車両20-1,20-2,・・・,20-nが含まれる。なお、車両20は、手動運転車両であってもよいし、自動運転車両であってもよい。また、車両20には、車種やグレードが異なる車両が含まれてもよい。
(【0011】以降は省略されています)
この特許をJ-PlatPat(特許庁公式サイト)で参照する
関連特許
本田技研工業株式会社
車両
1か月前
本田技研工業株式会社
車両
1か月前
本田技研工業株式会社
車両
1か月前
本田技研工業株式会社
車両
1か月前
本田技研工業株式会社
車両
1か月前
本田技研工業株式会社
移動体
1か月前
本田技研工業株式会社
飛行体
1か月前
本田技研工業株式会社
固体電池
1か月前
本田技研工業株式会社
固体電池
1か月前
本田技研工業株式会社
エンジン
1か月前
本田技研工業株式会社
除草装置
1か月前
本田技研工業株式会社
排気装置
1か月前
本田技研工業株式会社
収容装置
1か月前
本田技研工業株式会社
清掃装置
1か月前
本田技研工業株式会社
排気装置
1か月前
本田技研工業株式会社
電気部品
1か月前
本田技研工業株式会社
排気装置
1か月前
本田技研工業株式会社
内燃機関
1か月前
本田技研工業株式会社
電気機器
1か月前
本田技研工業株式会社
内燃機関
1か月前
本田技研工業株式会社
電気機器
1か月前
本田技研工業株式会社
二次電池
1か月前
本田技研工業株式会社
触媒装置
1か月前
本田技研工業株式会社
発電セル
1か月前
本田技研工業株式会社
固体電池
1か月前
本田技研工業株式会社
制御装置
1か月前
本田技研工業株式会社
電気機器
1か月前
本田技研工業株式会社
電気機器
1か月前
本田技研工業株式会社
全固体電池
1か月前
本田技研工業株式会社
鞍乗型車両
1か月前
本田技研工業株式会社
全固体電池
1か月前
本田技研工業株式会社
全固体電池
1か月前
本田技研工業株式会社
全固体電池
1か月前
本田技研工業株式会社
リアクトル
1か月前
本田技研工業株式会社
樹脂成型品
1か月前
本田技研工業株式会社
鞍乗型車両
1か月前
続きを見る
他の特許を見る