TOP
|
特許
|
意匠
|
商標
特許ウォッチ
Twitter
他の特許を見る
公開番号
2025129513
公報種別
公開特許公報(A)
公開日
2025-09-05
出願番号
2024026194
出願日
2024-02-26
発明の名称
火災感知器
出願人
能美防災株式会社
代理人
彩雲弁理士法人
主分類
G08B
17/00 20060101AFI20250829BHJP(信号)
要約
【課題】振動による誤作動を防止可能な火災感知器を提供する。
【解決手段】刃金具3及び刃受金具4の一方を有するベース本体と、刃金具3及び刃受金具4の他方を有する感知器本体と、を備え、刃受金具4は、少なくとも1対で設けられる火災感知器において、免振部6を更に備えるものとし、免振部6を、刃金具3及び刃受金具4の少なくとも一方側に設け、刃金具3を、免振部6を介して、刃受金具4に挟持されるものとし、該火災感知器が振動した際に、刃金具3を摺動可能とする。
【選択図】図3
特許請求の範囲
【請求項1】
刃金具及び刃受金具の一方を有するベース本体と、
該刃金具及び該刃受金具の他方を有する感知器本体と、を備え、
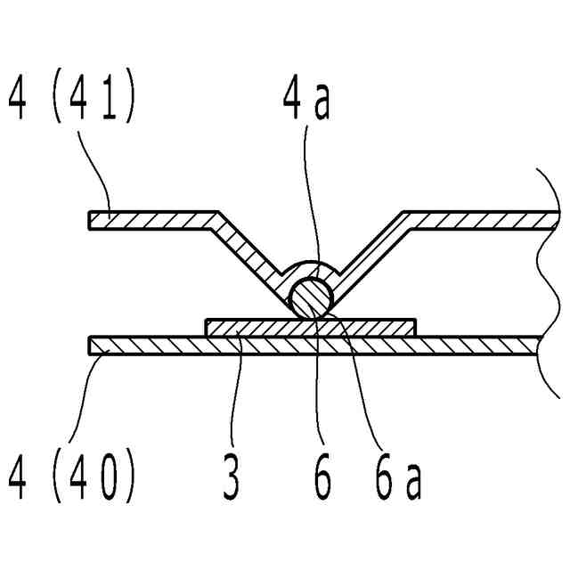
該刃受金具は、少なくとも1対で設けられる火災感知器であって、
免振部を更に備え、
該免振部は、該刃金具及び該刃受金具の少なくとも一方側に設けられ、
該刃金具は、該免振部を介して、該刃受金具に挟持されており、
該火災感知器が振動した際に、該刃金具が摺動可能となっていること特徴とする火災感知器。
続きを表示(約 520 文字)
【請求項2】
前記免振部には、曲面部が形成されており、
前記刃金具及び前記刃受金具とは、該曲面部を介して接触していることを特徴とする請求項1に記載の火災感知器。
【請求項3】
前記免振部は、略球体に形成されていることを特徴とする請求項2に記載の火災感知器。
【請求項4】
刃金具及び刃受金具の一方を有するベース本体と、
該刃金具及び該刃受金具の他方を有する感知器本体と、を備える火災感知器であって、
免振部を更に備え、
該免振部は、該感知器本体と該ベース本体との接触面に設けられたエラストマ部材として設けられていることを特徴とする火災感知器。
【請求項5】
前記免振部は、第1の免振部であり、
第2の免振部を更に備え、
前記刃受金具は、少なくとも1対で設けられており、
該第2の免振部は、前記刃金具及び該刃受金具の少なくとも一方側に設けられ、
該刃金具は、該第2の免振部を介して、該刃受金具に挟持されており、
該火災感知器が振動した際に、該刃金具が摺動可能となっていることを特徴とする請求項4に記載の火災感知器。
発明の詳細な説明
【技術分野】
【0001】
本発明は、火災感知器に関し、より詳細には、ベース本体と感知器本体とを備える火災感知器に関する。
続きを表示(約 1,400 文字)
【背景技術】
【0002】
従来、火災感知器がある。火災感知器は、火災によって発生する炎、熱又は煙等を検知して、火災を感知可能に設けられており、そのための各種センサ類を備えている。火災感知器は、天井面等の設置面に取付けられたベース本体に、該センサ類が設けられた感知器本体を取り付けることで設置されるものがある。
【0003】
この様な火災感知器は、天井内に設けられた配線より電気を得ているため、ベース本体と感知器本体とを導通可能に接続する必要があり、ベース本体に設けられた刃受金具で感知器本体に設けられた刃金具を挟持することで、感知器本体をベース本体に固定していると共に導通を確保している(例えば、特許文献1を参照)。
【0004】
一方、炎を検知する火災感知器である炎感知器においては、センサ類として焦電素子が設けられており、焦電素子により、火災で発生した炎由来の赤外線を検知して、火災を感知している(例えば、特許文献2を参照)。
【先行技術文献】
【特許文献】
【0005】
特開2021-26368号公報
特開2002-122473号公報
【発明の概要】
【発明が解決しようとする課題】
【0006】
従来の火災感知器おいては、刃受金具(400)による刃金具(300)の挟持は、人為的に感知器本体を回せば外れる様になっているものの基本的に感知器本体が動かない様に感知器本体をベース本体に固定しているため(図4を参照)、火災感知器が設置された建物等が振動すると、天井に取り付けられたベース本体を介して、感知器本体に直接的にその振動が伝わることになってしまう。特に、工場や体育館等では、機械設備や運動に起因して振動が発生し易い。
【0007】
従来の火災感知器においては、感知器本体に振動が伝わることにより、その振動によって、各種センサ類が誤作動を起こす可能性があるという問題があった。特に、炎感知器に設けられた焦電素子は、振動を受けると出力を発生させてしまうという特徴があり、誤動作を起こし易く、それによって、誤った火災警報を発してしまう可能性があり、特に問題がある。
【0008】
そこで、本発明においては、振動による誤作動を防止可能な火災感知器を提供することを目的とする。
【課題を解決するための手段】
【0009】
本発明は、刃金具及び刃受金具の一方を有するベース本体と、該刃金具及び該刃受金具の他方を有する感知器本体と、を備え、該刃受金具は、少なくとも1対で設けられる火災感知器であって、免振部を更に備え、該免振部は、該刃金具及び該刃受金具の少なくとも一方側に設けられ、該刃金具は、該免振部を介して、該刃受金具に挟持されており、該火災感知器が振動した際に、該刃金具が摺動可能となっていること特徴とする火災感知器である。
【0010】
又、本発明は、刃金具及び刃受金具の一方を有するベース本体と、該刃金具及び該刃受金具の他方を有する感知器本体と、を備える火災感知器であって、免振部を更に備え、該免振部は、該感知器本体と該ベース本体との接触面に設けられたエラストマ部材として設けられていることを特徴とする火災感知器である。
(【0011】以降は省略されています)
この特許をJ-PlatPat(特許庁公式サイト)で参照する
関連特許
能美防災株式会社
消火設備
19日前
能美防災株式会社
照射装置
12日前
能美防災株式会社
システム
10日前
能美防災株式会社
火災受信機
3日前
能美防災株式会社
携帯型電灯
17日前
能美防災株式会社
火災受信機
11日前
能美防災株式会社
火災受信機
11日前
能美防災株式会社
火災受信機
13日前
能美防災株式会社
防災システム
19日前
能美防災株式会社
防災システム
1か月前
能美防災株式会社
感知システム
12日前
能美防災株式会社
感知システム
12日前
能美防災株式会社
車両システム
12日前
能美防災株式会社
感知器ベース
21日前
能美防災株式会社
車両システム
12日前
能美防災株式会社
水噴霧ヘッド
17日前
能美防災株式会社
深部火災検知装置
11日前
能美防災株式会社
画像表示システム
13日前
能美防災株式会社
着脱式避難誘導灯
11日前
能美防災株式会社
異常検出システム
12日前
能美防災株式会社
スプリンクラ消火設備
18日前
能美防災株式会社
中継器の配線接続構造
1か月前
能美防災株式会社
エアーコンディショナー
12日前
能美防災株式会社
防災機器及び消火栓装置
11日前
能美防災株式会社
塵芥車の火災検知システム
19日前
能美防災株式会社
信号検出装置および警報器
12日前
能美防災株式会社
熱感知器及び熱感知システム
11日前
能美防災株式会社
中継器および通信テスト方法
11日前
能美防災株式会社
防災設備の製造管理システム
19日前
能美防災株式会社
避難シミュレーションシステム
19日前
能美防災株式会社
スプリンクラヘッドの散水反射板
17日前
能美防災株式会社
火災感知器及び火災報知システム
10日前
能美防災株式会社
電子タグ及び位置情報通信システム
11日前
能美防災株式会社
消火栓及びそれに用いる消火用ホース
1か月前
能美防災株式会社
煙感知器の作動試験方法、作動試験器
11日前
能美防災株式会社
スプリンクラヘッド用シーリング部材
17日前
続きを見る
他の特許を見る