TOP
|
特許
|
意匠
|
商標
特許ウォッチ
Twitter
他の特許を見る
公開番号
2025148069
公報種別
公開特許公報(A)
公開日
2025-10-07
出願番号
2024048647
出願日
2024-03-25
発明の名称
火災受信機
出願人
能美防災株式会社
代理人
弁理士法人きさ特許商標事務所
主分類
G08B
17/00 20060101AFI20250930BHJP(信号)
要約
【課題】通信異常が長期間又は高頻度で発生する場合の煩わしさを軽減できる火災受信機を得る。
【解決手段】火災受信機は、自機に通信接続された端末機器から状態情報を取得する状態情報収集処理を繰り返し実行する状態情報取得部と、状態情報収集処理の実行中における端末機器との間の通信異常の検出頻度が第1閾値以上であること、及び通信異常の検出間隔が第2閾値未満であること、のいずれか又は両方である異常制御条件が満たされた場合に、状態情報を取得する通信を停止するよう状態情報取得部を制御する異常制御部と、を備えた。
【選択図】図3
特許請求の範囲
【請求項1】
自機に通信接続された端末機器から状態情報を取得する状態情報収集処理を繰り返し実行する状態情報取得部と、
前記状態情報収集処理の実行中における前記端末機器との間の通信異常の検出頻度が第1閾値以上であること、及び前記通信異常の検出間隔が第2閾値未満であること、のいずれか又は両方である異常制御条件が満たされた場合に、前記状態情報を取得する通信を停止するよう前記状態情報取得部を制御する異常制御部と、を備えた
火災受信機。
続きを表示(約 1,300 文字)
【請求項2】
前記通信を停止する前に、停止の要否の設定を促す報知を行う報知部と、
前記停止の要否の設定を受け付ける設定部とを備えた
請求項1記載の火災受信機。
【請求項3】
前記状態情報取得部は、前記端末機器に送信した状態情報を要求する要求信号に対し、正常な状態情報信号を取得できない場合に、前記要求信号をリトライ送信し、前記リトライ送信においても正常な状態情報信号を取得できない場合に、前記通信異常を検出するものであり、
前記リトライ送信における通信速度を、前記リトライ送信前の通信速度と異ならせる、又は
複数の前記リトライ送信を行う場合のリトライ間隔を、段階的又はランダムに増加又は減少させる
請求項1又は請求項2記載の火災受信機。
【請求項4】
前記状態情報収集処理の実行中において前記端末機器との間の通信異常が検出された場合に、異常の報知を行う報知部と、
前記報知部による前記異常の報知を行うか否かの設定を記憶する記憶部とを備えた
請求項1又は請求項2記載の火災受信機。
【請求項5】
自機に通信接続された端末機器から状態情報を取得する状態情報収集処理を繰り返し実行する状態情報取得部と、
前記状態情報収集処理の実行中に、前記端末機器との間の通信異常が検出された場合に、異常を報知する報知部と、
前記通信異常の検出頻度が第1閾値以上であること、及び前記通信異常の検出間隔が第2閾値未満であること、のいずれか又は両方である異常制御条件が満たされた場合に、前記報知部による異常の報知を停止させる異常制御部と、を備えた
火災受信機。
【請求項6】
前記通信異常は、複数の種類の異常を含み、
前記異常制御部は、前記異常の種類ごとに、前記異常制御条件が満たされたか否かを判定する
請求項5記載の火災受信機。
【請求項7】
自機に通信接続された端末機器から状態情報を取得する状態情報収集処理を繰り返し実行する状態情報取得部と、
前記状態情報収集処理の実行中における前記端末機器との間の通信異常の検出回数に応じて、次回の前記状態情報収集処理における通信速度、次回の前記状態情報収集処理におけるリトライ回数、次回の前記状態情報収集処理におけるリトライ間隔のいずれか一つ以上を変更する異常制御部と、を備えた
火災受信機。
【請求項8】
前記通信速度を変更する場合、前記異常制御部は、前記通信異常の回数の増加に伴って、前記通信速度を段階的又はランダムに増加又は減少させ、
前記リトライ回数を変更する場合、前記異常制御部は、前記通信異常の回数の増加に伴って、前記リトライ回数を段階的に増加させる
前記リトライ間隔を変更する場合、前記異常制御部は、前記通信異常の回数の増加に伴って、前記リトライ間隔を段階的又はランダムに増加又は減少させる
請求項7記載の火災受信機。
発明の詳細な説明
【技術分野】
【0001】
本発明は、複数の火災感知器が接続される火災受信機に関する。
続きを表示(約 2,400 文字)
【背景技術】
【0002】
従来、複数の火災感知器と回線で接続された火災受信機は、平常時に、火災感知器の状態及び自己点検の結果等の状態情報を収集している。例えば特許文献1には、火災受信機からの伝送信号による情報収集信号を、回線を介して受信すると、自動試験結果の応答信号を回線に送出する火災感知器を備えた自動火災報知システムが開示されている。
【先行技術文献】
【特許文献】
【0003】
特開2003-109136号公報
【発明の概要】
【発明が解決しようとする課題】
【0004】
一般に、機器間の通信においては、周囲の機器からの電磁波によるノイズの発生が問題となる。例えば、火災受信機が火災感知器からの状態情報を収集する自動火災報知システムを、電磁波を発する設備又は機械が多くて電磁波を避けにくい環境に設置すると、火災受信機と火災感知器との間の通信にノイズが生じ、通信異常が発生することがある。特に、設備又は機械が故障したことで生じる電磁波がノイズの原因である場合、設備又は機械が修復されるまで通信異常が継続するが、船舶又は工場等においてはすぐに修復できないことも多い。特に航行中の船舶は、寄港するまで修復できないこともあり、通信異常が長期間にわたって続く。通信異常が発生すると、火災受信機は何らかの手段で異常警報を行うが、通信異常が継続すると異常警報も継続することになり、ユーザに煩わしさを感じさせてしまう。
【0005】
本発明は、上記のような課題を背景としたものであり、通信異常が長期間又は高頻度で発生する場合の煩わしさを軽減できる火災受信機を提供するものである。
【課題を解決するための手段】
【0006】
本発明に係る火災受信機は、自機に通信接続された端末機器から状態情報を取得する状態情報収集処理を繰り返し実行する状態情報取得部と、前記状態情報収集処理の実行中における前記端末機器との間の通信異常の検出頻度が第1閾値以上であること、及び前記通信異常の検出間隔が第2閾値未満であること、のいずれか又は両方である異常制御条件が満たされた場合に、前記状態情報を取得する通信を停止するよう前記状態情報取得部を制御する異常制御部と、を備えたものである。
本発明に係る火災受信機は、自機に通信接続された端末機器から状態情報を取得する状態情報収集処理を繰り返し実行する状態情報取得部と、前記状態情報収集処理の実行中に、前記端末機器との間の通信異常が検出された場合に、異常を報知する報知部と、前記通信異常の検出頻度が第1閾値以上であること、及び前記通信異常の検出間隔が第2閾値未満であること、のいずれか又は両方である異常制御条件が満たされた場合に、前記報知部による異常の報知を停止させる異常制御部と、を備えたものである。
本発明に係る火災受信機は、自機に通信接続された端末機器から状態情報を取得する状態情報収集処理を繰り返し実行する状態情報取得部と、前記状態情報収集処理の実行中における前記端末機器との間の通信異常の検出回数に応じて、次回の前記状態情報収集処理における通信速度、次回の前記状態情報収集処理におけるリトライ回数、次回の前記状態情報収集処理におけるリトライ間隔のいずれか一つ以上を変更する異常制御部と、を備えたものである。
【発明の効果】
【0007】
本発明の火災受信機は、通信異常が長期間又は高頻度で発生した場合でも、ユーザの煩わしさを軽減することができる。
【図面の簡単な説明】
【0008】
実施の形態1に係る火災受信機1を含む火災報知システム100の構成を説明する図である。
実施の形態1に係る状態情報収集処理における正常動作と通信異常とを説明する図である。
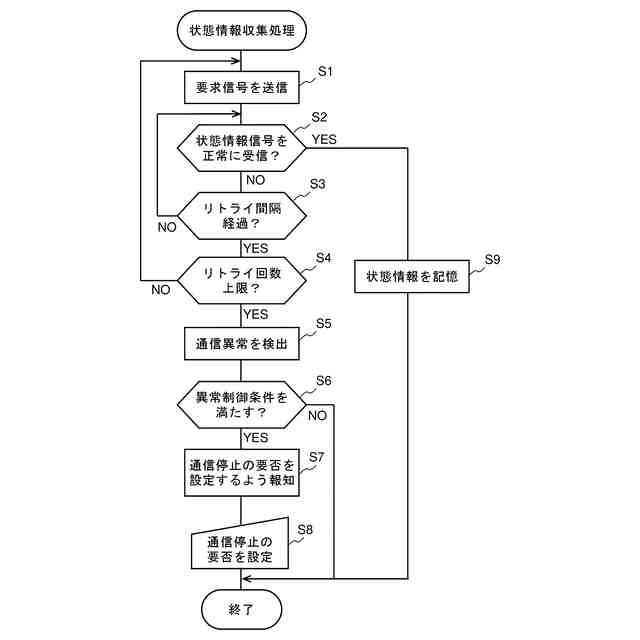
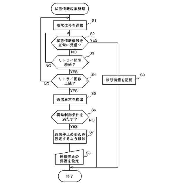
実施の形態1に係る火災受信機1の状態情報収集処理を説明するフローチャートである。
実施の形態1に係る異常制御条件の具体例を説明するための図である。
実施の形態2に係る火災受信機1の状態情報収集処理を説明するフローチャートである。
実施の形態3に係る火災受信機1の状態情報収集処理を説明するフローチャートである。
【発明を実施するための形態】
【0009】
以下、本発明に係る火災受信機の実施の形態を、図面を参照して説明する。本発明は、以下の実施の形態及び図示された態様に限定されるものではなく、本発明の主旨を逸脱しない範囲で種々に変形することが可能である。また、本発明は、以下の実施の形態に示す構成のうち、組合せ可能な構成のあらゆる組合せを含む。また、各図において、同一の符号を付したものは、同一の又は相当するものであり、これは明細書の全文において共通している。
【0010】
実施の形態1.
(火災報知システムの構成)
図1は、実施の形態1に係る火災受信機1を含む火災報知システム100の構成を説明する図である。火災報知システム100は、火災受信機1と、感知器回線2を介して火災受信機1に接続された火災感知器3及び発信機4とを備える。なお、図示された感知器回線2の数は一例であり、数は図示のものに限定されない。また、火災受信機1には、移報回線を介して防火戸若しくは排煙装置等の防排煙機器、又はベル若しくはスピーカ等の音響装置が接続されていてもよい。また、本実施の形態では、火災受信機1が、各火災感知器3に共通の信号である電圧変化を発報信号とするP型の火災受信機である例を説明するが、火災受信機1はR型の火災受信機であってもよい。
(【0011】以降は省略されています)
この特許をJ-PlatPat(特許庁公式サイト)で参照する
関連特許
株式会社SUBARU
車両
10日前
個人
自動電動車椅子
1か月前
ニッタン株式会社
検知器
17日前
ニッタン株式会社
検知器
1か月前
ニッタン株式会社
検知器
1か月前
ニッタン株式会社
検知器
1か月前
個人
磁気路上での車両の路線離脱防御
20日前
ダイハツ工業株式会社
移動支援装置
2日前
株式会社小糸製作所
移動体検出装置
1か月前
大阪瓦斯株式会社
音声出力システム
16日前
トヨタ自動車株式会社
サーバ
24日前
日本信号株式会社
異常走行検出装置
24日前
株式会社SUBARU
運転支援装置
18日前
日本精機株式会社
報知装置及び報知システム
1か月前
株式会社小糸製作所
車両検出システム
1か月前
三菱自動車工業株式会社
制御システム
16日前
株式会社デンソー
運航管理装置
9日前
株式会社CCT
通信装置及び表示方法
17日前
株式会社SUBARU
事故情報収集装置
10日前
株式会社 ミックウェア
車内環境制御システム
5日前
能美防災株式会社
火災感知器
1か月前
ヨシモトポール株式会社
接近報知システム
1か月前
株式会社SUBARU
車室内異常検知装置
10日前
ホーチキ株式会社
火災検出システム
12日前
能美防災株式会社
火災感知器及び火災報知システム
9日前
株式会社豊田中央研究所
注意喚起装置
1か月前
株式会社関電工
車両運行通知システム
5日前
シャープ株式会社
駐車制御装置
23日前
大阪瓦斯株式会社
音声出力装置
11日前
株式会社 ミックウェア
追従移動支援装置、端末装置
23日前
コイト電工株式会社
情報処理装置
10日前
能美防災株式会社
着脱式避難誘導灯
10日前
トヨタ自動車株式会社
方法
5日前
パイオニア株式会社
情報処理装置
20日前
パイオニア株式会社
情報処理装置
20日前
本田技研工業株式会社
作業システム
9日前
続きを見る
他の特許を見る