TOP
|
特許
|
意匠
|
商標
特許ウォッチ
Twitter
他の特許を見る
10個以上の画像は省略されています。
公開番号
2025152629
公報種別
公開特許公報(A)
公開日
2025-10-10
出願番号
2024054607
出願日
2024-03-28
発明の名称
作業システム
出願人
本田技研工業株式会社
代理人
弁理士法人桐朋
主分類
G08B
21/24 20060101AFI20251002BHJP(信号)
要約
【課題】良好な作業システムを提供する。
【解決手段】ユーザUによって操作される作業用移動体12によって作業が行われ得る作業システム10は、作業用移動体12の周囲のクローズアップ画像を取得する画像取得部と、ユーザUに装着されるとともに、画像取得部により取得されたクローズアップ画像に応じた提供画像をユーザUに提供するヘッドマウントディスプレイ14と、を備える。
【選択図】図1
特許請求の範囲
【請求項1】
ユーザによって操作される作業用移動体によって作業が行われ得る作業システムであって、
前記作業用移動体の周囲のクローズアップ画像を取得する画像取得部と、
前記ユーザに装着されるとともに、前記画像取得部により取得された前記クローズアップ画像に応じた提供画像を前記ユーザに提供するヘッドマウントディスプレイと、
を備える、作業システム。
続きを表示(約 1,500 文字)
【請求項2】
請求項1に記載の作業システムにおいて、
前記クローズアップ画像に対して画像処理を施し得る画像処理部を更に備え、
前記ヘッドマウントディスプレイは、前記作業の対象となる区域である作業対象区域と、前記作業の対象とならない区域である非作業対象区域とを区別する前記画像処理が施された前記提供画像を前記ユーザに提供する、作業システム。
【請求項3】
請求項1に記載の作業システムにおいて、
前記クローズアップ画像に対して画像処理を施し得る画像処理部を更に備え、
前記ヘッドマウントディスプレイは、前記作業用移動体の進入が推奨されない非推奨区域に対応する部位に、前記ユーザの注意を喚起するための前記画像処理が施された前記提供画像を前記ユーザに提供する、作業システム。
【請求項4】
請求項1に記載の作業システムにおいて、
前記クローズアップ画像に対して画像処理を施し得る画像処理部を更に備え、
前記ヘッドマウントディスプレイは、予め決められた移動経路に応じた移動方向を示す前記画像処理が施された前記提供画像を前記ユーザに提供する、作業システム。
【請求項5】
請求項1に記載の作業システムにおいて、
前記クローズアップ画像に対して画像処理を施し得る画像処理部を更に備え、
前記クローズアップ画像に特定の被写体像が含まれる場合、前記ヘッドマウントディスプレイは、前記被写体像を強調するための前記画像処理が施された前記提供画像を前記ユーザに提供する、作業システム。
【請求項6】
請求項1に記載の作業システムにおいて、
前記作業用移動体の作業状況を判定する判定部と、
音響信号を生成する音響生成部と、
前記音響生成部により生成された前記音響信号に応じた音響を前記ユーザに提供する音響出力部と、
を更に備え、
前記音響生成部は、前記作業状況に応じて、前記音響信号を変化させる、作業システム。
【請求項7】
請求項1に記載の作業システムにおいて、
前記ユーザによる前記作業用移動体の操作に基づいて前記作業用移動体が行った前記作業に応じて、前記ユーザにポイントを付与するポイント付与部を更に備える、作業システム。
【請求項8】
請求項1に記載の作業システムにおいて、
前記作業用移動体が障害物に接触するか否かを予測する予測部と、
前記作業用移動体と前記障害物とが接触することが前記予測部によって予測された場合に、前記作業用移動体と前記障害物との接触を回避するように前記作業用移動体を制御する移動体制御部と、
を更に備える、作業システム。
【請求項9】
請求項8に記載の作業システムにおいて、
前記クローズアップ画像に対して画像処理を施し得る画像処理部を更に備え、
前記移動体制御部は、前記作業用移動体と前記障害物との接触が回避できない場合に、前記作業用移動体に備えられるエアバッグを作動させ、
前記エアバッグが作動した場合、前記ヘッドマウントディスプレイは、前記エアバッグが作動したことを示す前記画像処理が施された前記提供画像を前記ユーザに提供する、作業システム。
【請求項10】
請求項6に記載の作業システムにおいて、
前記音響信号を生成する際に用いられ得る音響データを、ネットワーク通信により取得するデータ取得部を備え、
前記音響生成部は、前記データ取得部により取得される前記音響データを用いて、前記音響信号を生成する、作業システム。
発明の詳細な説明
【技術分野】
【0001】
本開示は、作業システムに関する。
続きを表示(約 1,900 文字)
【背景技術】
【0002】
特許文献1には、仮想空間表示システムが開示される。このシステムにおいて、自動運転される車両の搭乗者は、ヘッドマウントディスプレイを装着する。ヘッドマウントディスプレイは、車両の搭乗者に対して車両の周囲の実環境とは異なる仮想空間画像の表示を行う。
【先行技術文献】
【特許文献】
【0003】
特許第6232649号公報
【発明の概要】
【発明が解決しようとする課題】
【0004】
特許文献1に開示された技術は、実環境とは異なる仮想空間の表示を行うことを単に開示しているに過ぎない。近時では良好な作業システムの提供が望まれる。
【0005】
本発明は、上述した課題を解決することを目的とする。
【課題を解決するための手段】
【0006】
本開示の態様は、ユーザによって操作される作業用移動体によって作業が行われ得る作業システムであって、前記作業用移動体の周囲のクローズアップ画像を取得する画像取得部と、前記ユーザに装着されるとともに、前記画像取得部により取得された前記クローズアップ画像に応じた提供画像を前記ユーザに提供するヘッドマウントディスプレイと、を備える、作業システムである。
【発明の効果】
【0007】
本発明によれば、良好な作業システムを提供することができる。
【図面の簡単な説明】
【0008】
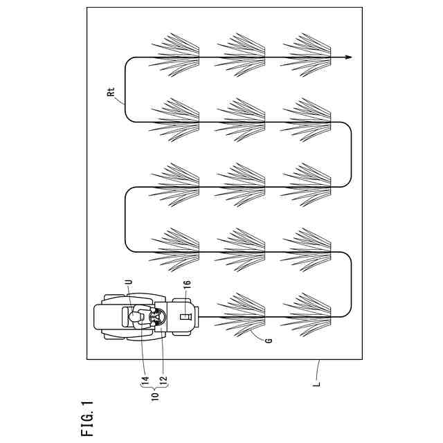
図1は、作業システムと、作業用移動体による作業とを例示する図である。
図2Aは、作業用移動体の機能ブロック図である。図2Bは、ヘッドマウントディスプレイの機能ブロック図である。
図3は、ヘッドマウントディスプレイがユーザに提供する提供画像を例示する図である。
図4は、作業用移動体の動作例を示すフローチャートである。
図5は、ヘッドマウントディスプレイの動作例を示すフローチャートである。
図6は、作業用移動体の機能ブロック図である。
図7は、作業用移動体の動作例を示すフローチャートである。
図8は、作業用移動体による作業を例示する図である。
図9は、作業用移動体の機能ブロック図である。
図10Aおよび図10Bは、ヘッドマウントディスプレイがユーザに提供する提供画像を例示する図である。
図11は、作業用移動体の動作例を示すフローチャートである。
図12は、作業用移動体による作業を例示する図である。
図13は、作業用移動体の機能ブロック図である。
図14Aおよび図14Bは、ヘッドマウントディスプレイがユーザに提供する提供画像を例示する図である。
図15は、作業用移動体の動作例を示すフローチャートである。
図16は、作業用移動体による作業を例示する図である。
図17は、作業用移動体の機能ブロック図である。
図18は、作業用移動体の動作例を示すフローチャートである。
図19は、作業用移動体による作業を例示する図である。
図20は、作業用移動体の機能ブロック図である。
図21は、ヘッドマウントディスプレイがユーザに提供する提供画像を例示する図である。
図22は、作業用移動体の他の動作例を示すフローチャートである。
図23は、ヘッドマウントディスプレイの他の動作例を示すフローチャートである。
図24は、作業用移動体の機能ブロックと、音響データのサーバとを示す図である。
【発明を実施するための形態】
【0009】
一実施形態による作業システムについて、図面を用いて説明する。図1は、作業システム10と、作業用移動体12による作業とを例示する図である。作業システム10は、作業用移動体12と、ヘッドマウントディスプレイ14とを有する。
【0010】
作業用移動体12は、移動しながら、草刈り等の作業を行う。図1に示す例では、作業用移動体12は、土地L内を、予め決められた移動経路Rtに沿って移動する。作業用移動体12は、土地L内を、移動しながら、土地Lに生えている草Gを刈っていく。なお、本実施形態では作業用移動体12によって草刈りの作業が行われるが、作業はこれに限られない。作業は、例えば、農作業、清掃作業、土木作業、運搬作業等であってもよい。
(【0011】以降は省略されています)
この特許をJ-PlatPat(特許庁公式サイト)で参照する
関連特許
本田技研工業株式会社
蓄電システム
1日前
本田技研工業株式会社
回転電機用ロータ
8日前
本田技研工業株式会社
スポット溶接方法
21日前
本田技研工業株式会社
非接触電力伝送システム
1日前
本田技研工業株式会社
金属シリコンの製造方法
8日前
本田技研工業株式会社
情報処理方法及びプログラム
20日前
本田技研工業株式会社
制御装置、および、制御方法
21日前
本田技研工業株式会社
情報処理装置、情報処理方法、およびプログラム
20日前
本田技研工業株式会社
移動体の制御装置、移動体の制御方法、およびプログラム
15日前
本田技研工業株式会社
作動装置
20日前
本田技研工業株式会社
車両、制御方法、プログラム、記憶媒体、及び情報処理装置
20日前
本田技研工業株式会社
電池の充電状態の補正方法、電池均等化方法、端末機器及び車両
7日前
本田技研工業株式会社
熱媒体組み合わせ最適化装置、熱媒体組み合わせ最適化方法、および、熱媒体組み合わせ最適化プログラム
8日前
個人
安全支援装置
22日前
日本精機株式会社
警報システム
2か月前
個人
自動電動車椅子
2か月前
株式会社SUBARU
車両
1か月前
スズキ株式会社
運転支援装置
2か月前
エムケー精工株式会社
車両誘導装置
3か月前
ニッタン株式会社
検知器
2か月前
ニッタン株式会社
検知器
2か月前
ニッタン株式会社
検知器
1か月前
ニッタン株式会社
検知器
2か月前
株式会社国際電気
防災システム
3か月前
日本無線株式会社
船舶システム
23日前
個人
磁気路上での車両の路線離脱防御
1か月前
大阪瓦斯株式会社
音声出力システム
1か月前
株式会社SUBARU
運転支援装置
1か月前
株式会社小糸製作所
移動体検出装置
2か月前
トヨタ自動車株式会社
サーバ
1か月前
トヨタ自動車株式会社
サーバ
2か月前
日本信号株式会社
異常走行検出装置
2か月前
ダイハツ工業株式会社
移動支援装置
1か月前
三菱自動車工業株式会社
制御システム
1か月前
株式会社デンソー
運航管理装置
1か月前
日本精機株式会社
報知装置及び報知システム
2か月前
続きを見る
他の特許を見る