TOP
|
特許
|
意匠
|
商標
特許ウォッチ
Twitter
他の特許を見る
公開番号
2025170492
公報種別
公開特許公報(A)
公開日
2025-11-19
出願番号
2024075098
出願日
2024-05-07
発明の名称
金属シリコンの製造方法
出願人
本田技研工業株式会社
代理人
弁理士法人クシブチ国際特許事務所
主分類
C01B
33/02 20060101AFI20251112BHJP(無機化学)
要約
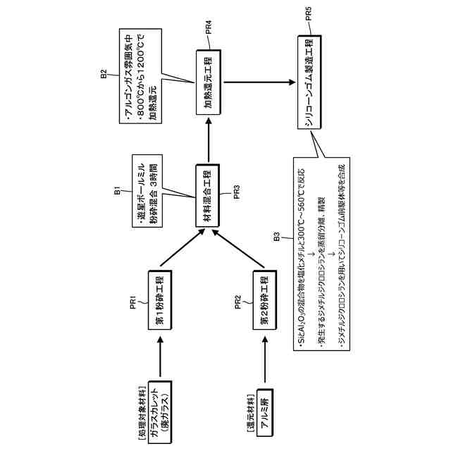
【課題】ガラス廃材等の再生利用により金属シリコンを製造する際に消費されるエネルギーの低減することができる金属シリコンの製造方法を提供する。
【解決手段】本開示の金属シリコンの製造方法は、二酸化ケイ素を含有する処理対象材料を粉砕する第1粉砕工程と、アルミニウムを含有する還元材料を粉砕する第2粉砕工程と、前記第1粉砕工程により粉砕された前記処理対象材料と、前記第2粉砕工程により粉砕された前記還元材料とを、混合する材料混合工程と、前記材料混合工程により混合された前記処理対象材料と前記還元材料について、800℃から1200℃の範囲内での加熱雰囲気による加熱還元反応を生じさせて、金属シリコンを得る加熱還元工程と、を含む。
【選択図】図1
特許請求の範囲
【請求項1】
二酸化ケイ素を含有する処理対象材料を粉砕する第1粉砕工程と、
アルミニウムを含有する還元材料を粉砕する第2粉砕工程と、
前記第1粉砕工程により粉砕された前記処理対象材料と、前記第2粉砕工程により粉砕された前記還元材料とを、混合する材料混合工程と、
前記材料混合工程により混合された前記処理対象材料と前記還元材料について、800℃から1200℃の範囲内での加熱雰囲気による加熱還元反応を生じさせて、金属シリコンを得る加熱還元工程と、
を含む金属シリコンの製造方法。
続きを表示(約 510 文字)
【請求項2】
前記処理対象材料は廃ガラス又はケイ酸植物であり、
前記還元材料は廃アルミニウムである
請求項1に記載の金属シリコンの製造方法。
【請求項3】
前記加熱還元工程は、不活性ガス雰囲気中で実行される
請求項1又は請求項2に記載の金属シリコンの製造方法。
【請求項4】
前記加熱還元工程は、炭酸カリウムを添加して実行される
請求項1又は請求項2に記載の金属シリコンの製造方法。
【請求項5】
前記加熱還元工程は、1000℃以下の加熱雰囲気により実行される
請求項1又は請求項2に記載の金属シリコンの製造方法。
【請求項6】
前記材料混合工程において、前記処理対象材料と前記還元材料は、1mm以下の粒度に粉砕された状態で混合される
請求項1又は請求項2に記載の金属シリコンの製造方法。
【請求項7】
前記加熱還元工程により得られた金属シリコンを材料として、シリコーンゴムを製造するシリコーンゴム製造工程を、さらに含む
請求項1又は請求項2に記載の金属シリコンの製造方法。
発明の詳細な説明
【技術分野】
【0001】
本発明は、二酸化ケイ素を含有する回収材料から金属シリコンを製造する金属シリコンの製造方法に関する。
続きを表示(約 1,100 文字)
【背景技術】
【0002】
近年、廃棄物の発生防止、削減、再生利用及び再利用により、廃棄物の発生の大幅な削減に向けた取り組みが活発化している。この実現に向けて、金属シリコンの再生利用に関する研究開発が行われている。
例えば、特許文献1は、二酸化ケイ素を含有するガラスと、金属アルミニウムとを1450℃以上に加熱して溶融させ、二酸化ケイ素を還元させることによって金属シリコンを生成させる、金属シリコンの製造方法を開示する。
【先行技術文献】
【特許文献】
【0003】
特開2002-193612号公報
【発明の概要】
【発明が解決しようとする課題】
【0004】
ところで、金属シリコンの再生利用に関する技術においては、金属シリコンの製造時に消費される消費エネルギーを低減することが課題である。
本願は上記課題の解決のため、ガラス廃材等の再生利用により金属シリコンを製造する際に消費されるエネルギーの低減の達成を目的としたものである。そして、延いては廃棄物の発生の大幅な削減に寄与するものである。
【課題を解決するための手段】
【0005】
上記目的を達成するための態様として、二酸化ケイ素を含有する処理対象材料を粉砕する第1粉砕工程と、アルミニウムを含有する還元材料を粉砕する第2粉砕工程と、前記第1粉砕工程により粉砕された前記処理対象材料と、前記第2粉砕工程により粉砕された前記還元材料とを、混合する材料混合工程と、前記材料混合工程により混合された前記処理対象材料と前記還元材料について、800℃から1200℃の範囲内での加熱雰囲気による加熱還元反応を生じさせて、金属シリコンを得る加熱還元工程と、を含む金属シリコンの製造方法が挙げられる。
【0006】
上記金属シリコンの製造方法において、前記処理対象材料は廃ガラス又はケイ酸植物であり、前記還元材料は廃アルミニウムである構成としてもよい。
【0007】
上記金属シリコンの製造方法において、前記加熱還元工程は、不活性ガス雰囲気中で実行される構成としてもよい。
【0008】
上記金属シリコンの製造方法において、前記加熱還元工程は、炭酸カリウムを添加して実行される構成としてもよい。
【0009】
上記金属シリコンの製造方法において、前記加熱還元工程は、1000℃以下の加熱雰囲気により実行される構成としてもよい。
【0010】
上記金属シリコンの製造方法において、前記材料混合工程における前記処理対象材料と前記還元材料は、1mm以下の粒度に粉砕された状態で混合される構成としてもよい。
(【0011】以降は省略されています)
この特許をJ-PlatPat(特許庁公式サイト)で参照する
関連特許
本田技研工業株式会社
飛行体
6日前
本田技研工業株式会社
電解装置
2日前
本田技研工業株式会社
回転電機
8日前
本田技研工業株式会社
エンジン
今日
本田技研工業株式会社
エンジン
今日
本田技研工業株式会社
灯火器構造
6日前
本田技研工業株式会社
蓄電システム
15日前
本田技研工業株式会社
冷却液タンク
13日前
本田技研工業株式会社
回転電機用ロータ
22日前
本田技研工業株式会社
加水分解処理装置
6日前
本田技研工業株式会社
水素同位体分離システム
6日前
本田技研工業株式会社
金属シリコンの製造方法
22日前
本田技研工業株式会社
非接触電力伝送システム
15日前
本田技研工業株式会社
積層体、積層体の製造方法
14日前
本田技研工業株式会社
電力変換装置、および車両
14日前
本田技研工業株式会社
人材マッチングプログラム
今日
本田技研工業株式会社
軟磁性鋼板およびその製造方法
6日前
本田技研工業株式会社
エンジン、及びエンジンの製造方法
今日
本田技研工業株式会社
有機物処理装置および有機物処理方法
6日前
本田技研工業株式会社
有機物処理装置および有機物処理方法
6日前
本田技研工業株式会社
電解システムの制御装置および電解システム
7日前
本田技研工業株式会社
音声認識装置、音声認識方法、及びプログラム
8日前
本田技研工業株式会社
三次元モデル生成装置及び三次元モデル評価システム
6日前
本田技研工業株式会社
移動体の制御装置、移動体の制御方法、およびプログラム
29日前
本田技研工業株式会社
作動装置
1か月前
株式会社ダイセル
アルミニウム合金製摺動部材用潤滑剤
6日前
本田技研工業株式会社
有機物処理装置、有機物処理方法、および燃料ガスの製造方法
6日前
本田技研工業株式会社
電池の充電状態の補正方法、電池均等化方法、端末機器及び車両
21日前
タイガースポリマー株式会社
二次電池用加圧袋およびその製造方法
6日前
本田技研工業株式会社
運転評価システム、運転評価装置、運転評価方法、およびプログラム
今日
本田技研工業株式会社
アウタロータ型モータ
今日
本田技研工業株式会社
運転支援装置、車両、運転支援装置の制御方法、プログラム及び記憶媒体
今日
本田技研工業株式会社
運転支援装置、車両、運転支援装置の制御方法、プログラム及び記憶媒体
今日
本田技研工業株式会社
熱媒体組み合わせ最適化装置、熱媒体組み合わせ最適化方法、および、熱媒体組み合わせ最適化プログラム
22日前
個人
一酸化炭素の製造方法
1か月前
個人
水素発生材料の製造方法
今日
続きを見る
他の特許を見る