TOP
|
特許
|
意匠
|
商標
特許ウォッチ
Twitter
他の特許を見る
10個以上の画像は省略されています。
公開番号
2025177072
公報種別
公開特許公報(A)
公開日
2025-12-05
出願番号
2024083579
出願日
2024-05-22
発明の名称
有機物処理装置および有機物処理方法
出願人
本田技研工業株式会社
代理人
個人
,
個人
,
個人
主分類
B09B
3/45 20220101AFI20251128BHJP(固体廃棄物の処理;汚染土壌の再生)
要約
【課題】より効率良く有機性廃棄物を処理することができる有機物処理装置および有機物処理方法を提供すること。
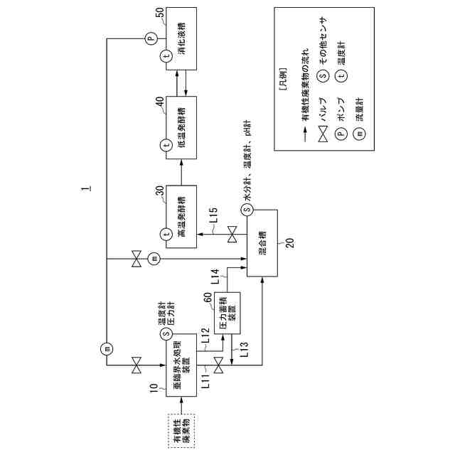
【解決手段】有機物を燃料ガスに転換する有機物処理装置であって、前記有機物と水とが混合した高温高圧の条件下で前記有機物を加水分解処理する加水分解処理装置と、前記有機物を発酵させることにより前記燃料ガスを生成する発酵槽と、前記加水分解処理装置の圧力を蓄積する圧力蓄積装置と、を備える有機物処理装置。
【選択図】図1
特許請求の範囲
【請求項1】
有機物を燃料ガスに転換する有機物処理装置であって、
前記有機物と水とが混合した高温高圧の条件下で前記有機物を加水分解処理する加水分解処理装置と、
前記有機物を発酵させることにより前記燃料ガスを生成する発酵槽と、
前記加水分解処理装置の圧力を蓄積する圧力蓄積装置と、
を備える有機物処理装置。
続きを表示(約 630 文字)
【請求項2】
前記加水分解処理装置によって処理された前記有機物を前記圧力蓄積装置に蓄積された圧力により前記発酵槽に移送する移送手段をさらに備える、
請求項1に記載の有機物処理装置。
【請求項3】
前記発酵槽に送られる有機物は少なくとも液状物を含み、
前記移送手段は、前記発酵槽における前記液状物の液面の高さより低い位置で前記発酵槽に接続される、
請求項2に記載の有機物処理装置。
【請求項4】
前記発酵は嫌気性発酵である、
請求項1に記載の有機物処理装置。
【請求項5】
前記移送手段は、前記加水分解処理装置から送られてきた前記有機物を一時貯留する貯留槽を備え、
前記貯留槽は、前記有機物が流入する第1接続部と、前記第1接続部より低い位置に設けられた第2接続部とを有し、
前記貯留槽に貯留されている前記有機物は、前記第2接続部から流出して前記発酵槽に移送される、
請求項3に記載の有機物処理装置。
【請求項6】
有機物を燃料ガスに転換する有機物処理装置が、
加水分解処理装置により、前記有機物と水とが混合した高温高圧の条件下で前記有機物を加水分解処理し、
発酵槽において、前記有機物を発酵させることにより前記燃料ガスを生成させ、
圧力蓄積装置により、前記加水分解処理装置の圧力を蓄積する、
有機物処理方法。
発明の詳細な説明
【技術分野】
【0001】
本発明は、有機物処理装置および有機物処理方法に関する。
続きを表示(約 1,300 文字)
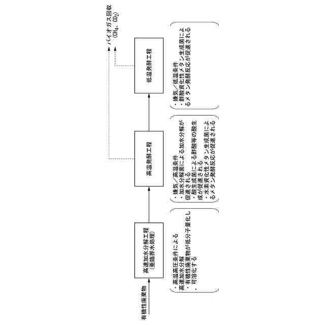
【背景技術】
【0002】
従来、亜臨界水処理装置を用いて有機性廃棄物を低分子量化し、低分子量化した有機性廃棄物からバイオガスを生成する有機性廃棄物処理システムがある(例えば特許文献1参照)。
【先行技術文献】
【特許文献】
【0003】
特開2021-070005号公報
【発明の概要】
【発明が解決しようとする課題】
【0004】
しかしながら、従来技術では、亜臨界水処理の温度設定の難易度が高く、有機性廃棄物を効率よく処理することができない場合があった。例えば、亜臨界水処理の設定温度を高くすると、亜臨界水処理の効率が向上する一方で有機物の炭化が進み、バイオガスの生成に使用できなくなる。また、例えば、亜臨界水処理の設定温度を低くすると、有機物の炭化を抑制することができる一方で亜臨界水処理の効率が低下する。この場合、有機性廃棄物が十分に低分子量化されず、亜臨界水処理後の発酵工程において発酵効率が低下してバイオガスの生成効率が低下する。また、従来技術では、亜臨界水処理装置によって有機性廃棄物を高速に低分子量化することで処理性能の向上が可能となった一方で、亜臨界水処理装置の運用に多くのエネルギーが必要となり、システム全体として高コストであった。
【0005】
本発明は、このような事情を考慮してなされたものであり、より効率良く有機性廃棄物を処理することができる有機物処理装置および有機物処理方法を提供することを目的の一つとする。
【課題を解決するための手段】
【0006】
この発明に係る有機物処理装置および有機物処理方法は、以下の構成を採用した。
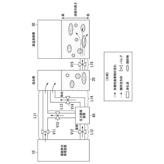
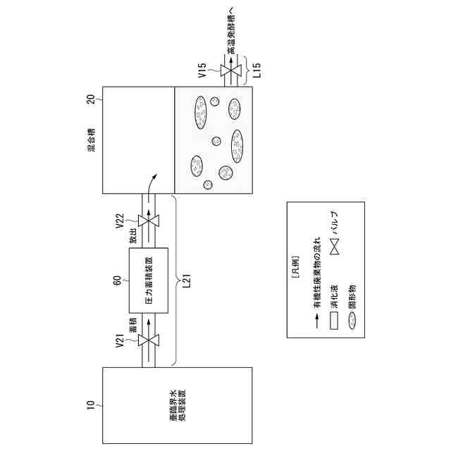
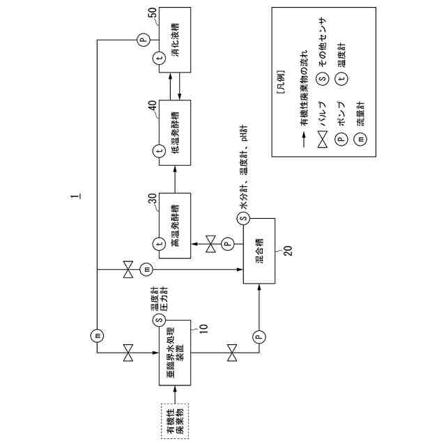
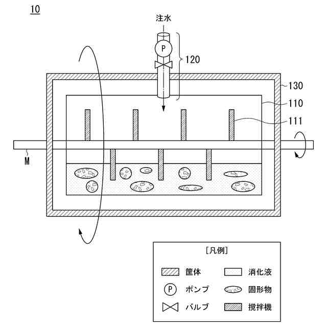
(1):この発明の一態様に係る有機物処理装置は、有機物を燃料ガスに転換する有機物処理装置であって、前記有機物と水とが混合した高温高圧の条件下で前記有機物を加水分解処理する加水分解処理装置と、前記有機物を発酵させることにより前記燃料ガスを生成する発酵槽と、前記加水分解処理装置の圧力を蓄積する圧力蓄積装置と、を備える有機物処理装置。
【0007】
(2):上記(1)の態様において、前記加水分解処理装置によって処理された前記有機物を前記圧力蓄積装置に蓄積された圧力により前記発酵槽に移送する移送手段をさらに備えるものである。
【0008】
(3):上記(2)の態様において、前記発酵槽に送られる有機物は少なくとも液状物を含み、前記移送手段は、前記発酵槽における前記液状物の液面の高さより低い位置で前記発酵槽に接続されるものである。
【0009】
(4):上記(1)の態様において、前記発酵は嫌気性発酵である。
【0010】
(5):上記(3)の態様において、前記移送手段は、前記加水分解処理装置から送られてきた前記有機物を一時貯留する貯留槽を備え、前記貯留槽は、前記有機物が流入する第1接続部と、前記第1接続部より低い位置に設けられた第2接続部とを有し、前記貯留槽に貯留されている前記有機物は、前記第2接続部から流出して前記発酵槽に移送されるものである。
(【0011】以降は省略されています)
この特許をJ-PlatPat(特許庁公式サイト)で参照する
関連特許
トヨタ自動車株式会社
空箱処理装置
4か月前
トヨタ自動車株式会社
空箱処理装置
4か月前
ダイハツ工業株式会社
発酵システム
4か月前
花王株式会社
焼却灰の処理方法
2か月前
花王株式会社
焼却灰の処理方法
2か月前
トヨタ自動車株式会社
バイオ炭製造方法
2か月前
テクニカ合同株式会社
廃棄鶏の処理方法
2か月前
個人
ビール粕からのセルロース抽出方法
10日前
個人
有機材料製造装置
1か月前
株式会社トクヤマ
石膏粒体のか焼方法
3か月前
株式会社シーパーツ
自動車解体破砕方法
2か月前
株式会社マクニカ
乾熱減容処理装置
3か月前
清水建設株式会社
汚染拡散防止構造
3か月前
清水建設株式会社
加熱井戸の設置方法
3か月前
学校法人東京農業大学
メタンガスの製造方法
4か月前
鹿島建設株式会社
土壌の浄化方法
3か月前
学校法人 中央大学
剥離回収方法
10日前
本田技研工業株式会社
加水分解処理装置
1日前
株式会社クリンテック
熱分解炉
1か月前
清水建設株式会社
遮水層構築の降雨対策方法
1か月前
株式会社LIXIL
汚物処理装置
2か月前
株式会社竹中工務店
排水処理システム
1日前
個人
太陽光電池モジュール資源回収方法
16日前
国立大学法人東北大学
重金属の不溶化方法
2か月前
極東開発工業株式会社
廃棄物処理装置
5か月前
日本シーム株式会社
容器処理装置
17日前
日本シーム株式会社
容器処理装置
17日前
トヨタ自動車株式会社
乾燥処理装置
4か月前
九電産業株式会社
樹脂複合製品の製造方法
2か月前
王子ホールディングス株式会社
ベールの製造方法
1か月前
株式会社エネアグリ
乾式メタン発酵システムおよび乾式メタン発酵方法
1か月前
株式会社エネアグリ
乾式メタン発酵システムおよび乾式メタン発酵方法
1か月前
王子ホールディングス株式会社
ベールの製造方法
1日前
株式会社トクヤマ
廃石膏ボードから紙片と石膏粒体を回収する方法
3か月前
本田技研工業株式会社
有機物処理装置および有機物処理方法
1日前
本田技研工業株式会社
有機物処理装置および有機物処理方法
1日前
続きを見る
他の特許を見る