TOP
|
特許
|
意匠
|
商標
特許ウォッチ
Twitter
他の特許を見る
10個以上の画像は省略されています。
公開番号
2025170653
公報種別
公開特許公報(A)
公開日
2025-11-19
出願番号
2024075415
出願日
2024-05-07
発明の名称
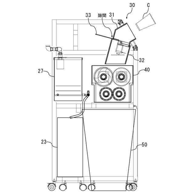
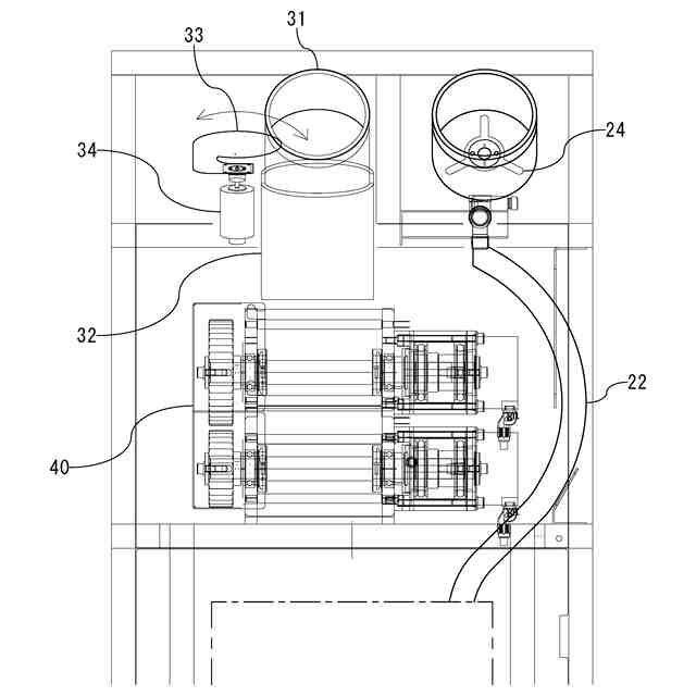
容器処理装置
出願人
日本シーム株式会社
代理人
弁理士法人 武政国際特許商標事務所
主分類
B09B
3/32 20220101AFI20251112BHJP(固体廃棄物の処理;汚染土壌の再生)
要約
【課題】
紙コップが汚れた状態ではリサイクル時の洗浄コストが高くなる。また、紙コップを破砕してしまうと、輸送や再生処理の際に紙屑が舞ったり溢れたりして処理がしづらいという問題点があった。
【解決手段】
紙コップなどの容器Cを洗浄部20で洗浄し、投下口30から容器処理装置1内に投下して、減容部40で切れ込みを入れつつ圧縮減容し、収容箱50に収容する容器処理装置。
【選択図】図6
特許請求の範囲
【請求項1】
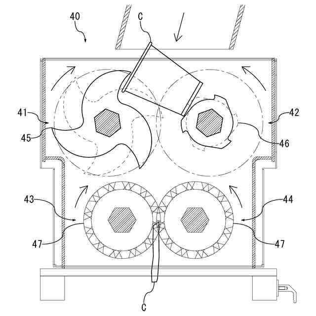
側面視で隣接する左ギアの一部と右ギアの一部が重なり合う重合部に、上
方から投下された容器を押し潰す容器処理装置において、
シャフト上に複数の歯を有する第一誘導ギアを複数備えた第一誘導ロールと、
シャフト上に複数の歯を有する第二誘導ギアを複数備えた第二誘導ロールを、備え、
前記第一誘導ロールと前記第二誘導ロールが対向配置され、
前記第一誘導ロールは右回りに回転するとともに、前記第二誘導ロールは左回りに回転する、
容器処理装置。
続きを表示(約 440 文字)
【請求項2】
前記第一誘導ギアと前記第二誘導ギアは、互いに歯の大きさが異なる、
請求項1に記載の容器処理装置。
【請求項3】
隙間を設けながら複数の前記ギアがシャフトに固定された左圧縮ロールと、
隙間を設けながら複数の前記ギアがシャフトに固定された右圧縮ロールを、さらに備え、
前記左圧縮ロールと前記右圧縮ロールが対向配置され、
前記左圧縮ロールは右回りに回転するとともに、前記右圧縮ロールは左回りに回転し、
前記左圧縮ロールの前記隙間に前記右ロールの一部が挿入され、前記右圧縮ロールの前記隙間に前記左ロールの一部が挿入された、
請求項2に記載の容器処理装置。
【請求項4】
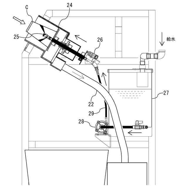
容器の内側に洗浄水を噴射する回転噴射口を備えた洗浄部と、
容器を投下する投下口と、
押し込まれると洗浄水を噴射する押込スイッチと、をさらに備えた、
請求項1ないし3に記載の容器処理装置。
発明の詳細な説明
【技術分野】
【0001】
本発明は、使い捨て容器を廃棄する際に用いる処理装置に関する。より詳しくは、紙製またはプラスチック製のコップなどを、店舗内で洗浄して圧縮減容する、容器処理装置に関する。
続きを表示(約 2,400 文字)
【背景技術】
【0002】
飲食店などでは、飲み物などを紙製またはプラスチック製の使い捨てコップに入れて提供されることがある。これらは使用後に店舗内に設置された回収箱にて回収される。回収箱内の回収袋が満杯になると、店員がこれを回収して新しい回収袋を設置する。回収した使い捨てコップは、廃棄もしくはリサイクルされる。
【0003】
特許文献1には、V型に配置された一対のコップ押し潰しベルト機構を備えたコップ押し潰し回収装置であって、上記一対のコップ押し潰しベルト機構は、一定位置においてモータで回転駆動される一対の上部ローラと、回転可能な一対の下部ローラと、上記一対の上部ローラと下部ローラ間に張設された一対のベルトとから構成され、上記一対の下部ローラは、夫々一定の点を中心に垂直面内で回転可能な回転支持部材に取り付けられており、上記一対の回転支持部材は、常時は一対の下部ローラを上記一対のベルトを介して互いに押圧する方向に一対のばねにより付勢されており、押し潰されるコップが上記一対の下部ローラの間を上記一対のベルトを介して通過する際には、上記一対の下部ローラが互いに離れる方向かつ上方に、上記一対のばねに抗して回動することを特徴とするコップ押し潰し回収装置が記載されている。
【0004】
特許文献2には、ドリンクショップ、ファストフードショップ等の店舗内に設置する、使用したコップ、カップ又は皿などの使い捨て容器を回収する使用済み使い捨て容器の処理装置であって、飲み残しと氷を回収する飲み残し回収口と、該飲み残し回収口に隣接して使用した容器を投入する容器投入口が上部に設けられ、かつその高さが、該飲み残し回収口と容器投入口に、容器を捨てようとする人の手が届く高さである90~110cmに形成された処理装置本体と、前記飲み残し回収口の下部に設けられた、飲み残しを一時貯留する飲み残し用タンクと、前記容器投入口の下部に設けられた、容器を所定の大きさの細片に破砕する刻み目が形成された回転刃が軸方向に並べられた第1回転刃軸と、同様な形状の刻み目を有する第2回転刃軸とから成り、第1回転刃軸と第2回転刃軸の各回転刃が噛み合うように並べられ、かつ向かい合う方向にそれぞれ回転させる構成の破砕装置と、前記破砕装置において破砕された容器の細片を水洗浄し、その細片に付着した水分を圧縮空気で除去する、筒体内で洗浄水と洗剤で洗浄回転するスクリューコンベアがその軸方向に設けられ、該筒体の下部に洗浄後の洗浄水を排水する排水口と細片を排出する細片排出口と、該筒体の上部に細片を投入する細片投入口が取り付けられ、該筒体における排水口と細片投入口の間に、コンプレッサーの圧縮空気を噴射する噴射口を有する、洗浄・脱水・圧縮装置と、前記洗浄・脱水・圧縮装置において洗浄と脱水が済んだ容器の細片を、収納する細片回収ボックスと、を備え、前記飲み残しタンク、破砕装置、洗浄・脱水・圧縮装置、コンプレッサー及び細片回収ボックスの全てが前記処理装置本体内に収納され、かつ該処理装置本体内において容器を破砕、洗浄と圧縮をして、その嵩を減量させる、ことを特徴とする使用済み使い捨て容器の処理装置が記載されている。
【0005】
特許文献3には、容器を投下する投下口と、前記投下口から投下された前記容器が、開口部が下方とされた状態で載置される洗浄台と、前記洗浄台に載置された前記容器の内側に、洗浄水を噴射する噴射口と、噴射した洗浄水を吸引する吸引装置と、壁面および水平面が一体となった第一移送手段と、前記容器を挟み込んで圧縮減容する減容装置と、を備え、前記第一移送手段は、前記容器が前記洗浄台に載置されると移動を開始し、前記第一移送手段が移動すると、前記壁面が前記容器を押すことによって前記容器を洗浄場所まで移送し、該第一移送手段の移動後には前記水平面にて前記投下口を塞ぐ、容器処理装置が記載されている。
【先行技術文献】
【特許文献】
【0006】
特開2001-105190号公報
特許7051158号公報
特許7229613号公報
【発明の概要】
【発明が解決しようとする課題】
【0007】
特許文献1の回収装置は、洗浄しないため汚れが残り、リサイクル時の負荷が大きかった。また、押し潰すだけのため、回収袋内で容器が開いてしまうことがあり嵩張ってしまうことがあった。
特許文献2の処理装置は、紙コップを破砕するため、細かくなり過ぎてしまい、その砕片が輸送や処理の際に飛んだり溢れたりしてリサイクルしづらいという問題点があった。
特許文献3の容器処理装置は、容器を挟み込んで圧縮減容するため、圧縮後の容器が開いてしまい嵩張ってしまうことがあった。
【0008】
本発明は、かかる問題点を解決するために創案されたものである。すなわち、紙コップ等を店舗内で洗浄し、破砕することなく圧縮後に広がってしまわないように減容する装置を提供する。
【課題を解決するための手段】
【0009】
本発明は、側面視で隣接する左ギアの一部と右ギアの一部が重なり合う重合部に、上方から投下された容器を押し潰す容器処理装置において、シャフト上に複数の歯を有する第一誘導ギア(45)を複数備えた第一誘導ロール(41)と、シャフト上に複数の歯を有する第二誘導ギア(46)を複数備えた第二誘導ロール(42)を、備え、第一誘導ロールと第二誘導ロールが対向配置され、第一誘導ロールは右回りに回転するとともに、第二誘導ロールは左回りに回転する、容器処理装置である。
【0010】
第一誘導ギアと第二誘導ギアは、互いに歯の大きさが異なる、ものとすることが望ましい。
(【0011】以降は省略されています)
この特許をJ-PlatPat(特許庁公式サイト)で参照する
関連特許
トヨタ自動車株式会社
空箱処理装置
3か月前
トヨタ自動車株式会社
空箱処理装置
3か月前
ダイハツ工業株式会社
発酵システム
3か月前
花王株式会社
焼却灰の処理方法
2か月前
花王株式会社
焼却灰の処理方法
2か月前
トヨタ自動車株式会社
バイオ炭製造方法
2か月前
テクニカ合同株式会社
廃棄鶏の処理方法
2か月前
個人
有機材料製造装置
16日前
株式会社トクヤマ
石膏粒体のか焼方法
2か月前
株式会社シーパーツ
自動車解体破砕方法
1か月前
清水建設株式会社
汚染拡散防止構造
2か月前
株式会社マクニカ
乾熱減容処理装置
3か月前
清水建設株式会社
加熱井戸の設置方法
2か月前
学校法人東京農業大学
メタンガスの製造方法
3か月前
鹿島建設株式会社
土壌の浄化方法
3か月前
清水建設株式会社
遮水層構築の降雨対策方法
23日前
株式会社クリンテック
熱分解炉
23日前
株式会社LIXIL
汚物処理装置
1か月前
個人
太陽光電池モジュール資源回収方法
2日前
日本シーム株式会社
容器処理装置
3日前
日本シーム株式会社
容器処理装置
3日前
国立大学法人東北大学
重金属の不溶化方法
1か月前
九電産業株式会社
樹脂複合製品の製造方法
2か月前
トヨタ自動車株式会社
乾燥処理装置
3か月前
株式会社エネアグリ
乾式メタン発酵システムおよび乾式メタン発酵方法
1か月前
株式会社エネアグリ
乾式メタン発酵システムおよび乾式メタン発酵方法
1か月前
王子ホールディングス株式会社
ベールの製造方法
1か月前
株式会社神鋼環境ソリューション
メタン発酵装置、及び、メタン発酵方法
1か月前
株式会社トクヤマ
廃石膏ボードから紙片と石膏粒体を回収する方法
2か月前
光宇應用材料股ふん有限公司
環境にやさしい低炭素二酸化ケイ素の製造方法
2か月前
個人
フォーミング生成抑制材の製造方法及び廃タイヤのリサイクル処理方法
3か月前
JFEエンジニアリング株式会社
焼却灰貯留装置
24日前
トリニティ工業株式会社
使用済みフィルタ処理装置、使用済みフィルタ処理方法
2か月前
太平洋セメント株式会社
重金属類不溶化材及び固化不溶化処理方法
3か月前
JFEエンジニアリング株式会社
焼却灰処理システム
1か月前
東洋建設株式会社
遮水構造体の施工方法及び圧着機
3か月前
続きを見る
他の特許を見る