TOP
|
特許
|
意匠
|
商標
特許ウォッチ
Twitter
他の特許を見る
10個以上の画像は省略されています。
公開番号
2025177079
公報種別
公開特許公報(A)
公開日
2025-12-05
出願番号
2024083596
出願日
2024-05-22
発明の名称
有機物処理装置および有機物処理方法
出願人
本田技研工業株式会社
代理人
個人
,
個人
,
個人
主分類
B09B
3/45 20220101AFI20251128BHJP(固体廃棄物の処理;汚染土壌の再生)
要約
【課題】より効率良く有機性廃棄物を処理することができる有機物処理装置および有機物処理方法を提供すること。
【解決手段】有機物を燃料ガスに転換する有機物処理装置であって、前記有機物と水とが混合した高温高圧の条件下で前記有機物を加水分解処理する加水分解処理装置と、前記有機物を発酵させることにより前記燃料ガスを生成する発酵槽と、前記発酵槽において前記有機物が発酵することにより生じた消化液を、前記加水分解処理装置に移送するための移送手段と、を備え、前記加水分解処理装置は、前記加水分解処理装置を加熱する加熱装置を備える、有機物処理装置。
【選択図】図1
特許請求の範囲
【請求項1】
有機物を燃料ガスに転換する有機物処理装置であって、
前記有機物と水とが混合した高温高圧の条件下で前記有機物を加水分解処理する加水分解処理装置と、
前記有機物を発酵させることにより前記燃料ガスを生成する発酵槽と、
前記発酵槽において前記有機物が発酵することにより生じた消化液を、前記加水分解処理装置に移送するための移送手段と、
を備え、
前記加水分解処理装置は、前記加水分解処理装置を加熱する加熱装置を備える、
有機物処理装置。
続きを表示(約 590 文字)
【請求項2】
前記燃料ガスはメタンを含む、
請求項1に記載の有機物処理装置。
【請求項3】
前記発酵槽において、水素を反応物としてメタンを生成する反応を生じさせる、
請求項2に記載の有機物処理装置。
【請求項4】
前記発酵槽において、有機酸を反応物としてメタンを生成する反応を生じさせる、
請求項2に記載の有機物処理装置。
【請求項5】
前記発酵は嫌気性発酵である、
請求項1に記載の有機物処理装置。
【請求項6】
窒素、リン、カリウムのうち少なくともひとつの含有量を監視する監視部をさらに備える、
請求項1に記載の有機物処理装置。
【請求項7】
有機物を燃料ガスに転換する有機物処理装置が、
加水分解処理装置により、前記有機物と水とが混合した高温高圧の条件下で前記有機物を加水分解処理し、
発酵槽において、前記有機物を発酵させることにより前記燃料ガスを生成させ、
移動手段により、前記発酵槽において前記有機物が発酵することにより生じた消化液を、前記加水分解処理装置に移送する、
有機物処理方法であって、
前記加水分解処理装置は、前記加水分解処理装置を加熱する加熱装置を備える、
有機物処理方法。
発明の詳細な説明
【技術分野】
【0001】
本発明は、有機物処理装置および有機物処理方法に関する。
続きを表示(約 1,200 文字)
【背景技術】
【0002】
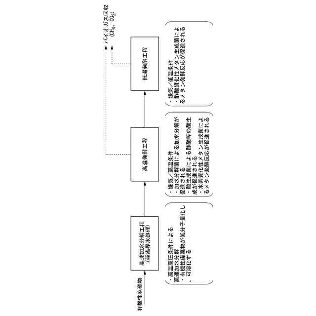
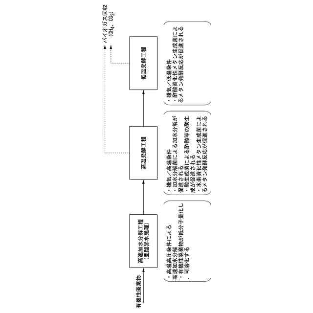
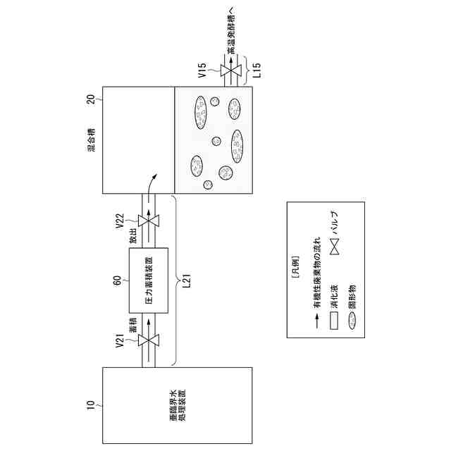
従来、亜臨界水処理装置を用いて有機性廃棄物を低分子量化し、低分子量化した有機性廃棄物からバイオガスを生成する有機性廃棄物処理システムがある(例えば特許文献1参照)。
【先行技術文献】
【特許文献】
【0003】
特開2021-070005号公報
【発明の概要】
【発明が解決しようとする課題】
【0004】
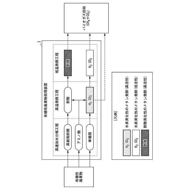
しかしながら、従来技術では、亜臨界水処理の温度設定の難易度が高く、有機性廃棄物を効率よく処理することができない場合があった。例えば、亜臨界水処理の設定温度を高くすると、亜臨界水処理の効率が向上する一方で有機物の炭化が進み、バイオガスの生成に使用できなくなる。また、例えば、亜臨界水処理の設定温度を低くすると、有機物の炭化を抑制することができる一方で亜臨界水処理の効率が低下する。この場合、有機性廃棄物が十分に低分子量化されず、亜臨界水処理後の発酵工程において発酵効率が低下してバイオガスの生成効率が低下する。また、従来技術では、亜臨界水処理装置はボイラーの蒸気によって高温高圧環境を実現するボイラー式が一般的であったが、ボイラー水に対する水質の要求レベルが高いことからシステム内の水資源を必ずしも有効活用できず、システムのコストを増加させる一因となっていた。
【0005】
本発明は、このような事情を考慮してなされたものであり、より効率良く有機性廃棄物を処理することができる有機物処理装置および有機物処理方法を提供することを目的の一つとする。
【課題を解決するための手段】
【0006】
この発明に係る有機物処理装置および有機物処理方法は、以下の構成を採用した。
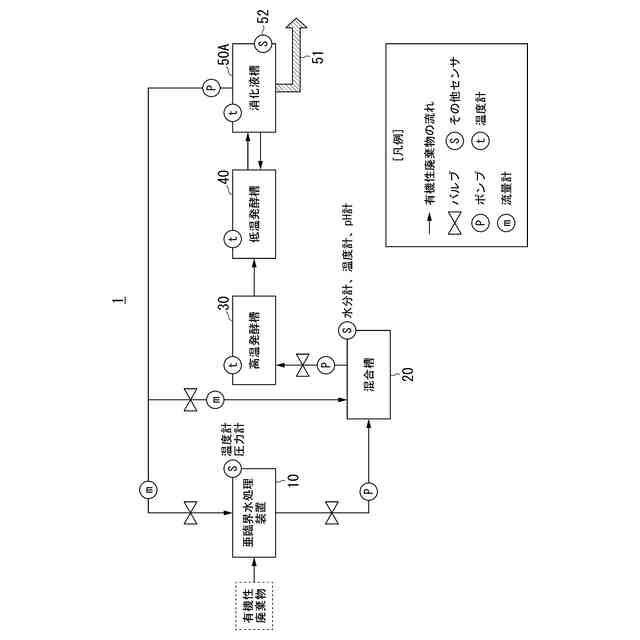
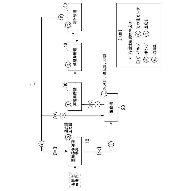
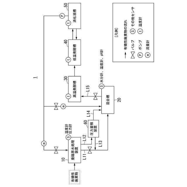
(1):この発明の一態様に係る有機物処理装置は、有機物を燃料ガスに転換する有機物処理装置であって、前記有機物と水とが混合した高温高圧の条件下で前記有機物を加水分解処理する加水分解処理装置と、前記有機物を発酵させることにより前記燃料ガスを生成する発酵槽と、
前記発酵槽において前記有機物が発酵することにより生じた消化液を、前記加水分解処理装置に移送するための移送手段と、を備え、前記加水分解処理装置は、前記加水分解処理装置を加熱する加熱装置を備える、有機物処理装置である。
【0007】
(2):上記(1)の態様において、前記燃料ガスはメタンを含むものである。
【0008】
(3):上記(2)の態様において、前記発酵槽において、水素を反応物としてメタンを生成する反応を生じさせるものである。
【0009】
(4):上記(2)の態様において、前記発酵槽において、有機酸を反応物としてメタンを生成する反応を生じさせるものである。
【0010】
(5):上記(1)の態様において、前記発酵は嫌気性発酵である。
(【0011】以降は省略されています)
この特許をJ-PlatPat(特許庁公式サイト)で参照する
関連特許
本田技研工業株式会社
車両
1か月前
本田技研工業株式会社
車両
1か月前
本田技研工業株式会社
車両
1か月前
本田技研工業株式会社
飛行体
2日前
本田技研工業株式会社
固体電池
1か月前
本田技研工業株式会社
排気装置
1か月前
本田技研工業株式会社
除草装置
1か月前
本田技研工業株式会社
排気装置
1か月前
本田技研工業株式会社
排気装置
1か月前
本田技研工業株式会社
二次電池
1か月前
本田技研工業株式会社
発電セル
1か月前
本田技研工業株式会社
触媒装置
1か月前
本田技研工業株式会社
回転電機
4日前
本田技研工業株式会社
リアクトル
1か月前
本田技研工業株式会社
電動船外機
1か月前
本田技研工業株式会社
電極積層体
1か月前
本田技研工業株式会社
全固体電池
1か月前
本田技研工業株式会社
鞍乗型車両
1か月前
本田技研工業株式会社
全固体電池
1か月前
本田技研工業株式会社
鞍乗型車両
1か月前
本田技研工業株式会社
灯火器構造
2日前
本田技研工業株式会社
蓄電システム
11日前
本田技研工業株式会社
燃料電池構造
1か月前
本田技研工業株式会社
始動制御装置
1か月前
本田技研工業株式会社
鞍乗り型車両
1か月前
本田技研工業株式会社
冷却液タンク
9日前
本田技研工業株式会社
燃料電池装置
1か月前
本田技研工業株式会社
始動制御装置
1か月前
本田技研工業株式会社
電池製造装置
1か月前
本田技研工業株式会社
電池モジュール
1か月前
本田技研工業株式会社
電池モジュール
1か月前
本田技研工業株式会社
差圧式電解装置
1か月前
本田技研工業株式会社
回転電機のロータ
1か月前
本田技研工業株式会社
バッテリシステム
1か月前
本田技研工業株式会社
電動無段変速装置
1か月前
本田技研工業株式会社
駆動装置ユニット
1か月前
続きを見る
他の特許を見る