TOP
|
特許
|
意匠
|
商標
特許ウォッチ
Twitter
他の特許を見る
10個以上の画像は省略されています。
公開番号
2025155008
公報種別
公開特許公報(A)
公開日
2025-10-14
出願番号
2024058319
出願日
2024-03-30
発明の名称
全固体電池
出願人
本田技研工業株式会社
代理人
個人
,
個人
主分類
H01M
10/0585 20100101AFI20251003BHJP(基本的電気素子)
要約
【課題】負極集電体と負極タブとを接続する負極集電体の延長部と正極集電体とが短絡しにくい全固体電池を提供すること。
【解決手段】正極、負極及び前記正極と前記負極との間に積層された固体電解質層を備え、前記正極は、正極集電体と、前記正極集電体の表面に形成された正極活物質層とを含み、前記正極集電体は、正極タブに接続する正極集電体延長部を有し、前記負極は、負極集電体を含み、前記負極集電体は負極タブに接続する負極集電体延長部を有し、前記固体電解質層の少なくとも前記負極集電体延長部側の端部は、前記正極活物質層の外周を超える位置まで拡張された拡張部を有し、前記拡張部は絶縁性基材を含み、前記正極活物質層の外周に絶縁枠体を備え、前記拡張部は、前記絶縁枠体の外周を超える位置まで拡張されていて、前記拡張部の少なくとも一部は前記絶縁枠体で支持されている、全固体電池。
【選択図】図4A
特許請求の範囲
【請求項1】
正極、負極及び前記正極と前記負極との間に積層された固体電解質層を備え、
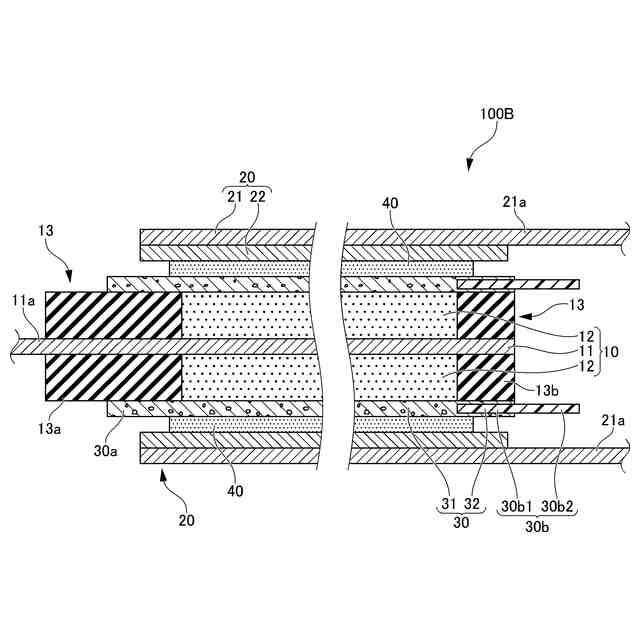
前記正極は、正極集電体と、前記正極集電体の表面に形成された正極活物質層とを含み、前記正極集電体は、正極タブに接続する正極集電体延長部を有し、
前記負極は、負極集電体を含み、前記負極集電体は負極タブに接続する負極集電体延長部を有し、
前記固体電解質層の少なくとも前記負極集電体延長部側の端部は、前記正極活物質層の外周を超える位置まで拡張された拡張部を有し、
前記拡張部は絶縁性基材を含み、
前記正極活物質層の外周に絶縁枠体を備え、
前記拡張部は、前記絶縁枠体の外周を超える位置まで拡張されていて、
前記拡張部の少なくとも一部は前記絶縁枠体で支持されている、全固体電池。
続きを表示(約 610 文字)
【請求項2】
前記拡張部の前記絶縁枠体の外周を超える部分の長さが、前記正極活物質層の厚さと前記正極集電体の厚さの合計厚さよりも長い、請求項1に記載の全固体電池。
【請求項3】
前記拡張部の少なくとも前記絶縁枠体の外周を超える部分は、前記絶縁性基材の単体で形成されている、請求項1又は2に記載の全固体電池。
【請求項4】
前記拡張部は、前記絶縁性基材が前記固体電解質層に支持されている混在部と、前記絶縁性基材の単体部とを有する、請求項1又は2に記載の全固体電池。
【請求項5】
前記絶縁性基材は不織布である、請求項1又は2に記載の全固体電池。
【請求項6】
正極、負極及び前記正極と前記負極との間に積層された固体電解質層を備え、
前記正極は、正極集電体と、前記正極集電体の表面に形成された正極活物質層とを含み、前記正極集電体は、正極タブに接続する正極集電体延長部を有し、
前記負極は、負極集電体を含み、前記負極集電体は負極タブに接続する負極集電体延長部を有し、
前記固体電解質層の少なくとも前記負極集電体延長部側の端部は、前記正極活物質層の外周を超える位置まで拡張された拡張部を有し、
前記拡張部は、絶縁性基材を含み、前記絶縁性基材が前記固体電解質層に支持されている混在部と、前記絶縁性基材の単体部とを有する、全固体電池。
発明の詳細な説明
【技術分野】
【0001】
本発明は、全固体電池に関する。
続きを表示(約 2,100 文字)
【背景技術】
【0002】
近年、より多くの人々が手ごろで信頼でき、持続可能かつ先進的なエネルギーへのアクセスを確保できるようにするため、エネルギーの効率化に貢献する二次電池に関する研究開発が行われている。二次電池の中でも正極集電体、正極層、固体電解質層、負極層及び負極集電体を、この順で積層した積層構造の全固体電池は、固体電解質が不燃性であるために安全性が向上する点や、より高いエネルギー密度を有する点において優れており、特に注目を集めている。この積層構造の全固体電池では、正極集電体と正極タブとを正極集電体の延長部で接続し、負極集電体と負極タブとを負極集電体の延長部で接続する構成が知られている。このような構成の全固体電池では、電池内部の正極と負極の短絡を防止するために、正極の正極活物質層の外周に絶縁枠体を配置することが検討されている(特許文献1)。また、正極及び負極の間に、固体電解質が担持された電解質領域と固体電解質が担持されていない非担持領域とを有する多孔体を配置することが検討されている(特許文献2)。
【先行技術文献】
【特許文献】
【0003】
特開2023-47083号公報
国際公開第2024/013532号
【発明の概要】
【発明が解決しようとする課題】
【0004】
ところで、二次電池では、高容量化と正極と負極の短絡の抑制が課題である。高容量の全固体電池として、電荷移動媒体としてリチウムイオンを用い、充電時は正極層中のリチウムを負極層に析出させ、放電時は負極層のリチウムを正極層に吸蔵させる全固体リチウム電池が検討されている。全固体リチウム電池は、充放電により負極層の厚みが変化する。このため、全固体リチウム電池では、正極集電体延長部及び負極集電体延長部は、負極層の厚みの変化に応じて変形できるものであることが好ましい。しかしながら、負極層の厚みの変化に応じて負極集電体延長部が変形することによって、負極集電体延長部と正極集電体とが短絡することがある。また、製造ばらつきにより、製造直後の段階で負極集電体延長部と正極集電体とが近い位置に配置されると、外部の振動によって負極集電体延長部と正極集電体とが短絡することがある。
【0005】
本発明は、上記の事情に鑑みてなされたものであり、負極集電体と負極タブとを接続する負極集電体の延長部と正極集電体とが短絡しにくい全固体電池を提供することを目的とする。
【課題を解決するための手段】
【0006】
本発明者は、固体電解質層の負極集電体延長部側の端部に、正極活物質層の外周を超える位置まで拡張した拡張部を設け、その拡張部に絶縁性基材を含ませることによって上記の課題を解決することが可能となることを見出し、本発明を完成するに至った。したがって、本発明は、次のものを提供する。
【0007】
(1)正極、負極及び前記正極と前記負極との間に積層された固体電解質層を備え、前記正極は、正極集電体と、前記正極集電体の表面に形成された正極活物質層とを含み、前記正極集電体は、正極タブに接続する正極集電体延長部を有し、前記負極は、負極集電体を含み、前記負極集電体は負極タブに接続する負極集電体延長部を有し、前記固体電解質層の少なくとも前記負極集電体延長部側の端部は、前記正極活物質層の外周を超える位置まで拡張された拡張部を有し、前記拡張部は絶縁性基材を含み、前記正極活物質層の外周に絶縁枠体を備え、前記拡張部は、前記絶縁枠体の外周を超える位置まで拡張されていて、前記拡張部の少なくとも一部は前記絶縁枠体で支持されている、全固体電池。
【0008】
(1)の全固体電池によれば、固体電解質層の負極集電体延長部側の端部に、正極活物質層の外周を超える位置まで拡張した拡張部を有し、その拡張部は絶縁性基材を含むので、形状安定性が高い。このため、充放電により負極の厚みが変化しても、負極集電体延長部と正極集電体とが短絡しにくくなる。また、固体電解質層の正極の正極活物質層と負極の対向部には絶縁性基材を介在させる必要が特にはない。絶縁性基材を介在させないことにより、絶縁性基材を介在させた場合と比較して電荷移動媒体(リチウムイオン)が伝導しやすくなる。また、正極活物質層の外周に絶縁枠体が配置されているので、正極集電体延長部が負極集電体側に変形しても、正極集電体延長部と負極集電体とが短絡しにくくなる。さらに、拡張部の少なくとも一部は前記絶縁枠体で支持されているので、拡張部の形状安定性がより高くなる。
【0009】
(2)前記拡張部の前記絶縁枠体の外周を超える部分の長さが、前記正極活物質層の厚さと前記正極集電体の厚さの合計厚さより長い、(1)に記載の全固体電池。
【0010】
(2)の全固体電池によれば、拡張部の前記絶縁枠体の外周を超える部分の長さが上記の長さであるので、負極集電体延長部と正極集電体とがより短絡しにくくなる。
(【0011】以降は省略されています)
この特許をJ-PlatPat(特許庁公式サイト)で参照する
関連特許
本田技研工業株式会社
差圧式電解装置
17日前
本田技研工業株式会社
スポット溶接方法
3日前
本田技研工業株式会社
回転電機のロータ
16日前
本田技研工業株式会社
電動無段変速装置
19日前
本田技研工業株式会社
情報処理方法及びプログラム
2日前
本田技研工業株式会社
制御装置、および、制御方法
3日前
本田技研工業株式会社
情報処理装置、情報処理方法、およびプログラム
2日前
本田技研工業株式会社
作動装置
2日前
本田技研工業株式会社
制御装置
4日前
本田技研工業株式会社
車両、制御方法、プログラム、記憶媒体、及び情報処理装置
2日前
本田技研工業株式会社
移動体支援装置および移動体システム
17日前
APB株式会社
蓄電セル
16日前
東ソー株式会社
絶縁電線
18日前
個人
フレキシブル電気化学素子
1か月前
日新イオン機器株式会社
イオン源
26日前
ローム株式会社
半導体装置
17日前
マクセル株式会社
電源装置
10日前
株式会社東芝
端子台
10日前
ローム株式会社
半導体装置
1か月前
株式会社ユーシン
操作装置
1か月前
太陽誘電株式会社
コイル部品
1か月前
株式会社ホロン
冷陰極電子源
24日前
株式会社GSユアサ
蓄電設備
1か月前
株式会社GSユアサ
蓄電設備
1か月前
株式会社GSユアサ
蓄電装置
11日前
株式会社GSユアサ
蓄電装置
11日前
株式会社GSユアサ
蓄電装置
3日前
オムロン株式会社
電磁継電器
1か月前
北道電設株式会社
配電具カバー
16日前
トヨタ自動車株式会社
バッテリ
16日前
トヨタ自動車株式会社
蓄電装置
11日前
サクサ株式会社
電池の固定構造
1か月前
日新イオン機器株式会社
基板処理装置
13日前
トヨタ自動車株式会社
バッテリ
1か月前
日本特殊陶業株式会社
保持装置
19日前
トヨタ自動車株式会社
蓄電装置
1か月前
続きを見る
他の特許を見る