TOP
|
特許
|
意匠
|
商標
特許ウォッチ
Twitter
他の特許を見る
公開番号
2025156029
公報種別
公開特許公報(A)
公開日
2025-10-14
出願番号
2025042035
出願日
2025-03-17
発明の名称
電動船外機
出願人
本田技研工業株式会社
代理人
個人
,
個人
,
個人
主分類
B63H
20/32 20060101AFI20251002BHJP(船舶またはその他の水上浮揚構造物;関連艤装品)
要約
【課題】外気入出用の開口部の構造を複雑にすることなく、電装部品周りへの外水の流入を抑制した状態で電装部品を確実に空冷によって冷却することができる電動船外機を提供する。
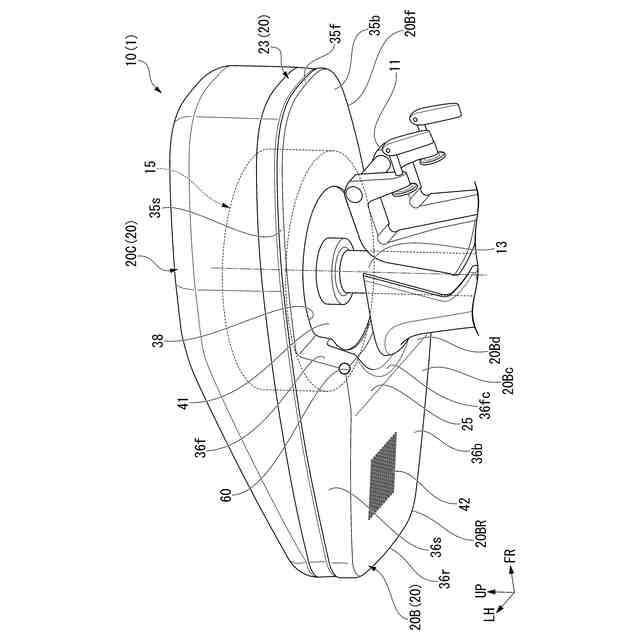
【解決手段】電動船外機1は、推進部15と、電装部品16と、冷却用の送風ファン30と、電装収容室24と、ファン収容室26と、区画壁22と、を備える。推進部15は推進力を発生する。電装部品16は、推進部の制御部を含む。電装収容室24は、内部に電装部品16を収容する。ファン収容室26は、外気が入出する開口部41,42を有し、内部に送風ファン30を収容する。区画壁22は、電装収容室24とファン収容室26の間を仕切り、電装収容室側24の一面に電装部品16が設置される。送風ファン30は、送風が区画壁22に向くように、ファン収容室26に配置される。
【選択図】図4
特許請求の範囲
【請求項1】
推進力を発生する推進部と、
前記推進部の制御部を含む電装部品と、
冷却用の送風ファンと、
内部に前記電装部品を収容する電装収容室と、
外気が入出する開口部を有し、内部に前記送風ファンを収容するファン収容室と、
前記電装収容室と前記ファン収容室の間を仕切り、前記電装収容室の側の一面に前記電装部品が設置される区画壁と、を備え、
前記送風ファンは、送風が前記区画壁に向くように、前記ファン収容室に配置されていることを特徴とする電動船外機。
続きを表示(約 1,000 文字)
【請求項2】
前記区画壁には、前記ファン収容室の側に臨んで突出する冷却用のフィン部が設けられていることを特徴とする請求項1に記載の電動船外機。
【請求項3】
前記電装部品は、少なくとも一部が前記区画壁を挟んで前記フィン部と対向する位置に配置されていることを特徴とする請求項2に記載の電動船外機。
【請求項4】
前記送風ファンは、送風方向が前記フィン部に向くように設置されていることを特徴とする請求項3に記載の電動船外機。
【請求項5】
前記電装部品は、冷却フィンを有する伝熱ブロックを介して前記区画壁に設置され、
前記伝熱ブロックは、前記冷却フィンが前記区画壁から前記ファン収容室内に突出するように前記区画壁に設置されていることを特徴とする請求項1に記載の電動船外機。
【請求項6】
前記送風ファンは、送風方向が前記冷却フィンに向くように設置されていることを特徴とする請求項5に記載の電動船外機。
【請求項7】
前記推進部は、電動モータを備え、
前記電動モータは、前記電装収容室に配置されるとともに、前記区画壁に設置されていることを特徴とする請求項1に記載の電動船外機。
【請求項8】
電動船外機を船体に取り付けるための取付部を備え、
前記開口部は、前記ファン収容室に相互に離間して配置される第1開口部、及び、第2開口部を含み、
前記第1開口部と前記第2開口部の一方は、前記電装部品、及び、前記電動モータの少なくとも一部よりも前記取付部に近接する側の領域に配置され、前記第1開口部と前記第2開口部の他方は、前記電装部品、及び、前記電動モータの少なくとも一部よりも前記取付部から離間する側の領域に配置されていることを特徴とする請求項7に記載の電動船外機。
【請求項9】
前記開口部は、前記ファン収容室に相互に離間して配置される第1開口部、及び、第2開口部を含み、
前記第1開口部と前記第2開口部のいずれか一方は、前記電動モータの出力側の軸が挿通される軸挿通部を兼ねていることを特徴とする請求項7に記載の電動船外機。
【請求項10】
前記送風ファンは、送風軸が鉛直方向に対して前記電動モータの側に向くように傾いて配置されていることを特徴とする請求項7に記載の電動船外機。
(【請求項11】以降は省略されています)
発明の詳細な説明
【技術分野】
【0001】
本発明は、電動船外機に関するものである。
続きを表示(約 1,700 文字)
【背景技術】
【0002】
近年、船外機の駆動源として、ガソリンエンジン等の内燃機関に代えて電動モータを用いたものが開発されている。
この種の電動船外機として、推進部の上方側で水上に位置される船外機ケースのケース本体部に駆動源である電動モータを配置し、電動モータの駆動力を、ドライブシャフトを介して推進部に伝達するものが知られている(例えば、特許文献1参照)。
【0003】
特許文献1に記載の電動船外機は、船外機ケースのケース本体部の内部に、駆動用の電動モータと、電動モータの制御部を含む電装部品等が収容されている。この文献に記載の電動船外機の一形態では、駆動時に高温になり易い電装部品等が空冷の冷却機構によって冷却される。
【0004】
冷却機構は、ケース本体部の壁に設けられた外気取入れ口、及び、外気排出口と、ケース本体部内において電装部品等に空気を流すための送風ファンと、を備えている。外気取入れ口と外気排出口は、ケース本体部の壁の水中に没しない部分に配置されている。この冷却機構では、外気取入れ口から取り入れられた外気がケース本体部内に流入し、その外気が送風ファンによって電装部品等に送風される。そして、電装部品等との間で熱交換された外気は、外気排出口を通して外部に排出される。
【先行技術文献】
【特許文献】
【0005】
特開2005-153727号公報
【発明の概要】
【発明が解決しようとする課題】
【0006】
特許文献1に記載の電動船外機では、外気取入れ口と外気排出口によって電装収容室内(ケース本体部内)への外気の流入と排出を行っている。しかし、外気取入れ口と外気排出口は、電装収容室(ケース本体部)の内部を船外機の外側に連通させる必要があるため、電装収容室内への海水や雨水等の外水の浸入を完全に防ぐことは難しい。この対策として、外気取入れ口や外気排出口にラビリンス構造を採用することも考えられるが、その場合には、外気入出用の開口部(外気取入れ口、及び、外気排出口)の構造が複雑になり、低コストでの製造が難しくなる。
【0007】
そこで本発明は、外気入出用の開口部の構造を複雑にすることなく、電装部品周りへの外水の流入を抑制した状態で電装部品を確実に空冷によって冷却することができる電動船外機を提供しようとするものである。
【課題を解決するための手段】
【0008】
本発明の一態様に係る船外機は、推進力を発生する推進部と、前記推進部の制御部を含む電装部品と、冷却用の送風ファンと、内部に前記電装部品を収容する電装収容室と、外気が入出する開口部を有し、内部に前記送風ファンを収容するファン収容室と、前記電装収容室と前記ファン収容室の間を仕切り、前記電装収容室の側の一面に前記電装部品が設置される区画壁と、を備え、前記送風ファンは、送風が前記区画壁に向くように、前記ファン収容室に配置されていることを特徴とする。
【0009】
上記の構成の電動船外機は、電装収容室とファン収容室の間が区画壁によって仕切られ、ファン収容室の内部に開口部を通して外気が入出する。ファン収容室内に流入した外気は、送風ファンによる送風によって区画壁に当てられる。これにより、区画壁に設置された電装部品が区画壁を通して冷却される。
本構成の場合、外気が入出する開口部はファン収容室に連通し、ファン収容室と電装収容室の間は区画壁によって仕切られている。このため、外気入出用の開口部にラビリンス構造等の複雑な水進入防止構造を採用しなくても、電装部品周りへの外水の流入を防止することができる。
【発明の効果】
【0010】
本発明によれば、外気入出用の開口部の構造を複雑にすることなく、電装部品周りへの外水の流入を抑制した状態で電装部品を確実に空冷によって冷却することができる。
【図面の簡単な説明】
(【0011】以降は省略されています)
この特許をJ-PlatPat(特許庁公式サイト)で参照する
関連特許
本田技研工業株式会社
車両
22日前
本田技研工業株式会社
差圧式電解装置
16日前
本田技研工業株式会社
スポット溶接方法
2日前
本田技研工業株式会社
回転電機のロータ
15日前
本田技研工業株式会社
電動無段変速装置
18日前
本田技研工業株式会社
駆動装置ユニット
19日前
本田技研工業株式会社
情報処理方法及びプログラム
1日前
本田技研工業株式会社
制御装置、および、制御方法
2日前
本田技研工業株式会社
二酸化炭素回収装置及び二酸化炭素回収方法
23日前
本田技研工業株式会社
情報処理装置、情報処理方法、およびプログラム
1日前
本田技研工業株式会社
作動装置
1日前
本田技研工業株式会社
制御装置
3日前
本田技研工業株式会社
学習装置、推定装置、学習方法、推定方法及びプログラム
22日前
本田技研工業株式会社
車両、制御方法、プログラム、記憶媒体、及び情報処理装置
1日前
本田技研工業株式会社
移動体支援装置および移動体システム
16日前
個人
水上遊具
5か月前
個人
川下り用船
11か月前
個人
洋上研究所
3か月前
個人
津波防災ウエア
2か月前
個人
補助機構
8か月前
個人
船用横揺防止具
9か月前
個人
コンパクトシティ船
7か月前
個人
渦流動力推進構造
7か月前
個人
セールのバテンガイド装置
4か月前
石田造船株式会社
内航船
1日前
炎重工株式会社
浮標
10か月前
炎重工株式会社
浮標
10か月前
個人
水質浄化・集熱昇温システム
4か月前
住友重機械工業株式会社
船舶
4か月前
株式会社フルトン
水中捕捉装置
8か月前
株式会社ラフティ
サーフボード
4か月前
個人
船舶
10か月前
個人
スクリュープロペラ
7か月前
ペアリ株式会社
海の環境改善装置
12日前
オーケー工業株式会社
係留フック
8か月前
個人
回転式による流体流出防止タンカー
8か月前
続きを見る
他の特許を見る