TOP
|
特許
|
意匠
|
商標
特許ウォッチ
Twitter
他の特許を見る
10個以上の画像は省略されています。
公開番号
2025093462
公報種別
公開特許公報(A)
公開日
2025-06-24
出願番号
2023209130
出願日
2023-12-12
発明の名称
船舶
出願人
住友重機械工業株式会社
代理人
個人
主分類
B63H
21/32 20060101AFI20250617BHJP(船舶またはその他の水上浮揚構造物;関連艤装品)
要約
【課題】エンジンの排出ガスから回収された二酸化炭素を貯留するために生ずるデッドスペースを、従来技術より、小さくする。
【解決手段】船舶は、稼働すると二酸化炭素を含むガスを排出するエンジンと、前記エンジンから排出された前記ガスから前記二酸化炭素を回収する回収部と、回収された前記二酸化炭素を液化する液化部と、液化二酸化炭素を貯留する貯留タンクと、を備え、前記貯留タンクは、バラストタンクである。
【選択図】図1
特許請求の範囲
【請求項1】
稼働すると二酸化炭素を含むガスを排出するエンジンと、
前記エンジンから排出された前記ガスから前記二酸化炭素を回収する回収部と、
回収された前記二酸化炭素を液化する液化部と、
液化二酸化炭素を貯留する貯留タンクと、
を備え、
前記貯留タンクは、バラストタンクである、
船舶。
続きを表示(約 160 文字)
【請求項2】
液化二酸化炭素を一時的に貯留する一時貯留タンクを更に備え、
前記貯留タンクには、前記一時貯留タンクに一時的に貯留された前記液化二酸化炭素を貯留する、
請求項1に記載の船舶。
【請求項3】
前記一時貯留タンクの容量は、前記バラストタンクの容量と同じである請求項2に記載の船舶。
発明の詳細な説明
【技術分野】
【0001】
本開示の技術は、船舶に関する。
続きを表示(約 2,200 文字)
【背景技術】
【0002】
気候変動対策として、海事業界でも脱炭素化が急務である。そこで、ゼロエミッション船の実現手段としては、船舶上で二酸化炭素を回収することが検討される。船上で二酸化炭素を回収する場合、回収した二酸化炭素を船上に貯留する必要がある。
【0003】
特許文献1には、脱炭素化した船舶としてのアンモニア船が開示される。アンモニア燃料船は、アンモニアが漏洩する可能性のある個所に水を散布するスプレーと、当該箇所に漏洩したアンモニアガスを吸収した水を回収する回収手段と、回収されたアンモニア水を貯留する貯留タンクと、を備え、貯留タンクとして、バラストタンクが利用される。バラストタンクとは、船体の喫水及び傾斜を調節するためのバラスト水(即ち、海水)を貯留するタンクである。
【先行技術文献】
【特許文献】
【0004】
特開2023-93265号公報
【発明の概要】
【発明が解決しようとする課題】
【0005】
回収した二酸化炭素を船上に貯留する場合、そのための貯留タンクが必要となる。しかし、貯留タンクが配置された領域は、二酸化炭素を貯留する以外に利用されないデッドスペースとなる。
【0006】
なお、アンモニア燃料船では、漏洩したアンモニアガスを水に吸収させ、アンモニアガスを吸収した水を貯留タンクに貯留させるので、貯留タンクには、アンモニアのみを貯留することができない。
【0007】
本開示の技術は、エンジンの排出ガスから回収された二酸化炭素を貯留するために生ずるデッドスペースを、従来技術より、小さくすることができる船舶を提供することを目的とする。
【課題を解決するための手段】
【0008】
上記目的を達成するため本開示の技術の第1の態様の船舶は、稼働すると二酸化炭素を含むガスを排出するエンジンと、前記エンジンから排出された前記ガスから前記二酸化炭素を回収する回収部と、回収された前記二酸化炭素を液化する液化部と、液化二酸化炭素を貯留する貯留タンクと、を備え、前記貯留タンクは、バラストタンクである。
【発明の効果】
【0009】
本開示の技術の第1の態様は、エンジンの排出ガスから回収された二酸化炭素を貯留するために生ずるデッドスペースを、従来技術より、小さくすることができる。
【図面の簡単な説明】
【0010】
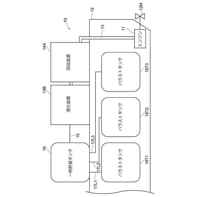
第1の実施の形態の船舶の一例の概略断面図である。
第1の実施の形態の船舶の運航開始時における一時貯留タンク及び3個のバラストタンクの収容状態の一例を示す図である。
本実施の形態の船舶の運航開始後、稼働したエンジンの排出ガスから二酸化炭素が回収され、液化された液化二酸化炭素を一時貯留タンクが収容した状態と、3個のバラストタンクとの収容状態との一例を示す図である。
3個のバラストタンクの中の第1のバラストタンクからバラスト水が排出された後の一時貯留タンク及び3個のバラストタンクの収容状態の一例を示す図である。
一時貯留タンクが収容した液化二酸化炭素が、第1のバラストタンクに収容された後の一時貯留タンク及び3個のバラストタンクの収容状態の一例を示す図である。
液化二酸化炭素を一時貯留タンクが収容した状態と、3個のバラストタンクの中の第2のバラストタンクからバラスト水が排出された後の3個のバラストタンクの収容状態との一例を示す図である。
一時貯留タンクが収容した液化二酸化炭素が、第2のバラストタンクに収容された後の一時貯留タンク及び3個のバラストタンクの収容状態の一例を示す図である。
第1の実施の形態の船舶の荷揚げの際に、二酸化炭素を貯留するバラストタンクを、移動機構が車両に乗せる様子の一例を示す図である。
第2の実施の形態の船舶の内部の一例の概略上面図である。
第2の実施の形態の船舶の運航開始時における一時貯留タンク及び2n個のバラストの収容状態の一例を示す図である。
第2の実施の形態の船舶の運航開始後、稼働したエンジンから排出された二酸化炭素が回収され、液化された液化二酸化炭素を一時貯留タンクが収容しつつ、左列の第1のバラストタンク及び右列の第nのバラストタンクの各々からバラスト水が排出されつつあるときの一時貯留タンク及び2n個のバラストタンクの収容状態の一例を示す図である。
第2の実施の形態の船舶の運航開始後、稼働したエンジン11から排出された二酸化炭素が回収され、液化二酸化炭素を一時貯留タンクが最大容量、収容し且つ左列の第1のバラストタンク及び右列の第nのバラストタンクの各々からバラスト水が全て排出されたときの一時貯留タンク及び2n個のバラストタンクの収容状態の一例を示す図である。
一時貯留タンクが収容した液化二酸化炭素が左列の第1のバラストタンク及び右列の第nのバラストタンクの各々に収容されたときの一時貯留タンク及び2n個のバラストタンクの収容状態の一例を示す図である。
【発明を実施するための形態】
(【0011】以降は省略されています)
この特許をJ-PlatPat(特許庁公式サイト)で参照する
関連特許
個人
水上遊具
5か月前
個人
川下り用船
11か月前
個人
洋上研究所
4か月前
個人
船用横揺防止具
9か月前
個人
津波防災ウエア
3か月前
個人
補助機構
8か月前
個人
コンパクトシティ船
8か月前
個人
渦流動力推進構造
8か月前
石田造船株式会社
内航船
12日前
個人
セールのバテンガイド装置
4か月前
個人
水質浄化・集熱昇温システム
5か月前
炎重工株式会社
浮標
10か月前
炎重工株式会社
浮標
10か月前
住友重機械工業株式会社
船舶
4か月前
株式会社ラフティ
サーフボード
4か月前
株式会社フルトン
水中捕捉装置
8か月前
個人
スクリュープロペラ
8か月前
個人
船舶
10か月前
オーケー工業株式会社
係留フック
9か月前
個人
回転式による流体流出防止タンカー
8か月前
ペアリ株式会社
海の環境改善装置
23日前
スズキ株式会社
船外機
7か月前
スズキ株式会社
船外機
7か月前
朝日電装株式会社
船外機用照明装置
3か月前
株式会社アカデミー出版
船舶
3か月前
スズキ株式会社
船外機
6か月前
ヤマハ発動機株式会社
船外機
10か月前
スズキ株式会社
船外機
6か月前
常石造船株式会社
メタノール燃料船
11か月前
ナブテスコ株式会社
主機制御システム
1か月前
藤倉コンポジット株式会社
架台
11か月前
株式会社神戸タフ興産
船舶の甲板構造
11か月前
株式会社ユピテル
システム及びプログラム等
7か月前
炎重工株式会社
自律航行浮遊体
10か月前
スズキ株式会社
船舶推進機
5か月前
有限会社金鹿哲学承継塾
揚力可変水中翼
7日前
続きを見る
他の特許を見る