TOP
|
特許
|
意匠
|
商標
特許ウォッチ
Twitter
他の特許を見る
公開番号
2025162450
公報種別
公開特許公報(A)
公開日
2025-10-27
出願番号
2024065755
出願日
2024-04-15
発明の名称
海の環境改善装置
出願人
ペアリ株式会社
代理人
個人
主分類
B63B
35/44 20060101AFI20251020BHJP(船舶またはその他の水上浮揚構造物;関連艤装品)
要約
【課題】海面付近に深層水の滞留した領域を生じさせて海域の環境改善を図る。
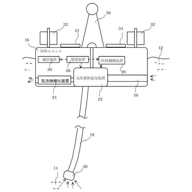
【解決手段】海面上に浮遊させる浮体ユニット16に、揚水パイプ18から深層水14を汲み上げて、汲み上げた深層水14と空気とを混合する気体液体混合装置22と、混合された空気の泡を微細化する気泡微細化装置24を設け、この浮体ユニット16が、深層水に多量の微細な気泡を混入させた状態で、汲み上げた深層水の比重を軽くして、海面に深層水の滞留した領域を生じさせる
【選択図】図1
特許請求の範囲
【請求項1】
海面上に浮遊させる浮体ユニットに、揚水パイプから深層水を汲み上げて、汲み上げた深層水と空気とを混合する気体液体混合装置と、混合された空気の泡を微細化する気泡微細化装置を設け、
この浮体ユニットが、深層水に多量の微細な気泡を混入させた状態で、汲み上げた深層水の比重を軽くして、海面に深層水の滞留した領域を生じさせることを特徴とする海域の環境改善装置。
続きを表示(約 450 文字)
【請求項2】
気体液体混合装置は、汲み上げた深層水に海面周辺の海水も混合することを特徴とする請求項1に記載の海域の環境改善装置。
【請求項3】
海面上に浮遊させる浮体ユニットに、配置した領域を浮遊させる推進装置と位置制御装置を設けたことを特徴とする請求項1または2に記載の海域の環境改善装置。
【請求項4】
請求項1または2に記載の深層水を汲み上げる浮体ユニットを、予め設定した領域に浮遊させて位置制御をして、浮体ユニットを配置した領域に深層水の滞留した領域を生じさせて、該当する海域の環境改善を図ることを特徴とする海域の環境改善方法。
【請求項5】
請求項1または2に記載の深層水を汲み上げる浮体ユニットを、予め設定した領域に複数浮遊させて分散配置し、それぞれの浮体ユニットを独立にまたは連結して位置制御をして、浮体ユニットを配置した領域に深層水の滞留した領域を生じさせて、該当する海域の環境改善を図ることを特徴とする海域の環境改善方法。
発明の詳細な説明
【技術分野】
【0001】
本発明は深層水を利用した海の環境改善装置に関する。
続きを表示(約 1,000 文字)
【背景技術】
【0002】
深層水は栄養豊富なためこれを組み上げて周辺の海域の環境を改善しようとする技術が各種紹介されている(特許文献1~3)。
【先行技術文献】
【特許文献】
【0003】
特開2011-256718号公報
特開2003-343447号公報
特開2002-370690号公報
【発明の概要】
【発明が解決しようとする課題】
【0004】
しかしながら、深層水は海面付近の海水と比べて冷たくて比重が重く、組み上げてもしばらくすると沈んでしまう。そのため上記の特許文献では、くみ上げた深層水を暖かい海水と混ぜ合わせて軽量化を図るといった技術も紹介されている。
【0005】
上記のような技術を利用して大量の深層水をくみ上げて海面付近により長く滞留させることができれば海の環境改善におおいに役立つ。本発明は以上の点に着目してなされたものである。
【課題を解決するための手段】
【0006】
以下の構成はそれぞれ上記の課題を解決するための手段である。
【0007】
<構成1>
海面上に浮遊させる浮体ユニットに、揚水パイプから深層水を汲み上げて、汲み上げた深層水と空気とを混合する気体液体混合装置と、混合された空気の泡を微細化する気泡微細化装置を設け、
この浮体ユニットが、深層水に多量の微細な気泡を混入させた状態で、汲み上げた深層水の比重を軽くして、海面に深層水の滞留した領域を生じさせることを特徴とする海域の環境改善装置。
【0008】
<構成2>
気体液体混合装置は、汲み上げた深層水に海面周辺の海水も混合することを特徴とする構成1に記載の海域の環境改善装置。
【0009】
<構成3>
海面上に浮遊させる浮体ユニットに、配置した領域を浮遊させる推進装置と位置制御装置を設けたことを特徴とする構成1または2に記載の海域の環境改善装置。
【0010】
<構成4>
構成1または2に記載の深層水を汲み上げる浮体ユニットを、予め設定した領域に浮遊させて位置制御をして、浮体ユニットを配置した領域に深層水の滞留した領域を生じさせて、該当する海域の環境改善を図ることを特徴とする海域の環境改善方法。
(【0011】以降は省略されています)
この特許をJ-PlatPat(特許庁公式サイト)で参照する
関連特許
個人
水上遊具
6か月前
個人
洋上研究所
4か月前
個人
補助機構
9か月前
個人
津波防災ウエア
3か月前
個人
コンパクトシティ船
9か月前
個人
上下振動翼推進人力艇
4日前
個人
渦流動力推進構造
8か月前
石田造船株式会社
内航船
1か月前
個人
セールのバテンガイド装置
5か月前
個人
水質浄化・集熱昇温システム
5か月前
住友重機械工業株式会社
船舶
5か月前
株式会社ラフティ
サーフボード
5か月前
株式会社フルトン
水中捕捉装置
9か月前
個人
スクリュープロペラ
8か月前
個人
回転式による流体流出防止タンカー
9か月前
オーケー工業株式会社
係留フック
9か月前
ペアリ株式会社
海の環境改善装置
1か月前
スズキ株式会社
船外機
8か月前
朝日電装株式会社
船外機用照明装置
4か月前
スズキ株式会社
船外機
8か月前
スズキ株式会社
船外機
7か月前
スズキ株式会社
船外機
7か月前
株式会社アカデミー出版
船舶
4か月前
ナブテスコ株式会社
主機制御システム
2か月前
株式会社ユピテル
システム及びプログラム等
8か月前
ヤマハ発動機株式会社
船舶推進機
1か月前
スズキ株式会社
船舶推進機
6か月前
スズキ株式会社
電動船外機
8か月前
ヤマハ発動機株式会社
船舶推進機
1か月前
ヤマハ発動機株式会社
船舶推進機
1か月前
スズキ株式会社
船舶推進機
6か月前
スズキ株式会社
船舶推進機
6か月前
スズキ株式会社
船舶推進機
6か月前
スズキ株式会社
船舶推進機
6か月前
スズキ株式会社
船舶推進機
6か月前
有限会社金鹿哲学承継塾
揚力可変水中翼
27日前
続きを見る
他の特許を見る