TOP
|
特許
|
意匠
|
商標
特許ウォッチ
Twitter
他の特許を見る
10個以上の画像は省略されています。
公開番号
2025080923
公報種別
公開特許公報(A)
公開日
2025-05-27
出願番号
2023194308
出願日
2023-11-15
発明の名称
船舶推進機
出願人
スズキ株式会社
代理人
個人
,
個人
,
個人
主分類
B63H
20/14 20060101AFI20250520BHJP(船舶またはその他の水上浮揚構造物;関連艤装品)
要約
【課題】船舶推進機が大幅に大型化することを防ぎつつも、2機のモータの動力を合わせた力によりプロペラを回転させる方式と1機のモータの動力によりプロペラを回転させる方式との切替を可能にする。
【解決手段】船外機のパワーユニット2は、下側モータ21、上側モータ41および動力切替装置61を備え、動力切替装置61は、下側モータ21のモータシャフト22と上側モータ41のモータシャフト42とを互いに切断可能に接続し、2本のモータシャフト22、42が互いに接続された状態と2本のモータシャフト22、42が互いに切断された状態とを切り替える。また、各モータ21、41は船外機の上部に配置され、各モータシャフト22、42およびドライブシャフト4はそれぞれ上下方向に伸長し、ドライブシャフト4の上部はモータシャフト22に接続され、動力切替装置61は下側モータ21と上側モータ41との間に配置されている。
【選択図】図5
特許請求の範囲
【請求項1】
動力を生成するパワーユニットと、プロペラと、前記パワーユニットにより生成された動力を前記プロペラに伝達するためのドライブシャフトとを備えた船舶推進機であって、
前記パワーユニットは、第1のモータシャフトを有する第1のモータと、第2のモータシャフトを有する第2のモータと、前記第1のモータシャフトと前記第2のモータシャフトとを互いに切断可能に接続し、前記第1のモータシャフトと前記第2のモータシャフトとが互いに接続された状態と前記第1のモータシャフトと前記第2のモータシャフトとが互いに切断された状態とを切り替える動力切替装置とを備え、
前記第1のモータおよび前記第2のモータは当該船舶推進機の上部に配置され、
前記第1のモータシャフト、前記第2のモータシャフトおよび前記ドライブシャフトはそれぞれ上下方向に伸長し、
前記第2のモータは前記第1のモータの上方に配置され、
前記ドライブシャフトの上部は前記第1のモータシャフトに接続され、
前記動力切替装置は前記第1のモータと前記第2のモータとの間に配置されていることを特徴とする船舶推進機。
続きを表示(約 1,300 文字)
【請求項2】
前記動力切替装置は、前記第1のモータと前記第2のモータとの間に上下方向に移動可能に設けられた連結部材を備え、前記連結部材は、上下方向における一の方向に移動したときに前記第1のモータシャフトの上端部と前記第2のモータシャフトの下端部とを互いに接続し、上下方向における他の方向に移動したときに前記第1のモータシャフトの上端部と前記第2のモータシャフトの下端部とを互いに切断することを特徴とする請求項1に記載の船舶推進機。
【請求項3】
前記第1のモータシャフトと前記第2のモータシャフトとは互いに同軸に配置され、
前記連結部材は、前記第1のモータシャフトの上端部と前記第2のモータシャフトの下端部との間に、前記第1のモータシャフトおよび前記第2のモータシャフトと同軸に、かつ上下方向に移動可能に設けられたシャフトであり、
前記連結部材の上端部には、前記連結部材が前記第2のモータシャフトに対して回転不能でありかつ前記第2のモータシャフトに対して上下方向に移動可能であるように前記連結部材を前記第2のモータシャフトの下端部に結合させる結合部が設けられ、
前記連結部材の下端部には、前記第1のモータシャフトの上端部に設けられた被嵌合部と嵌合する嵌合部が設けられ、
前記連結部材は、当該連結部材が下方に移動したとき、前記結合部が前記第2のモータシャフトの下端部に結合された状態を維持したまま前記嵌合部が前記被嵌合部と嵌合することにより前記第1のモータシャフトの上端部と前記第2のモータシャフトの下端部とを互いに接続し、当該連結部材が上方に移動したとき、前記嵌合部と前記被嵌合部との嵌合を解除することにより前記第1のモータシャフトの上端部と前記第2のモータシャフトの下端部とを互いに切断することを特徴とする請求項2に記載の船舶推進機。
【請求項4】
前記第1のモータシャフトと前記第2のモータシャフトとは互いに同軸に配置され、
前記連結部材は、前記第1のモータシャフトの上端部と前記第2のモータシャフトの下端部との間に、前記第1のモータシャフトおよび前記第2のモータシャフトと同軸に、かつ上下方向に移動可能に設けられたシャフトであり、
前記連結部材の下端部には、前記連結部材が前記第1のモータシャフトに対して回転不能でありかつ前記第1のモータシャフトに対して上下方向に移動可能であるように前記連結部材を前記第1のモータシャフトの上端部に結合させる結合部が設けられ、
前記連結部材の上端部には、前記第2のモータシャフトの下端部に設けられた被嵌合部と嵌合する嵌合部が設けられ、
前記連結部材は、当該連結部材が上方に移動したとき、前記結合部が前記第1のモータシャフトの上端部に結合された状態を維持したまま前記嵌合部が前記被嵌合部と嵌合することにより前記第1のモータシャフトの上端部と前記第2のモータシャフトの下端部とを互いに接続し、当該連結部材が下方に移動したとき、前記嵌合部と前記被嵌合部との嵌合を解除することにより前記第1のモータシャフトの上端部と前記第2のモータシャフトの下端部とを互いに切断することを特徴とする請求項2に記載の船舶推進機。
発明の詳細な説明
【技術分野】
【0001】
本発明は、船舶の推進力を生成する動力源にモータ(電動機)を用いた船舶推進機に関する。
続きを表示(約 2,600 文字)
【背景技術】
【0002】
船外機において、船体に取り付けた状態で水面下に位置する部分、すなわち船外機の下部にモータを設け、モータから後方に伸長するシャフトの後端部にプロペラを取り付けたものが知られている。この種の船外機は、船外機の下部にモータが配置されているため、大型のモータを採用した場合には、船外機の下部が大きくなり、航走時の水の抵抗が増大するおそれがある。そのため、この種の船外機においては、大型のモータを採用して船外機の出力を増大させることが難しい。
【0003】
一方、特開2005-153727号公報(特許文献1)に記載されているように、船外機において、船体に取り付けた状態で水面よりも上方に位置する部分、すなわち船外機の上部にモータを設けたものが知られている。この種の船外機は、モータと、船外機の下部に設けられたプロペラシャフトとの間を上下方向に伸長するドライブシャフトを有し、このドライブシャフトにより、モータの出力をプロペラシャフトに伝達するように構成されている。この種の船外機においては、モータが船外機の上部に設けられているので、大型のモータを採用した場合でも、船外機の下部が大きくなることを抑制することができる。したがって、大型のモータを採用し易く、大型のモータを採用することにより船外機の出力を増大させることができる。
【先行技術文献】
【特許文献】
【0004】
特開2005-153727号公報
【発明の概要】
【発明が解決しようとする課題】
【0005】
ところで、船舶推進機に2機のモータを設け、2機のモータからそれぞれ出力される動力を合わせた力によりプロペラを回転させて船舶の推進力を生成するようにすれば、船舶推進機の出力を増大させることができる。さらに、2機のモータの動力を合わせた力によりプロペラを回転させる方式と、1機のモータの動力によりプロペラを回転させる方式とを切り替える動力切替装置を船舶推進機に設けることで、例えば船舶推進機の出力の大幅な増減、あるいは電費の調整等が行い易くなり、船舶推進機の性能を高めることができる。
【0006】
しかしながら、2機のモータおよび動力切替装置を船舶推進機に設けた場合、船舶の推進力を生成する動力源として1機のモータのみが設けられた船舶推進機と比較して、船舶推進機が大幅に大型化してしまうおそれがある。例えば、2機のモータおよび動力切替装置を船外機の下部に設けた場合には、船外機の下部が大幅に大きくなり、航走時の水の抵抗が増大するおそれがある。また、2機のモータおよび動力切替装置を船外機の上部に設けた場合でも、船外機の上部が大幅に大きくなり、航走時の空気抵抗が増大し、船外機の船体への取付の安定性が低下し、または船外機の外観が悪化してしまうおそれがある。
【0007】
本発明は例えば上述したような問題に鑑みなされたものであり、本発明の課題は、船舶推進機が大幅に大型化することを防ぎつつも、2機のモータの動力を合わせた力によりプロペラを回転させる方式と1機のモータの動力によりプロペラを回転させる方式との切替を可能にする船舶推進機を提供することにある。
【課題を解決するための手段】
【0008】
上記課題を解決するために、本発明は、動力を生成するパワーユニットと、プロペラと、前記パワーユニットにより生成された動力を前記プロペラに伝達するためのドライブシャフトとを備えた船舶推進機であって、前記パワーユニットは、第1のモータシャフトを有する第1のモータと、第2のモータシャフトを有する第2のモータと、前記第1のモータシャフトと前記第2のモータシャフトとを互いに切断可能に接続し、前記第1のモータシャフトと前記第2のモータシャフトとが互いに接続された状態と前記第1のモータシャフトと前記第2のモータシャフトとが互いに切断された状態とを切り替える動力切替装置とを備え、前記第1のモータおよび前記第2のモータは当該船舶推進機の上部に配置され、前記第1のモータシャフト、前記第2のモータシャフトおよび前記ドライブシャフトはそれぞれ上下方向に伸長し、前記第2のモータは前記第1のモータの上方に配置され、前記ドライブシャフトの上部は前記第1のモータシャフトに接続され、前記動力切替装置は前記第1のモータと前記第2のモータとの間に配置されていることを特徴とする。
【発明の効果】
【0009】
本発明によれば、船舶推進機が大幅に大型化することを防ぎつつも、2機のモータの動力を合わせた力によりプロペラを回転させる方式と1機のモータの動力によりプロペラを回転させる方式と切り替える機能を船舶推進機に持たせることができる。
【図面の簡単な説明】
【0010】
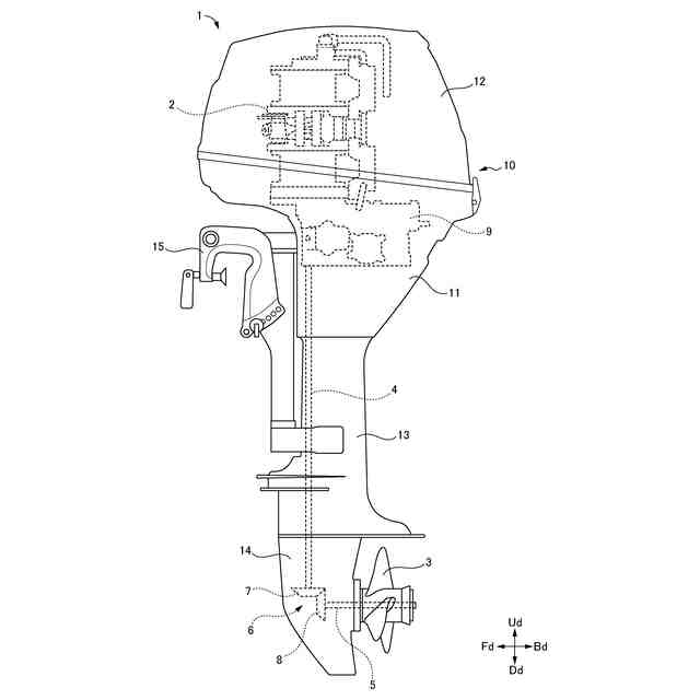
本発明の実施例の船外機を示す全体図である。
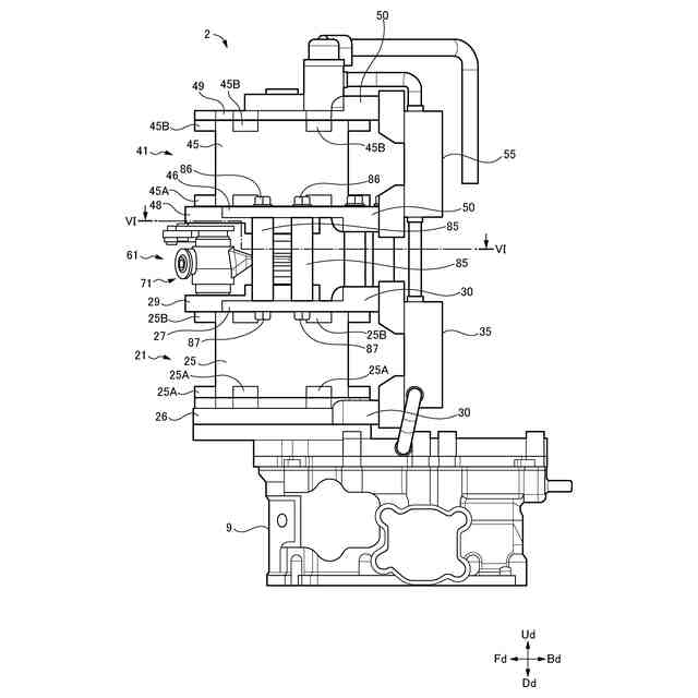
本発明の実施例の船外機におけるパワーユニット等を示す外観斜視図である。
図2中のパワーユニット等を左から見た状態を示す外観図である。
図2中のパワーユニット等を前から見た状態を示す外観図である。
図4中の切断線V-Vに沿って切断したパワーユニットを左から見た状態を示す断面図である。
図3中の切断線VI-VIに沿って切断した動力切替装置等を上から見た状態を示す断面図である。
本発明の実施例の船外機のパワーユニットにおける下側モータと上側モータとの間を左から見た状態を示す説明図である。
(A)は本発明の実施例の船外機のパワーユニットにおける連結シャフトを示す斜視図であり、(B)は本発明の実施例の船外機のパワーユニットにおける下側モータのモータシャフトの上端部を示す斜視図であり、(C)は本発明の実施例の船外機のパワーユニットにおける切替機構を示す分解斜視図である。
本発明の実施例の船外機のパワーユニットにおける動力切替装置の動作を示す説明図である。
本発明の実施例の船外機のパワーユニットの変形例を示す断面図である。
【発明を実施するための形態】
(【0011】以降は省略されています)
この特許をJ-PlatPat(特許庁公式サイト)で参照する
関連特許
スズキ株式会社
車両構造
1か月前
スズキ株式会社
車両構造
1か月前
スズキ株式会社
車両構造
1か月前
スズキ株式会社
車両構造
1か月前
スズキ株式会社
車両構造
1か月前
スズキ株式会社
車室構造
1か月前
スズキ株式会社
車室構造
1か月前
スズキ株式会社
車室構造
1か月前
スズキ株式会社
車両構造
1か月前
スズキ株式会社
開閉機構
14日前
スズキ株式会社
車両構造
1か月前
スズキ株式会社
車両構造
1か月前
スズキ株式会社
シート構造
14日前
スズキ株式会社
シート構造
14日前
スズキ株式会社
車両側部構造
22日前
スズキ株式会社
車両後部構造
1か月前
スズキ株式会社
車両検査装置
1か月前
スズキ株式会社
車両制御装置
12日前
スズキ株式会社
燃料電池車両
1か月前
スズキ株式会社
燃料電池車両
1か月前
スズキ株式会社
動力伝達装置
12日前
スズキ株式会社
車両の制御装置
1か月前
スズキ株式会社
車両用荷室構造
1か月前
スズキ株式会社
車両用制御装置
1か月前
スズキ株式会社
車両の制御装置
26日前
スズキ株式会社
車体ルーフ構造
1か月前
スズキ株式会社
車両用制御装置
23日前
スズキ株式会社
車両の可動ゲート
29日前
スズキ株式会社
車両用ルーフ構造
12日前
スズキ株式会社
衝突被害軽減装置
1か月前
スズキ株式会社
車両の制御システム
1か月前
スズキ株式会社
車両の制御システム
1か月前
スズキ株式会社
車両の熱害防止構造
1か月前
スズキ株式会社
車両の照明制御装置
1か月前
スズキ株式会社
電動車両の後部構造
1か月前
スズキ株式会社
電動車両の後部構造
1か月前
続きを見る
他の特許を見る