TOP
|
特許
|
意匠
|
商標
特許ウォッチ
Twitter
他の特許を見る
公開番号
2025143938
公報種別
公開特許公報(A)
公開日
2025-10-02
出願番号
2024043464
出願日
2024-03-19
発明の名称
燃料電池車両
出願人
スズキ株式会社
代理人
弁理士法人東京国際特許事務所
主分類
B60K
8/00 20060101AFI20250925BHJP(車両一般)
要約
【課題】燃料ガス容量の増加と車両の小型化を両立しながらも、車両の重量バランスに優れ、車両の安定性が高い燃料電池車両を提供する。
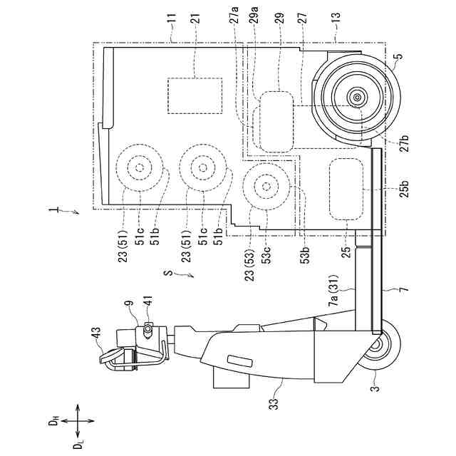
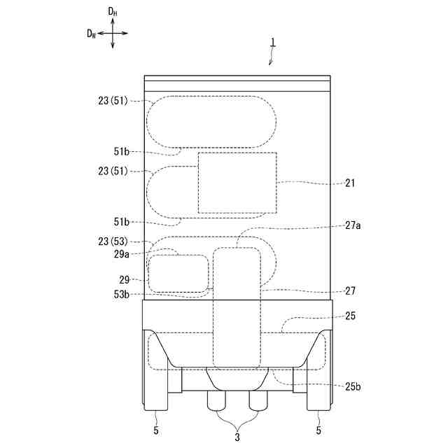
【解決手段】燃料電池車両1は、車両前方に設けられて搭乗者が乗車する乗車部7と、電力を発電する燃料電池21と、車両下方に配置されて燃料電池21で発電された電力を蓄電するバッテリー25と、バッテリー25から上方に、それぞれ間隔を開けて配置されて燃料電池21の燃料ガスを貯留する複数の燃料タンク23と、車両走行用の動力源となる電動機27と、燃料電池21およびバッテリー25の少なくともいずれか一方から供給される直流電力を交流電力に変換して電動機27を駆動させるインバーター29と、を備え、車両前後方向において、バッテリー25および複数の燃料タンク23は、乗車部7と、電動機27およびインバーター29との間に配置される。
【選択図】 図1
特許請求の範囲
【請求項1】
車両前方に設けられて搭乗者が乗車する乗車部と、
電力を発電する燃料電池と、
車両下方に配置されて前記燃料電池で発電された電力を蓄電するバッテリーと、
前記バッテリーから上方に、それぞれ間隔を開けて配置されて前記燃料電池の燃料ガスを貯留する複数の燃料タンクと、
車両走行用の動力源となる電動機と、
前記燃料電池および前記バッテリーの少なくともいずれか一方から供給される直流電力を交流電力に変換して前記電動機を駆動させるインバーターと、を備え、
車両前後方向において、前記バッテリーおよび前記複数の燃料タンクは、前記乗車部と、前記電動機および前記インバーターとの間に配置される燃料電池車両。
続きを表示(約 780 文字)
【請求項2】
前記バッテリーは、車両平面視で、前記バッテリーの少なくとも一部が前記複数の燃料タンクと重なるように配置される請求項1に記載の燃料電池車両。
【請求項3】
前記複数の燃料タンクは、
前記電動機の上端および前記インバーターの上端よりも上方に位置する下端を有する少なくとも1つの上側燃料タンクと、
前記電動機の前記上端および前記インバーターの前記上端よりも下方に位置する下端と、前記少なくとも1つの上側燃料タンクの前端よりも前方へ位置する前端とを有する、少なくとも1つの下側燃料タンクと、を含む請求項1に記載の燃料電池車両。
【請求項4】
前記電動機および前記インバーターは、前記バッテリーおよび前記少なくとも1つの下側燃料タンクの後方に位置し、かつ、前記少なくとも1つの上側燃料タンクよりも下方に位置する請求項3に記載の燃料電池車両。
【請求項5】
前記少なくとも1つの上側燃料タンクの数は、前記少なくとも1つの下側燃料タンクの数よりも多い請求項3に記載の燃料電池車両。
【請求項6】
前記少なくとも1つの上側燃料タンクは、車両平面視で、前記少なくとも1つの上側燃料タンク51の一部が前記電動機および前記インバーターに重なるように配置される請求項3に記載の燃料電池車両。
【請求項7】
前記バッテリーの下端は、前記乗車部の上端よりも下方に位置する請求項1に記載の燃料電池車両。
【請求項8】
前記電動機の下端は、前記乗車部の上端よりも下方に位置する請求項1に記載の燃料電池車両。
【請求項9】
前記電動機および前記インバーターは、車両側面視で、互いに重なる位置に配置されている請求項1に記載の燃料電池車両。
発明の詳細な説明
【技術分野】
【0001】
本発明の実施形態は、燃料電池車両に関する。
続きを表示(約 1,400 文字)
【背景技術】
【0002】
燃料電池車両は、車両前部に設けられて搭乗者が乗車する乗車部と、バッテリーおよび駆動ユニットを備えて乗車部の後方に設けられる動力部と、燃料タンク、燃料電池ユニットおよび電流変換器を備えてバッテリーに供給する電力を発生させる燃料電池部と、を有している。駆動ユニットは、バッテリーから供給される電力によって車両走行用の動力を発生するモーターを備えている。燃料タンクは、燃料ガスとして水素ガスを貯留する。
【先行技術文献】
【特許文献】
【0003】
特開2020-168886号公報
【発明の概要】
【発明が解決しようとする課題】
【0004】
燃料電池車両の性能を向上させるために、燃料タンクのサイズを大きくしたり、燃料タンクの数を増やしたりして、燃料ガス容量を増加させることが考えられる。
【0005】
しかしながら、燃料タンクは、燃料電池車両が備えるインバーター等の電装部品、モーターおよびバッテリー、ならびに、乗車部に乗車する搭乗者と比して、重量に対する体積が大きい。換言すると、燃料タンクは、電装部品、モーターおよびバッテリー、ならびに、搭乗者に比べて車両の容積を大きく占有する。そのため、燃料ガス容量を安易に増加させると、車両が過度に大型化してしまったり、車両の重量バランスや車両の安定性が損なわれたりする虞がある。
【0006】
そこで、本発明は、燃料ガス容量の増加と車両の小型化を両立しながらも、車両の重量バランスに優れ、車両の安定性が高い燃料電池車両を提供することを目的とする。
【課題を解決するための手段】
【0007】
前記の課題を解決するため本発明の実施形態に係る燃料電池車両は、車両前方に設けられて搭乗者が乗車する乗車部と、電力を発電する燃料電池と、車両下方に配置されて前記燃料電池で発電された電力を蓄電するバッテリーと、前記バッテリーから上方に、それぞれ間隔を開けて配置されて前記燃料電池の燃料ガスを貯留する複数の燃料タンクと、車両走行用の動力源となる電動機と、前記燃料電池および前記バッテリーの少なくともいずれか一方から供給される直流電力を交流電力に変換して前記電動機を駆動させるインバーターと、を備え、車両前後方向において、前記バッテリーおよび前記複数の燃料タンクは、前記乗車部と、前記電動機および前記インバーターとの間に配置される。
【発明の効果】
【0008】
本発明により、燃料ガス容量の増加と車両の小型化を両立しながらも、車両の重量バランスに優れ、車両の安定性が高い燃料電池車両が提供される。
【図面の簡単な説明】
【0009】
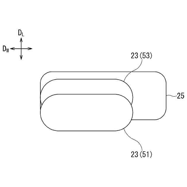
本発明の実施形態に係る燃料電池車両の側面図。
本発明の実施形態に係る燃料電池車両の背面図。
本発明の実施形態に係る燃料電池車両において、車両平面視でのバッテリーと、複数の燃料タンクとの位置関係を示す図。
本発明の実施形態に係る燃料電池車両において、車両平面視での上側燃料タンクと、電動機およびインバーターとの位置関係を示す図。
【発明を実施するための形態】
【0010】
本発明に係る燃料電池車両の実施形態について、図1から図4を参照して説明する。なお、複数の図面中の、同じまたは相当する構成には同一の符号が付されている。
(【0011】以降は省略されています)
この特許をJ-PlatPat(特許庁公式サイト)で参照する
関連特許
スズキ株式会社
排気装置
29日前
スズキ株式会社
排気装置
29日前
スズキ株式会社
移動システム
2か月前
スズキ株式会社
車両用変速機
19日前
スズキ株式会社
車両前部構造
1か月前
スズキ株式会社
車両側部構造
1か月前
スズキ株式会社
動力伝達装置
1か月前
スズキ株式会社
運転支援装置
1か月前
スズキ株式会社
車両側部構造
28日前
スズキ株式会社
車両側部構造
28日前
スズキ株式会社
運転支援装置
1か月前
スズキ株式会社
車両用バンパ
19日前
スズキ株式会社
モータケース
19日前
スズキ株式会社
車両前部構造
19日前
スズキ株式会社
車両前部構造
1か月前
スズキ株式会社
車体下部構造
1か月前
スズキ株式会社
燃料電池車両
6日前
スズキ株式会社
燃料電池車両
6日前
スズキ株式会社
エアクリーナ
1か月前
スズキ株式会社
車体下部構造
1か月前
スズキ株式会社
運転支援装置
1か月前
スズキ株式会社
車両の制御装置
21日前
スズキ株式会社
車両用制御装置
1か月前
スズキ株式会社
車両の制御装置
1か月前
スズキ株式会社
車両の制御装置
12日前
スズキ株式会社
車両用送風構造
13日前
スズキ株式会社
車両用空調装置
1か月前
スズキ株式会社
積立金管理装置
27日前
スズキ株式会社
車両用制御装置
28日前
スズキ株式会社
車両用制御装置
1か月前
スズキ株式会社
車両用送風構造
13日前
スズキ株式会社
車両用制御装置
1か月前
スズキ株式会社
車両用送風構造
13日前
スズキ株式会社
吸気マニホールド
2か月前
スズキ株式会社
車両用ペダル構造
2か月前
スズキ株式会社
衝突被害軽減装置
5日前
続きを見る
他の特許を見る