TOP
|
特許
|
意匠
|
商標
特許ウォッチ
Twitter
他の特許を見る
10個以上の画像は省略されています。
公開番号
2025167753
公報種別
公開特許公報(A)
公開日
2025-11-07
出願番号
2024072631
出願日
2024-04-26
発明の名称
車両用ルーフ構造
出願人
スズキ株式会社
代理人
個人
,
個人
主分類
B60R
13/02 20060101AFI20251030BHJP(車両一般)
要約
【課題】室内灯およびルームミラーの周辺のルーフライニングの剛性を向上させることができる車両用ルーフ構造を提供する。
【解決手段】車両のルーフの車室側を形成し所定の第1開口および第2開口を有するルーフライニング104を備える車両用ルーフ構造100であって、車両用ルーフ構造100はさらに、ルーフライニング104の上側に位置し第1開口を介して室内灯112を固定する第1リテーナ130と、ルーフライニング104の上側に位置し第2開口を介してルームミラーのカバー116を固定する第2リテーナ150と、を有し、第1リテーナ130および第2リテーナ150が一体化されている。
【選択図】図5
特許請求の範囲
【請求項1】
車両のルーフの車室側を形成し所定の第1開口および第2開口を有するルーフライニングを備える車両用ルーフ構造であって、当該車両用ルーフ構造はさらに、
前記ルーフライニングの上側に位置し前記第1開口を介して室内灯を固定する第1リテーナと、
前記ルーフライニングの上側に位置し前記第2開口を介してルームミラーのカバーを固定する第2リテーナと、を有し、
前記第1リテーナおよび前記第2リテーナが一体化されていることを特徴とする車両用ルーフ構造。
続きを表示(約 670 文字)
【請求項2】
前記第2リテーナは前記第1リテーナよりも車幅方向の寸法が小さく、
前記第2リテーナは前記第1リテーナから車両前方に突出していることを特徴とする請求項1に記載の車両用ルーフ構造。
【請求項3】
当該車両用ルーフ構造はさらに、
前記第1リテーナおよび前記第2リテーナの上側を車幅方向にわたって延びるルーフクロスメンバと、
前記第1開口と前記第2開口との間において前記第1リテーナまたは前記第2リテーナから上方に突出して前記ルーフクロスメンバに固定された2つの固定部とを備えることを特徴とする請求項2に記載の車両用ルーフ構造。
【請求項4】
当該車両用ルーフ構造はさらに、前記2つの固定部を連接する連接部を備え、
前記連接部は、前後の2つの立壁と、該2つの立壁の上端をつなぐ上壁とを有することを特徴とする請求項3に記載の車両用ルーフ構造。
【請求項5】
当該車両用ルーフ構造はさらに、
前記第1リテーナから車両後方に突出する凸片と、
前記第1リテーナおよび前記第2リテーナの上側に配置され車両のルーフの車外側を形成するルーフパネルと、
前記凸片に固定され前記ルーフライニングと前記ルーフパネルとの間のクリアランスを確保するパッドと、を備えることを特徴とする請求項2に記載の車両用ルーフ構造。
【請求項6】
前記凸片は前記第1リテーナよりも車幅方向の寸法が小さいことを特徴とする請求項5に記載の車両用ルーフ構造。
発明の詳細な説明
【技術分野】
【0001】
本発明は、車両用ルーフ構造に関するものである。
続きを表示(約 1,700 文字)
【背景技術】
【0002】
例えば特許文献1には、車両のルーフの内装部材(ルーフライニング)の前部に2つの開口部が形成されていて、これら開口部それぞれを介して室内灯およびルームミラーが内装部材に装着されている。内装部材には、一方の開口部に重なるようにして目隠しカバーが設けられていて、この目隠しカバーには、室内灯が固定される室内灯装着用孔が形成されている。
【先行技術文献】
【特許文献】
【0003】
特開2009-101724号公報
【発明の概要】
【発明が解決しようとする課題】
【0004】
このように特許文献1に記載のルーフの内装部材には、室内灯およびルームミラーを装着するための開口部がそれぞれ設けられているし、開口部に取り付けられる目隠しカバーにも室内灯装着用孔が設けられている。したがって内装部材の開口部は、室内灯やルームミラーが装着される部分であるにも拘らず、剛性は低くなりがちであり、かかる部分に変形が生じて、室内灯およびルームミラーを安定して装着できないおそれがある。
【0005】
本発明はこのような課題に鑑み、ルーフライニングのうち室内灯やルームミラーのカバーが取り付けられる部分の剛性が向上し、同部分の変形などの不具合が抑制される車両用ルーフ構造を提供することを目的としている。
【課題を解決するための手段】
【0006】
上記課題を解決するために、本発明の代表的な構成は、車両のルーフの車室側を形成し所定の第1開口および第2開口を有するルーフライニングを備える車両用ルーフ構造であって、車両用ルーフ構造はさらに、ルーフライニングの上側に位置し第1開口を介して室内灯を固定する第1リテーナと、ルーフライニングの上側に位置し第2開口を介してルームミラーのカバーを固定する第2リテーナと、を有し、第1リテーナおよび第2リテーナが一体化されていることを特徴とする。
【発明の効果】
【0007】
本発明によれば、ルーフライニングのうち室内灯やルームミラーのカバーが取り付けられる部分の剛性が向上し、同部分の変形などの不具合が抑制される。
【図面の簡単な説明】
【0008】
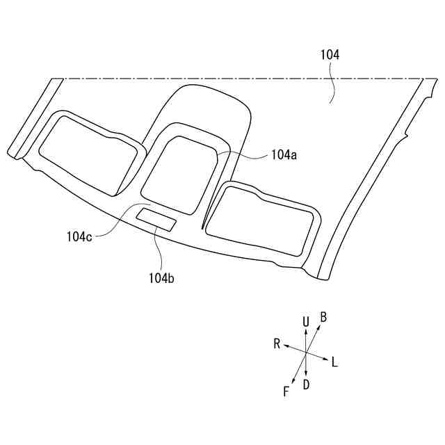
本発明の実施例に係る車両用ルーフ構造が適用された車両を斜め上方から見た斜視図である。
図1の車両用ルーフ構造を斜め下方から見た斜視図である。
図1の車両用ルーフ構造が有するルーフライニングを斜め上方から見た斜視図である。
図3のルーフライニングに結合リテーナが取り付けられた一部拡大平面図である。
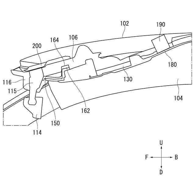
図1の車両用ルーフ構造が有する結合リテーナおよびその周囲を斜め上方から見た斜視図である。
図5の結合リテーナの平面図である。
図5の結合リテーナを裏面側から見た斜視図である。
図4の車両用ルーフ構造にルーフクロスメンバを取り付けた状態を示す一部拡大平面図である。
図1の車両用ルーフ構造を車幅方向から見た断面図である。
【発明を実施するための形態】
【0009】
本発明の一実施の形態は、車両のルーフの車室側を形成し所定の第1開口および第2開口を有するルーフライニングを備える車両用ルーフ構造であって、車両用ルーフ構造はさらに、ルーフライニングの上側に位置し第1開口を介して室内灯を固定する第1リテーナと、ルーフライニングの上側に位置し第2開口を介してルームミラーのカバーを固定する第2リテーナと、を有し、第1リテーナおよび第2リテーナが一体化されていることを特徴とする。
【0010】
本発明によれば、第1リテーナと第2リテーナとが一体化されてルーフライニングに固定されるため、それらが別々にルーフライニングに固定される場合に比べて、それらの剛性は向上する。したがって、ルーフライニングのうち室内灯やルームミラーのカバーが取り付けられる部分の剛性が向上し、同部分の変形などの不具合が抑制される。
(【0011】以降は省略されています)
この特許をJ-PlatPat(特許庁公式サイト)で参照する
関連特許
スズキ株式会社
車室構造
1か月前
スズキ株式会社
車両構造
1か月前
スズキ株式会社
車両構造
1か月前
スズキ株式会社
車室構造
1か月前
スズキ株式会社
車両構造
1か月前
スズキ株式会社
開閉機構
1か月前
スズキ株式会社
車両構造
1か月前
スズキ株式会社
車室構造
1か月前
スズキ株式会社
車両構造
1か月前
スズキ株式会社
車両構造
1か月前
スズキ株式会社
車両構造
1か月前
スズキ株式会社
車両構造
1か月前
スズキ株式会社
シート構造
1か月前
スズキ株式会社
車体カバー
10日前
スズキ株式会社
リッド構造
3日前
スズキ株式会社
リッド構造
3日前
スズキ株式会社
シート構造
1か月前
スズキ株式会社
車両側部構造
1か月前
スズキ株式会社
車両制御装置
1か月前
スズキ株式会社
車両検査装置
1か月前
スズキ株式会社
動力伝達装置
1か月前
スズキ株式会社
車両後部構造
1か月前
スズキ株式会社
電源システム
3日前
スズキ株式会社
車両用変速機
3日前
スズキ株式会社
車両制御装置
3日前
スズキ株式会社
車体下部構造
3日前
スズキ株式会社
車体下部構造
3日前
スズキ株式会社
運転支援装置
18日前
スズキ株式会社
車両用制御装置
1か月前
スズキ株式会社
車両用制御装置
1か月前
スズキ株式会社
車両用制御装置
3日前
スズキ株式会社
車体ルーフ構造
1か月前
スズキ株式会社
車両の制御装置
1か月前
スズキ株式会社
車両用荷室構造
1か月前
スズキ株式会社
車両の制御装置
12日前
スズキ株式会社
パーツボックス
18日前
続きを見る
他の特許を見る