TOP
|
特許
|
意匠
|
商標
特許ウォッチ
Twitter
他の特許を見る
10個以上の画像は省略されています。
公開番号
2025153939
公報種別
公開特許公報(A)
公開日
2025-10-10
出願番号
2024056665
出願日
2024-03-29
発明の名称
車室構造
出願人
スズキ株式会社
代理人
個人
,
個人
,
個人
,
個人
,
個人
,
個人
主分類
B60R
21/04 20060101AFI20251002BHJP(車両一般)
要約
【課題】車両の衝突時に、シートに着座する乗員の胸部や腹部を保護する。
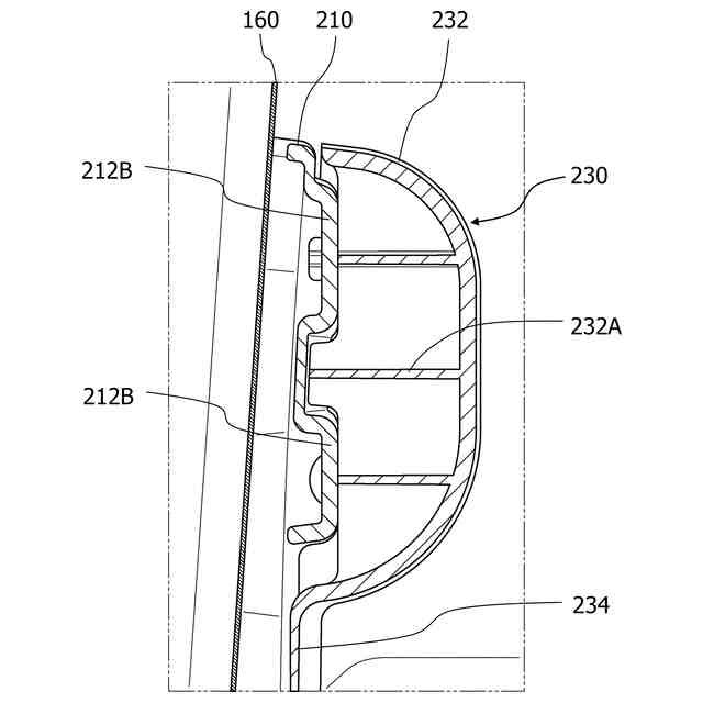
【解決手段】車室構造100は、車室を構成するフロントフロアパネル110、バックフロアパネル120、バックキャビンパネル130、フロントサイドパネル140、ルーフサイドパネル150、サイドキャビンパネル160及びタイヤハウスインナパネル170などと、乗員が着座するシート180と、シート180の側方に位置するバックキャビンパネル130に取り付けられたロアトリム210と、を備えている。そして、ロアトリム210は、シート180に着座する標準的な体型の乗員の肩部の側方を臨む位置から車室側へと突出する肩部パッド230を有している。
【選択図】図1
特許請求の範囲
【請求項1】
乗員が着座するシートの側方に位置する車体パネルに取り付けられた内装部材を備え、
前記内装部材は、前記シートに着座する標準的な体型の乗員の肩部の側方を臨む位置から車室側へと突出する肩当て部を有する、
車室構造。
続きを表示(約 730 文字)
【請求項2】
前記内装部材は、前記肩当て部の隣接部位で車体パネルに固定された、
請求項1に記載の車室構造。
【請求項3】
前記内装部材の肩当て部の周辺は、前記シートの側方に位置する車体パネルに形成された開口部の周辺に固定された、
請求項2に記載の車室構造。
【請求項4】
前記内装部材は、前記シートの側方から見て、前記シートのシートバックと重畳する位置で前記車体パネルに固定された、
請求項3に記載の車室構造。
【請求項5】
前記内装部材の前端部は、前記開口部の縁部に係合された、
請求項3に記載の車室構造。
【請求項6】
前記内装部材の前端部と前記開口部の縁部との間にライニングが配置された、
請求項5に記載の車室構造。
【請求項7】
前記内装部材の前端部は、前記開口部の縁部に係合され、
前記内装部材の後端部は、前記シートの後方に位置する車体パネルに形成された前記開口部とは異なる他の開口部の周辺に固定された、
請求項3に記載の車室構造。
【請求項8】
前記内装部材は、前記肩当て部の下方かつ隣接した位置に、前記肩当て部よりも剛性が低い低剛性部を有する、
請求項1に記載の車室構造。
【請求項9】
前記内装部材は、シート側面視で前記低剛性部と重畳した位置に脆弱部が設けられた、
請求項8に記載の車室構造。
【請求項10】
前記脆弱部は、前記シートの前方側に設けられた、
請求項9に記載の車室構造。
(【請求項11】以降は省略されています)
発明の詳細な説明
【技術分野】
【0001】
本発明は、車両の車室構造に関する。
続きを表示(約 1,800 文字)
【背景技術】
【0002】
車両に対して他の車両が側面衝突すると、乗員が着座するシートの側方に位置するパネルが車室側に突出し、シートに着座する乗員に影響が及ぶおそれがある。このため、特開2021-123223号公報(特許文献1)に記載されるように、シートの側方に位置するパネルにシートに沿う膨出部を形成し、車両側方の強度を向上させることが考えられる。
【先行技術文献】
【特許文献】
【0003】
特開2021-123223号公報
【発明の概要】
【発明が解決しようとする課題】
【0004】
しかしながら、特許文献1に記載される技術では、車両に対して他の車両が側面衝突すると膨出部全体が車室側に突出するので、シートに着座する乗員への影響を抑制することが困難であった。なお、車両の側面衝突時に、シートに着座する乗員への影響を抑制するためには、乗員の肩部よりも下方に位置する胸部や腹部を保護する必要がある。
【0005】
そこで、本発明は、車両の衝突時に、シートに着座する乗員の胸部や腹部を保護することができる、車室構造を提供することを目的とする。
【課題を解決するための手段】
【0006】
車室構造は、乗員が着座するシートの側方に位置する車体パネルに取り付けられた内装部材を備えている。そして、内装部材は、シートに着座する標準的な体型の乗員の肩部の側方を臨む位置から車室側へと突出する肩当て部を有している。
【発明の効果】
【0007】
本発明によれば、車両の衝突時に、シートに着座する乗員の胸部や腹部を保護することができる。
【図面の簡単な説明】
【0008】
車室構造の一例を示す斜視図である。
車室構造の一例を示す側面図である。
車室構造の一例を示す正面図である。
図1におけるA-A断面の拡大斜視図である。
ロアトリム及び肩部パッドの一例を示す分解図である。
ロアトリムに対する肩部パッドの取付構造の一例を示す断面図である。
ロアトリムに対する肩部パッドの取付構造の他の例を示す断面図である。
肩部パッドに取り付けられたクッション部の一例を示す斜視図である。
車室構造の変形例を示す斜視図である。
車室構造の他の変形例を示す斜視図である。
センターピラーに対するロアトリム及び肩部パッドの取付構造の一例を示す斜視図である。
図11におけるロアトリムの取付構造の詳細な一例を示す斜視図である。
【発明を実施するための形態】
【0009】
以下、添付された図面を参照し、本発明を実施するための実施形態について詳述する。
図1~図3は、本実施形態を適用可能な車両の車室構造100の一例を示している。なお、以下説明する車室構造100は、あくまで本実施形態の一例を示す例示にすぎず、その構成に限定されると解釈すべきではない。
【0010】
車室構造100は、床壁を構成するフロントフロアパネル110及びバックフロアパネル120と、後壁を構成するバックキャビンパネル130と、両側壁を構成する左右一対のフロントサイドパネル140、ルーフサイドパネル(いわゆるAピラーパネルを含む)150、ドアパネル(図示せず)、サイドキャビンパネル160及びタイヤハウスインナパネル170と、前壁を構成するフロントパネル(図示せず)と、天壁を構成するルーフパネル(図示せず)と、がスポット溶接などで適宜接合されて構成されている。ここで、フロントフロアパネル110、バックフロアパネル120、バックキャビンパネル130、フロントサイドパネル140、ルーフサイドパネル150、サイドキャビンパネル160及びタイヤハウスインナパネル170などが、各種のパネルの一例として挙げられる。また、バックフロアパネル120は、車室の後部に、荷物などを収容するバックスペースを設けるために使用されている。これら各種のパネルは、鋼板等で構成されて車体骨格部材を形成する車体パネルを意味する。
(【0011】以降は省略されています)
この特許をJ-PlatPat(特許庁公式サイト)で参照する
関連特許
スズキ株式会社
車両構造
23日前
スズキ株式会社
車両構造
23日前
スズキ株式会社
車両構造
23日前
スズキ株式会社
車両構造
23日前
スズキ株式会社
車両構造
23日前
スズキ株式会社
車室構造
23日前
スズキ株式会社
車室構造
23日前
スズキ株式会社
車室構造
23日前
スズキ株式会社
車両構造
23日前
スズキ株式会社
車両構造
23日前
スズキ株式会社
車両構造
23日前
スズキ株式会社
車両後部構造
17日前
スズキ株式会社
車両検査装置
18日前
スズキ株式会社
燃料電池車両
1か月前
スズキ株式会社
車両側部構造
5日前
スズキ株式会社
燃料電池車両
1か月前
スズキ株式会社
車体ルーフ構造
23日前
スズキ株式会社
車両の制御装置
16日前
スズキ株式会社
車両用荷室構造
23日前
スズキ株式会社
車両用制御装置
6日前
スズキ株式会社
車両用制御装置
18日前
スズキ株式会社
車両の制御装置
9日前
スズキ株式会社
衝突被害軽減装置
1か月前
スズキ株式会社
車両の可動ゲート
12日前
スズキ株式会社
車両の照明制御装置
1か月前
スズキ株式会社
車両の熱害防止構造
1か月前
スズキ株式会社
車両の制御システム
9日前
スズキ株式会社
車両の制御システム
1か月前
スズキ株式会社
車両の制御システム
9日前
スズキ株式会社
車両の制御システム
1か月前
スズキ株式会社
電動車両の後部構造
17日前
スズキ株式会社
電動車両の後部構造
17日前
スズキ株式会社
車両用リアバンパ構造
19日前
スズキ株式会社
梱包対象物の緩衝部材
1か月前
スズキ株式会社
キャブオーバー型車両
12日前
スズキ株式会社
梱包対象物の緩衝部材
1か月前
続きを見る
他の特許を見る