TOP
|
特許
|
意匠
|
商標
特許ウォッチ
Twitter
他の特許を見る
10個以上の画像は省略されています。
公開番号
2025153940
公報種別
公開特許公報(A)
公開日
2025-10-10
出願番号
2024056666
出願日
2024-03-29
発明の名称
車室構造
出願人
スズキ株式会社
代理人
個人
,
個人
,
個人
,
個人
,
個人
,
個人
主分類
B60R
21/04 20060101AFI20251002BHJP(車両一般)
要約
【課題】車両の衝突時に、シートに着座する乗員の頭部を保護する。
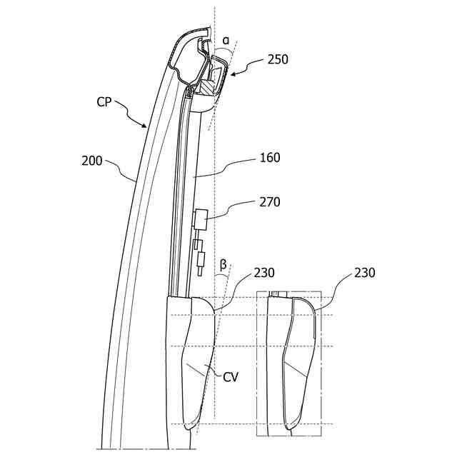
【解決手段】車室構造100は、車室を構成するフロントフロアパネル110、バックフロアパネル120、バックキャビンパネル130、フロントサイドパネル140、ルーフサイドパネル150、サイドキャビンパネル160及びタイヤハウスインナパネル170などと、乗員が着座するシート180と、頭部パッド250と、を備えている。頭部パッド250は、上記の各種のパネルのうちシート180に着座する標準的な体型の乗員の頭部の側方に位置するルーフサイドパネル150及びサイドキャビンパネル160において、乗員の頭部を臨む位置に取り付けられている。
【選択図】図1
特許請求の範囲
【請求項1】
シートに着座する標準的な体型の乗員の頭部の側方に位置する車体パネルにおける前記乗員の頭部を臨む位置に頭部パッドが取り付けられている、
車室構造。
続きを表示(約 940 文字)
【請求項2】
前記車体パネルは開口部を有し、
前記車体パネルの開口部の縁部にウェザーストリップが設けられ、
前記頭部パッドの一部が前記ウェザーストリップと重畳した位置に配置された、
請求項1に記載の車室構造。
【請求項3】
前記頭部パッドの下部は、前記ウェザーストリップに沿った形状に形成された、
請求項2に記載の車室構造。
【請求項4】
前記車体パネルの開口部の角部が湾曲し、
前記頭部パッドの下部は、前記角部に沿って湾曲している、
請求項3に記載の車室構造。
【請求項5】
前記頭部パッドの下方に、前記車体パネルの開口部に開閉可能に取り付けられるドアのガラス開口部の縁部に設けられたウェザーストリップが隣接して配置された、
請求項2に記載の車室構造。
【請求項6】
前記頭部パッドは、前記車体パネルに取り付けるための2つの取付部を有し、
前記2つの取付部の一方は、前記頭部パッドの表面から車体パネル側に窪んだ位置に形成され、
前記2つの取付部の他方は、前記頭部パッドの長手方向の端部から離間した位置であって、前記頭部パッドの表面から車体パネル側にオフセットした位置に形成された、
請求項1に記載の車室構造。
【請求項7】
前記頭部パッドは、前記2つの取付部の一方側の幅が広くなるように形成された、
請求項6に記載の車室構造。
【請求項8】
前記頭部パッドの周辺の他方の取付部側にアシストグリップが設けられ、
前記アシストグリップの取付部と前記頭部パッドの他方の取付部とが隣接して配置された、
請求項6に記載の車室構造。
【請求項9】
前記頭部パッドは中空形状に形成され、
前記頭部パッドの内面に上下方向に延びる少なくとも1つのリブが設けられた、
請求項1に記載の車室構造。
【請求項10】
前記頭部パッドのリブの側面にクッション材が配置された、
請求項9に記載の車室構造。
(【請求項11】以降は省略されています)
発明の詳細な説明
【技術分野】
【0001】
本発明は、車両の車室構造に関する。
続きを表示(約 1,600 文字)
【背景技術】
【0002】
車両に対して他の車両が側面衝突すると、乗員が着座するシートの側方に位置するパネルが車室側に突出し、シートに着座する乗員に影響が及ぶおそれがある。このため、特開2021-123223号公報(特許文献1)に記載されるように、シートの側方に位置するパネルにシートに沿う膨出部を形成し、車両側方の強度を向上させることが考えられる。
【先行技術文献】
【特許文献】
【0003】
特開2021-123223号公報
【発明の概要】
【発明が解決しようとする課題】
【0004】
しかしながら、特許文献1に記載される技術では、車両に対して他の車両が側面衝突すると、シートに着座している乗員の頭部が慣性によってパネル側に急激に移動し、乗員の頭部がパネルと衝突して影響が及ぶおそれがあった。
【0005】
そこで、本発明は、車両の衝突時に、シートに着座する乗員の頭部を保護することができる、車室構造を提供することを目的とする。
【課題を解決するための手段】
【0006】
車室構造は、シートに着座する標準的な体型の乗員の頭部の側方に位置する車体パネルにおける乗員の頭部を臨む位置に頭部パッドが取り付けられている。
【発明の効果】
【0007】
本発明によれば、車両の衝突時に、シートに着座する乗員の頭部を保護することができる。
【図面の簡単な説明】
【0008】
車室構造の一例を示す斜視図である。
車室構造の一例を示す側面図である。
車室構造の一例を示す正面図である。
頭部パッド及びその周辺の一例を示す側面図である。
頭部パッド及びその下方に配置されたドアパネルの一例を示す側面図である。
頭部パッドを後方から見た一例を示す斜視図である。
車室のセンターピラー及びその周辺の一例を示す断面図である。
頭部パッドを後方から見た要部の一例を示す斜視図である。
車室構造の他の例を示す側面図である。
【発明を実施するための形態】
【0009】
以下、添付された図面を参照し、本発明を実施するための実施形態について詳述する。
図1~図3は、本実施形態を適用可能な車両の車室構造100の一例を示している。なお、以下説明する車室構造100は、あくまで本実施形態の一例を示す例示にすぎず、その構成に限定されると解釈すべきではない。
【0010】
車室構造100は、床壁を構成するフロントフロアパネル110及びバックフロアパネル120と、後壁を構成するバックキャビンパネル130と、両側壁を構成する左右一対のフロントサイドパネル140、ルーフサイドパネル150、サイドキャビンパネル160及びタイヤハウスインナパネル170と、前壁を構成するフロントパネル(図示せず)と、天壁を構成するルーフパネル(図示せず)と、がスポット溶接などで適宜接合されて構成されている。ここで、フロントフロアパネル110、バックフロアパネル120、バックキャビンパネル130、フロントサイドパネル140、ルーフサイドパネル(いわゆるAピラーパネルを含む)150、後述するドアパネル330(図5参照)、サイドキャビンパネル160及びタイヤハウスインナパネル170などが、各種のパネルの一例として挙げられる。また、バックキャビンパネル130は、車室の後部に、荷物などを収容するバックスペースを設けるために使用されている。これらの各種のパネルは、鋼板等によって構成されて車体骨格部材を形成する車体パネルを意味する。
(【0011】以降は省略されています)
この特許をJ-PlatPat(特許庁公式サイト)で参照する
関連特許
スズキ株式会社
車両構造
1か月前
スズキ株式会社
車両構造
1か月前
スズキ株式会社
開閉機構
21日前
スズキ株式会社
車両構造
1か月前
スズキ株式会社
車両構造
1か月前
スズキ株式会社
車両構造
1か月前
スズキ株式会社
車両構造
1か月前
スズキ株式会社
車室構造
1か月前
スズキ株式会社
車室構造
1か月前
スズキ株式会社
車室構造
1か月前
スズキ株式会社
車両構造
1か月前
スズキ株式会社
車両構造
1か月前
スズキ株式会社
シート構造
21日前
スズキ株式会社
シート構造
21日前
スズキ株式会社
車両側部構造
29日前
スズキ株式会社
車両後部構造
1か月前
スズキ株式会社
燃料電池車両
1か月前
スズキ株式会社
燃料電池車両
1か月前
スズキ株式会社
車両検査装置
1か月前
スズキ株式会社
動力伝達装置
19日前
スズキ株式会社
車両制御装置
19日前
スズキ株式会社
運転支援装置
6日前
スズキ株式会社
車両用制御装置
1か月前
スズキ株式会社
車体ルーフ構造
1か月前
スズキ株式会社
車両の制御装置
今日
スズキ株式会社
車両用荷室構造
1か月前
スズキ株式会社
車両の制御装置
1か月前
スズキ株式会社
車両用送風構造
2か月前
スズキ株式会社
車両の制御装置
1か月前
スズキ株式会社
車両用送風構造
2か月前
スズキ株式会社
パーツボックス
6日前
スズキ株式会社
パーツボックス
6日前
スズキ株式会社
車両用送風構造
2か月前
スズキ株式会社
車両の制御装置
2か月前
スズキ株式会社
車両用制御装置
1か月前
スズキ株式会社
車両の可動ゲート
1か月前
続きを見る
他の特許を見る