TOP
|
特許
|
意匠
|
商標
特許ウォッチ
Twitter
他の特許を見る
10個以上の画像は省略されています。
公開番号
2025157787
公報種別
公開特許公報(A)
公開日
2025-10-16
出願番号
2024060024
出願日
2024-04-03
発明の名称
車両後部構造
出願人
スズキ株式会社
代理人
個人
,
個人
,
個人
,
個人
,
個人
,
個人
主分類
B62D
43/10 20060101AFI20251008BHJP(鉄道以外の路面車両)
要約
【課題】スペアタイヤをタイヤ収納部に出し入れする作業性を向上させる。
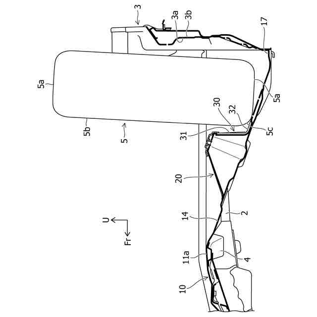
【解決手段】車両後部構造は、フロア部にスペアタイヤが収納されるタイヤ収納部12が設けられている。タイヤ収納部12には、底部から上方に突出し、スペアタイヤが着脱可能なタイヤ設置部材20が設けられ、タイヤ設置部材の後方側に位置する底部に接合される接合面部32を有する支持ブラケット30が設けられ、接合面部32の両外側部は、中間部32cによりも上方に位置し、スペアタイヤの外周面が両外側部に当接した状態で、タイヤ設置部材20にスペアタイヤが設置されるように構成されている。
【選択図】図1
特許請求の範囲
【請求項1】
車両後部に位置するフロア部にスペアタイヤが収納される収納部が設けられている車両後部構造であって、
前記収納部には、前記収納部の底部から上方に突出し、前記スペアタイヤが着脱可能なタイヤ設置部が設けられ、
前記収納部には、前記タイヤ設置部の後方側に位置する前記底部に接合される接合面部を有するブラケットが設けられ、
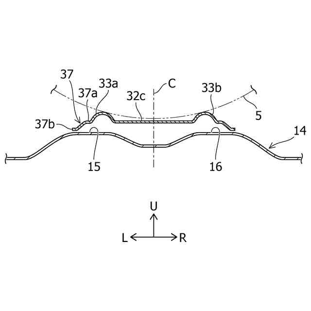
前記接合面部の車幅方向両外側部の少なくとも一部は、車幅方向中間部によりも上方に位置し、
前記スペアタイヤの外周面が前記接合面部の車幅方向両外側部、又は、前記接合面部の車幅方向両外側部の間に当接した状態で、前記タイヤ設置部に前記スペアタイヤが設置されるように構成されていることを特徴とする、車両後部構造。
続きを表示(約 670 文字)
【請求項2】
前記ブラケットは、前記接合面部の前部から車両上方に向かって前記タイヤ設置部の上部まで延びる延出部を有し、
前記延出部の上部は、前記タイヤ設置部に接合されていることを特徴とする、請求項1に記載の車両後部構造。
【請求項3】
前記接合面部及び前記延出部には、ビード部が設けられていることを特徴とする、請求項2に記載の車両後部構造。
【請求項4】
前記ビード部は、前記接合面部に設けられた前後方向ビード部と、前記延出部に設けられた上下方向ビード部と、を含み、
前記前後方向ビード部の前部と前記上下方向ビード部の下部は、連続するように形成されていることを特徴とする、請求項3に記載の車両後部構造。
【請求項5】
前記接合面部は、車両前方に向かうに従い車両上方に傾斜して延びていることを特徴とする、請求項1または請求項2に記載の車両後部構造。
【請求項6】
前記収納部の前記底部は、車両上方に突出する凸形状部を有し、
前記ブラケットの接合面部は、前記凸形状部に接合されていることを特徴とする、請求項1に記載の車両後部構造。
【請求項7】
前記接合面部の車幅方向両外側部には、上方に突出し車両前後方向に延びる突出部が設けられていることを特徴とする、請求項1に記載の車両後部構造。
【請求項8】
前記接合面部には、車両下方に湾曲する湾曲形状部が設けられていることを特徴とする、請求項1に記載の車両後部構造。
発明の詳細な説明
【技術分野】
【0001】
本発明は、車両後部構造に関する。
続きを表示(約 1,700 文字)
【背景技術】
【0002】
例えば、特許文献1に開示されているように、車両の後部にスペアタイヤが収納可能なタイヤ収納部が設けられている車両が知られている。当該タイヤ収納部は、車両後部のフロア部に設けられている。スペアタイヤは、タイヤ収納部に設けられたブラケットに保持された状態で、タイヤ収納部内に収納されている。
【0003】
特許文献1に開示される構造では、スペアタイヤは、タイヤ収納部に形成された凹部の周辺部に着地可能とされている。すなわち、凹部の後方側及び前方側のフロア面に、スペアタイヤのサイドウォール部が当接している。さらに、車両上下方向において、前方側に位置する周辺部は、後方側に位置する周辺部よりも高くなるように形成されており、周辺部に着地した状態で、当該スペアタイヤは、ブラケットの上壁の傾斜角度に沿って傾斜した状態で配置されている。スペアタイヤが傾斜状態で収納されることにより、スペアタイヤが水平に配置される場合に比べて、タイヤ収納部の車両前後方向の寸法を短くすることを可能としている。
【先行技術文献】
【特許文献】
【0004】
特開2013-189032号公報
【発明の概要】
【発明が解決しようとする課題】
【0005】
作業者がスペアタイヤをタイヤ収納部に収納する作業では、通常、スペアタイヤをタイヤ収納部の間口から挿入し、タイヤ収納部の例えば後部にスペアタイヤを起立させた状態で仮置きし、その後に、スペアタイヤを、前方に倒すことによって、収納される状態に移行させる。そのため、仮置き時には、タイヤ収納部の後部でスペアタイヤの自重による荷重が作用する。
【0006】
上記例の構造では、スペアタイヤを仮置きするときに、凹部の後方側に位置する周辺部に局所的に荷重が作用する。そのため、当該周辺部が変形する可能性がある。周辺部に作用する荷重を低減させるために、作業者はスペアタイヤにより下方に作用する荷重の一部を受けた状態で、スペアタイヤを仮置きする必要がある。この場合、スペアタイヤの設置作業は、作業者に強い腕力が要求される場合がある。
【0007】
特に、上記例のように、スペアタイヤを起立状態で仮置きした後に、所定の傾斜方向を維持するように、前方に倒すときには、スペアタイヤの姿勢を維持しつつ、ブラケットに取り付ける必要がある。この場合、水平状態で収納する場合よりも、作業者により強い腕力が要求される場合がある。そのため、上記例の構造には、スペアタイヤを設置するときに、または、タイヤ収納部から取り出すときに、作業者に求める腕力を低減させようとする上で、改善の余地があった。
【0008】
本発明は上記課題を解決するためになされたものであって、その目的は、スペアタイヤをタイヤ収納部に出し入れする作業性を向上させることが可能な車両後部構造を提供することである。
【課題を解決するための手段】
【0009】
上記目的を達成するための本発明に係る車両後部構造は、車両後部に位置するフロア部にスペアタイヤが収納される収納部が設けられている。当該車両後部構造において、前記収納部には、前記収納部の底部から上方に突出し、前記スペアタイヤが着脱可能なタイヤ設置部が設けられ、前記収納部には、前記タイヤ設置部の後方側に位置する前記底部に接合される接合面部を有するブラケットが設けられ、前記接合面部の車幅方向両外側部の少なくとも一部は、車幅方向中間部によりも上方に位置し、前記スペアタイヤの外周面が前記接合面部の車幅方向両外側部、又は、前記接合面部の車幅方向両外側部の間に当接した状態で、前記タイヤ設置部に前記スペアタイヤが設置されるように構成されている。
【発明の効果】
【0010】
本発明によれば、スペアタイヤをタイヤ収納部に出し入れする作業性を向上させることが可能である。
【図面の簡単な説明】
(【0011】以降は省略されています)
この特許をJ-PlatPat(特許庁公式サイト)で参照する
関連特許
スズキ株式会社
車両構造
11日前
スズキ株式会社
車両構造
11日前
スズキ株式会社
車両構造
11日前
スズキ株式会社
車両構造
11日前
スズキ株式会社
車両構造
11日前
スズキ株式会社
車室構造
11日前
スズキ株式会社
車室構造
11日前
スズキ株式会社
車両構造
11日前
スズキ株式会社
車室構造
11日前
スズキ株式会社
車両構造
11日前
スズキ株式会社
車両構造
11日前
スズキ株式会社
燃料電池車両
19日前
スズキ株式会社
車両後部構造
5日前
スズキ株式会社
車両検査装置
6日前
スズキ株式会社
燃料電池車両
19日前
スズキ株式会社
車体ルーフ構造
11日前
スズキ株式会社
車両の制御装置
25日前
スズキ株式会社
車両用制御装置
6日前
スズキ株式会社
車両用送風構造
26日前
スズキ株式会社
車両用送風構造
26日前
スズキ株式会社
車両用送風構造
26日前
スズキ株式会社
車両の制御装置
4日前
スズキ株式会社
車両用荷室構造
11日前
スズキ株式会社
衝突被害軽減装置
18日前
スズキ株式会社
車両の可動ゲート
今日
スズキ株式会社
内燃機関の制御装置
1か月前
スズキ株式会社
車両の制御システム
18日前
スズキ株式会社
電動車両の後部構造
5日前
スズキ株式会社
電動車両の後部構造
5日前
スズキ株式会社
車両の照明制御装置
19日前
スズキ株式会社
車両の熱害防止構造
19日前
スズキ株式会社
車両の制御システム
18日前
スズキ株式会社
キャブオーバー型車両
今日
スズキ株式会社
梱包対象物の緩衝構造
18日前
スズキ株式会社
車両用リアバンパ構造
7日前
スズキ株式会社
梱包対象物の緩衝部材
18日前
続きを見る
他の特許を見る